2016 Physics paper 1
SECTION A:
(25 marks) Answer all the questions in this section in the spaces provided 1.
State what mechanics as a branch of physics deals with. (1 mark)
2. Figure 1 shows a change in volume of water in a measuring cylinder when an irregular solid is immersed in it.

3. When a drop of an organic acid of known volume is dropped on the surface of water in a large trough, it spreads to form a large circular patch, State one assumption made when the size of the molecule of the acid is estimated by determining the area of the patch. (I mark)
4. Figure 2(a) and 2(b) show capillary tubes inserted in water and mercury respectively. Water

It is observed that in water the meniscus in the capillary tube is higher than the meniscus in the beaker, while in mercury the meniscus in the capillary tube is lower than the meniscus in the beaker. Explain these observations. (3 marks)
5. Figure 3 shows a hot water bath with metal rods inserted through one of its ends. Some candle wax is fixed at the end of each rod.
Use this information to answer questions 5(a) and 5(b).

(b) Besides the length of the rods that is kept constant, what else should be kept constant when comparing the property for the different metal rods? (1 mark )
6. Figure 4 shows a uniform light bar resting horizontally on corks floating on water in two beakers A and B.

7. Figure 5 shows an aluminium tube tightly stuck in a steel tube.

8. (a) An aeroplane is moving horizontally through still air at a uniform speed.
It is observed that when the speed of the plane is increased, its height above the ground increases. State the reasons for this observation. (1 mark)
(b) Figure 6 shows parts A, B and C of a glass tube.

9. The three springs shown in Figure 7 arc identical and have negligible weight. The extension produced on the system of springs is 20cm.

10. Figure 8 shows two cylinders of different cross-sectional areas connected with a tube. The cylinders contain an incompressible fluid and are fitted with pistons of cross-sectional areas 4 cm2 and 24 cm2.

11. Figure 9 shows a uniform cardboard in the shape of a parallelogram.

12. State why it is easier to separate water into drops than to separate a solid into smaller pieces.
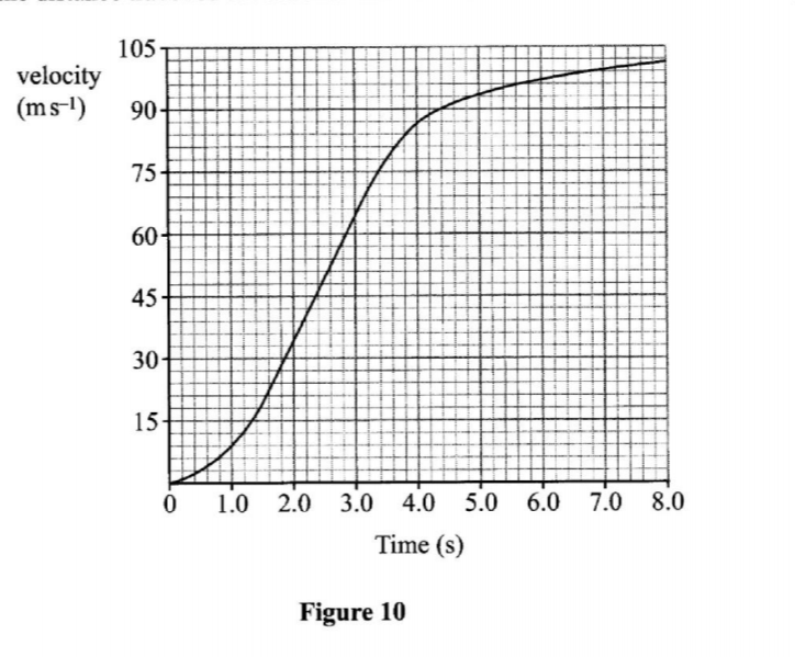
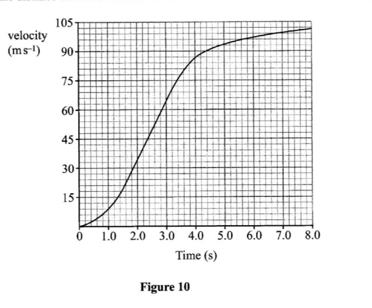
13. The graph in Figure 10 shows the velocity of a car in the first 8 seconds as it accelerates from rest along a straight line. >

SECTION B:
(55 marks) Answer all the questions in this section in the spaces provided.
14. (a) Explain why it is advisable to use a pressure cooker for cooking at high altitudes. (2 marks)
(b) Water of mass 3.0 Kg at 20°C is heated in an electric kettle rated 3.0KW. The water is heated until it boils at 100°C.
Given that the specific heat capacity of water = 4200J Kg-1 K-', heat capacity of the kettle = 450.1K-1, specific latent heat of vaporisation of water = 2.3 M.T Kg-1.
Determine:
(i) the heat absorbed by the water. (3 marks)
(ii) heat absorbed by the electric kettle. (2 marks)
(iii) the time taken for the water to boil. (3 marks)
(iv) how much longer it will take to boil away all the water. (3 marks)
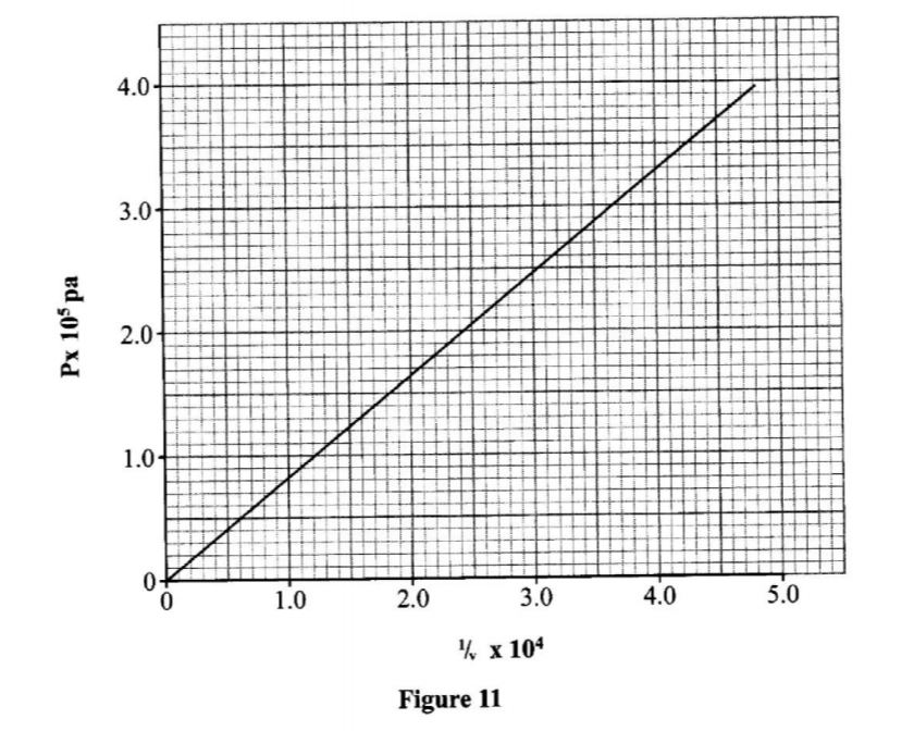
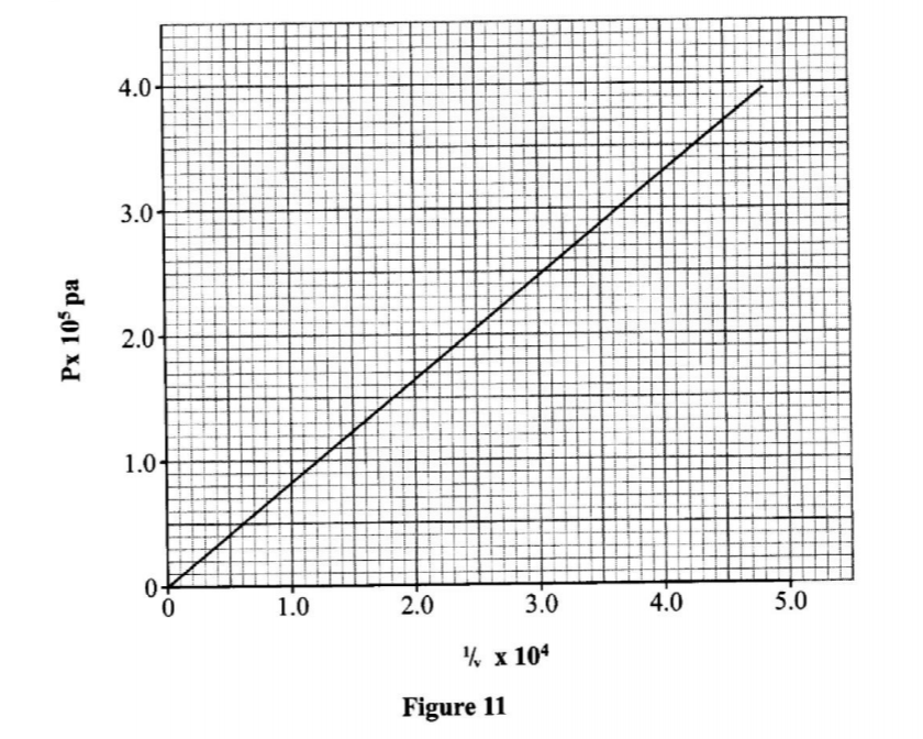
15. (a) State the meaning of the term ideal gas. (1 mark)
(b) The pressure acting on a gas in a cylinder was changed steadily while the temperature of the gas was maintained constant. The value of volume V of the gas was measured for various values of pressure. The graph in Figure 11 shows the relation between the pressure P, and the reciprocal of volume, Vv.

(ii) Given that the relation between the pressure P1 and the volume, V1 of the gas is given by Pv = K, where K is a constant, use the graph to determine the value of K. (4 marks)
(iii) What physical quantity does K represent? (1 mark)
(iv) State one precaution you would take when performing such an experiment. (1 mark)
(c) A gas occupies a volume of 4000 litres at a temperature of 37°C and normal atmospheric pressure. Determine the new volume of the gas if it is heated at constant pressure to a temperature of 67°C (Normal atmospheric pressure, P = 1.01 X 105 Pa). (4 marks)
16. (a) Define the term velocity ratio of a machine. (1 mark)
(b) Figure 12 shows part of a hydraulic press. The Plunger is the piston where effort is applied while the Ram piston is the position where the load is applied. The Plunger has cross-section area a m2 while the Ram piston has cross-section, A m2.

(c) A machine of velocity ratio 45 overcomes a load of 4.5 X 103N when an effort of 135N is applied. Determine:
(i) the mechanical advantage (M.A) of the machine; (2 marks)
(ii) efficiency of the machine; (2 marks)
(iii) the percentage of the work that goes to waste. (1 mark)
17. (a) When a bus goes round a bend on a flat road, it experiences a centripetal force. State what provides the centripetal force. (1 mark)
(b) State the purpose of banking roads at bends. (2 marks)
(i) Determine the slope, s, of the graph. (2 marks)
(ii) Given that U-2 = 20 kd, where k is constant for the bench surface, determine the value of k from the graph. (2 marks)
(c) A car of mass 800Kg starts from rest and accelerates at 1.2 ms-2.
Determine its momentum after it has moved 400 m from the starting point. (3 marks)
Questions and Answers
2016 Physics paper 1


















Secondary School Scholarships in Kenya » Kenya Postgraduate Scholarships » Undergraduate Scholarships for Kenyan Students » Kenya Scholarships for Kenyan Students Studying in Kenya » Kenya Undergraduate Scholarships » The Kenya Youth Education Scholarship Fund - Scholarships Kenya - Scholarships KCSE Results » KCSE Results Top 100 Schools - Kenya Certificate of Secondary Education – KCSE » KCSE Top 100 Candidates » Kenya Certificate of Secondary Education – KCSE » KNEC - Kenya National Examinations Council » Secondary Schools in Kenya » KNEC - Kenya National Examinations Council » Free KNEC KCSE Past Papers
Kenya Scholarships for Undergraduate Students » Kenya Scholarships for Postgraduate Students » Undergraduate Scholarships for Kenyan Students » Kenya Undergraduate Scholarships » Full Undergraduate Scholarships for Kenyans » Kenya Postgraduate Scholarships » Scholarships & Grants » Undergraduate Scholarships » Universities in Kenya » Kenya Universities and Colleges Central Placement Service (KUCCPS) » Colleges in Kenya » KASNEB Registration & Results » Secondary Schools Scholarships in Kenya » Undergraduate & Graduate Scholarships for Kenyans
Powerful Motivational Quotes for Students » Success Quotes for Students » KCSE Motivational Quotes for KCSE Candidates » KCSE Success Quotes for KCSE Candidates
1 a a kcse past papers 2014 kcse marking schemes 2016 kcse papers 2016 kcse prediction questions 2018 kcse exam 2018 kcse questions a a kcse past papers advance-africa.com kcse rev quiz agriculture mock papers agriculture paper 2 questions and answers pdf alliance mocks 2017 ap biology essay questions and answers arabic exam 2016 arabic oral exam questions betrayal in the city essay questions and answers pdf betrayal in the city essay questions with answers betrayal in the city, ,,revision questions biology book 3 klb biology essay questions and answers form 4 biology essay questions and answers form 4 pdf biology essays pdf biology exam questions and answers pdf biology form 2 questions and answers pdf biology form 3 notes pdf biology form 3 questions and answers pdf biology form 3 syllabus biology form three reproduction biology form three-questions and answers biology kcse - kcse biology questions and answers - kcse biology essay questions and answers - kcse biology paper 1 2015 - kcse biology notes - kcse 2015 biology paper 2 - kcse biology practical 2015 - kcse biology practicals - kcse biology 2011
biology kcse 2017 biology kcse questions biology paper 1 questions and answers biology paper 2 questions and answers biology paper 3 questions and answers biology questions and answers for high schools biology questions and answers for high schools pdf biology questions and answers form 2 biology questions and answers multiple choice biology questions and answers on cells biology questions and answers online biology questions and answers pdf biology revision notes form 3 business past kcse past papers c.r.e form one notes pdf cambridge igcse computer science cambridge igcse computer science answers cambridge igcse computer science coursebook pdf download cambridge igcse computer science revision guide pdf cambridge igcse computer science study and revision guide pdf cambridge igcse computer science workbook - free download cambridge igcse computer science workbook pdf caucasian chalk circle essay questions chemistry paper 1 questions and answers chemistry paper 2 questions and answers chemistry paper 3 question and answer chemistry past papers form 1 chemistry past papers form 2 cie past papers computer science 0478 computer science igcse past papers xtremepapers computer science paper 2 2017 computer science past papers a level computer science past papers o level computer studies form 1 questions computer studies form 3 past papers computer studies past papers computer studies questions and answers pdf county mocks 2017 cre form 2 notes pdf cre form 3 notes cre form 3 notes pdf cre form 4 notes cre form 4 notes pdf cre form one notes cre kcse 2016 cre notes cre notes form 2 cre notes pdf cre paper 1 with answers cre paper 2 cre paper 2 topics cre preparation notes cre questions form one cre revision notes cre revision questions and answers download kcse past papers with answers dvance kcse past papers edexcel igcse computer science past papers english paper 3 question paper - 2014 kcse english paper 3 question paper - 2015 kcse english paper 3 question paper - 2016 kcse english paper 3 question paper - 2017 kcse english paper 3 question paper - 2018 kcse essay questions and answers on betrayal in the city essay questions based on betrayal in the city find download kcse past papers with answers - kcse past papers pdf download - kcse 2013 marking scheme - kcse mathematics past papers pdf - free kcse past papers and marking schemes - kcse mock papers pdf - kcse past papers 2014 pdf - kcse past papers 2015 - kcse past papers 2010 find kcse biology essay questions and answers - kcse biology practicals - kcse biology paper 1 2015 - biology essay questions and answers form 4 - kcse biology questions and answers - ap biology essay questions and answers - kcse biology notes - kcse biology paper 2 2012 - kcse biology paper 2 2015
form 2 biology questions and answers free kcse mocks 2015 free kcse past papers - kcse past papers - knec kcse online past papers - knec kcse results past papers free kcse past papers 2014 free kcse past papers kenya, free marking schemes, download ... free kcse past papers with answers free kcse questions and answers on chemistry free revision papers general biology test questions and answers general science questions and answers pdf history and government paper one topics history form one questions and answers pdf history paper 1 questions and answers history paper 2 questions and answers home science past papers igcse computer science book igcse computer science book pdf download igcse computer science notes igcse computer science paper 2 notes igcse computer science past papers igcse computer science past papers 2014 igcse computer science past papers 2017 igcse computer science pdf igcse computer science pre release material 2018 igcse computer science resources igcse computer science revision notes pdf igcse computer science workbook pdf igcse computer studies past papers interesting biology questions ire kcse past papers k.c.s.e cre paper 1 2017 k.c.s.e geography 2017 k.c.s.e mathematics paper 1 2017 k.c.s.e mocks 2018 k.c.s.e past papers 2014 kcpe 2018 predictions kcpe prediction questions kcse 2010 marking scheme kcse 2010 past papers kcse 2011 cre paper 1 kcse 2011 marking scheme kcse 2012 history paper 2 marking scheme kcse 2012 marking schemes kcse 2013 cre paper 1 kcse 2013 marking scheme kcse 2013 marking scheme pdf kcse 2014 kcse 2015 biology paper 2 kcse 2015 biology paper 3 kcse 2015 marking scheme kcse 2015 past papers kcse 2016 agriculture paper 2 kcse 2016 biology paper 1 kcse 2016 biology paper 2 kcse 2016 computer paper 1 kcse 2017 marking scheme kcse 2017 maths paper 1 kcse 2017 papers kcse 2017 papers and marking scheme kcse 2017 past papers kcse 2017 prediction pdf kcse 2018 cre prediction kcse 2018 leakage kcse 2018 marking scheme kcse 2018 papers kcse 2018 predictions kcse 2019 marking scheme kcse agriculture past papers kcse answers kcse arabic paper 1 kcse arabic paper 2 kcse arabic paper 3 kcse arabic paper 3 2016 kcse arabic past papers kcse biology 2011 kcse biology essay questions and answers kcse biology essay questions and answers - kcse revision questions and answers - kcse chemistry questions and answers - kcse revision papers with answers - kcse past papers with answers - download kcse past papers with answers - kcse questions on the river and the source - kcse revision notes
kcse biology essay questions and answers - kcse revision questions and answers - kcse chemistry questions and answers - kcse revision papers with answers - kcse past papers with answers - download kcse past papers with answers - kcse questions on the river and the source - kcse revision notes
kcse biology essay questions and answers pdf kcse biology essays kcse biology essays pdf kcse biology notes kcse biology paper 1 kcse biology paper 1 2017 kcse biology paper 1 2017 pdf kcse biology paper 2 2012 kcse biology paper 2 2015 kcse biology paper 2 2017 kcse biology paper 3 2016 kcse biology paper 3 past papers kcse biology past papers kcse biology past papers and answers kcse biology practical 2016 kcse biology practical past papers kcse biology practicals kcse biology questions and answers kcse biology questions and answers - kcse past papers biology - kcse biology essay questions and answers - kcse chemistry past papers - download kcse past papers with answers - k.c.s.e papers 2015 - k.c.s.e papers 2016 - kcse biology paper 1 2015 - kcse past papers 2015 - kcse past papers 2011 - kcse past papers 2016 - kcse past papers 2017 - 2017 kcse prediction questions - 2018 kcse prediction questions
kcse business paper 1 2016 kcse business past papers kcse business studies past papers kcse chemistry paper 1 2016 kcse chemistry paper 1 2017 kcse chemistry paper 3 2012 kcse chemistry past papers kcse chemistry past papers and answers kcse chemistry practical kcse computer studies paper 1 kcse computer studies paper 2 kcse computer studies paper 2 pdf kcse cre 2016 kcse cre paper 1 2013 kcse cre paper 1 2015 kcse cre paper 1 2016 kcse cre paper 1 2017 kcse cre paper 2 kcse cre paper 2 2016 kcse cre past papers kcse cre past papers and answers kcse english paper 3 2016 kcse english paper 3 2017 kcse essay questions in betrayal in the city kcse exam papers 2018 kcse exam papers answers kcse french paper 1 kcse french paper 2 kcse french past papers kcse general science syllabus kcse geography paper 2 2016 kcse history paper 1 2012 kcse history paper 2 2016 kcse history paper 2 2017 kcse kiswahili paper 1 2017 kcse marking scheme 2016 kcse marking schemes kcse marking schemes 2017 kcse marking schemes pdf kcse mathematics marking schemes kcse mathematics paper 1 2015 kcse mathematics paper 1 2016 kcse mathematics paper 2 2016 kcse mathematics past papers kcse mathematics past papers pdf kcse mock exams kcse mock papers 2015 kcse mock papers 2017 kcse mock papers 2018 kcse mock papers pdf kcse mock papers pdf 2018 kcse mocks 2017 kcse mocks 2018 kcse music past papers kcse online past papers kcse papers 2015 kcse past papers kcse past papers - kcpe and answers - free mocks online - kcse answers past exams question papers - downloads | kcse papers and marking schemes | exams - kcse mathematics paper 1 questions and answers - kcse cre paper 1 questions and answers - knec past papers free downloads - kcse online registration - kcpe - kcse past papers - knec - knec portal - knec past papers for colleges - kasneb - past papers - kasneb past papers for colleges - cpa past papers - https://www.knec.ac.ke/ - www.knec-portal.ac.ke/ - knec portal: kcse results, online registration, kcse result slip. knec portal confirmation - knec portal kcse results - knec examiners portal - knec website kcse past papers - kcpe and answers - free mocks online - kcse answers past exams question papers - downloads | kcse papers and marking schemes | exams - kcse mathematics paper 1 questions and answers - kcse cre paper 1 questions and answers
kcse past papers 2007 kcse past papers 2009 kcse past papers 2010 kcse past papers 2011 kcse past papers 2011 pdf kcse past papers 2012 kcse past papers 2013 kcse past papers 2013 -knec kcse past papers 2014 kcse past papers 2014 pdf kcse past papers 2015 kcse past papers 2015 marking schemes kcse past papers 2015 pdf kcse past papers 2016 kcse past papers 2016 pdf kcse past papers 2017 kcse past papers 2017 pdf kcse past papers agriculture and answers kcse past papers arabic and answers kcse past papers art and design and answers kcse past papers biology kcse past papers building and construction and answers kcse past papers business studies and answers kcse past papers chemistry kcse past papers chemistry and answers kcse past papers chemistry pdf kcse past papers computer studies and answers kcse past papers cre and answers kcse past papers electricity and answers kcse past papers english and answers kcse past papers french and answers kcse past papers general science and answers kcse past papers geography and answers kcse past papers german and answers kcse past papers history and government and answers kcse past papers home science and answers kcse past papers hre and answers kcse past papers ire and answers kcse past papers kenya sign language and answers kcse past papers kiswahili and answers kcse past papers marking scheme kcse past papers maths kcse past papers metal work and answers kcse past papers music and answers kcse past papers pdf download kcse past papers physics and answers kcse past papers physics with answers kcse past papers power mechanics and answers kcse past papers with answers kcse past papers woodwork and answers kcse physics past papers kcse prediction 2017 kcse prediction 2018 kcse prediction 2018 pdf kcse prediction papers 2018 kcse prediction questions 2018 kcse prediction questions and answers kcse questions and answers kcse questions and answers. download free kcse past papers from knec. all marking schemes - questions and answers are sourced from knec. kcse revision kcse revision papers 2014 kcse revision | secondary school | text books | text book centre kcse trial 2017 kcse trial exams 2017 kenyaplex kcse past papers kenyaplex past papers for secondary kiswahili paper 3 questions and answers klb biology form 3 pdf klb cre form 1 klb cre form 3 knec ict past papers knec past papers for colleges knec past papers free download knec past papers pdf knec revision papers knec technical exams past papers kusoma.com past papers maths kcse 2017 mock past papers 2017 mock past papers with answers mokasa mock 2017 page navigation papacambridge computer science igcse past kcse papers past papers in kenya pre mocks 2018 pte knec past papers revision sample essays on betrayal in the city school biology notes school geography notes school physics notes school river and the source themes used in betrayal in the city xtremepapers igcse computer science z notes computer science igcse
"Pdf" Revision Questions Physics Form 1 "Pdf" Revision Questions Physics Form 2 "Pdf" Revision Questions Physics Form 3 "Pdf" Revision Questions Physics Form 4 "Pdf" Revision Questions Physics Form Four "Pdf" Revision Questions Physics Form One "Pdf" Revision Questions Physics Form Three "Pdf" Revision Questions Physics Form Two 1 a a KCSE Past Papers 10th Grade Physics Questions and Answers 10th Grade Physics Test 11th Ncert Physics 12th Class Physics Book Free Download 2014 KCSE Marking Schemes 2014 Pdf KCSE Past Papers 2015 2015 Physics Essay Questions and Answers Form 4 2016 KCSE Papers 2016 KCSE Prediction Questions 2017 Physics Hsc Answers 2017 KCSE Prediction Questions 2018 Physics KCSE Leakage 2018 Physics KCSE Questions 2018 KCSE Busineness Studies 2018 KCSE Exam 2018 KCSE Leakage 2018 KCSE Prediction Questions 2018 KCSE Questions 2019 Physics KCSE Leakage 2019 Physics KCSE Questions 2019 KCSE Leakage 2019 KCSE Questions 9th Grade Physics Study Guide A a a Physics Notes a a a Physics Notes! a a a PhysicsNotes! A a KCSE Past Papers A Biblical View of Social Justice A Level Physics Biological Molecules Questions A Level Physics Exam Questions by Topic A Level Physics Notes Edexcel A Level Physics Notes Xtremepapers A Level Physics Past Papers A Level Physics Questions and Answers a Level Physics Questions and Answers A Level Physics Questions and Answers (Pdf) A Level Physics Questions and Answers Pdf A Level Physics Questions by Topic Kidney Questions With Markschemes A Level Physics Revision A Level Physics Revision Edexcel A Level Physics Revision Guide A Level Physics Revision Notes A Level Physics Revision Notes Pdf A Level Physics Textbook Pdf A Level Physics Year 1 / as Aqa Exam Questions by Topic A Level Edexcel Notes a* Physics aa Physics Form 3 Questions and Answers Advance KCSE Past Papers Advance-africa.com KCSE Rev Quiz Advantages and Disadvantages. All Physics Essays All Physics Notes for Senior Two All KCSE Past Papers Physics With Making Schemes All Marking Schemes Questions and Answers All Past K.c.s.e Questions With Answers Alliance Mocks 2017 Ap Bio Quizzes Ap Physics 1 Textbook Pdf Ap Physics Essay Questions and Answers Are Sourced From KNEC. As Level Physics Notes Atika Physics Notes Atika School Physics Notes B/s Book 2 Notes Basic Physics Books Pdf basic Physics Interview Questions and Answers Pdf Basic Physics Interview Questions and Answers Pdf Basic Physics Pdf Basic Physics Questions and Answers Basic Physics Questions and Answers Pdf Bbc Bitesize Physics Ks3 Bihar Board Physics Objective Answer 2017 Bihar Board Physics Objective Answer 2018 Bio Answers Bio Quesions Physics 0478 Physics 101 Physics 12th Physics 12th Class Notes Pdf Physics 2019 Syllabus Physics All KCSE Short Notes Physics Answers Physics Answers Online Free Physics Answers Quizlet Physics Bk 2 Notes Physics Book 1 Physics Book 1 Notes Physics Book 2 Physics Book 2 Notes Physics Book 3 Physics Book 3 KLB Physics Book 3 Notes Physics Book 4 Physics Book 4 Notes Physics Book 4 Pdf Physics Book for Class 11 Physics Book Four Physics Book Four Notes Physics Book One Physics Book One Notes Physics Book Pdf Free Download Physics Book Three Physics Book Three Notes Physics Book Three Pdf Physics Book Two Physics Book Two Notes Physics Books Form Three Physics Bowl Physics Study Guide Physics Bowl Questions Physics Physics Bowl Questions Earth Physics Physics Bowl Questions Math Physics Bowl Questions Middle School Physics Brekthrough Form Two Notes Physics Class 12 Ncert Solutions Physics Class 12 Pdf Physics Communication Syllabus Physics Diagram Software Physics Diagrams for Class 11 Physics Diagrams for Class 12 Physics Diagrams for Class 9 Physics Diagrams for Class-10 Physics Diagrams in Form 1 Physics Diagrams in Form 2 Physics Diagrams in Form 3 Physics Diagrams in Form 4 Physics Diagrams Pdf Physics Diagrams to Label Physics Essay Questions and Answers Physics Essay Questions and Answers 2018 Physics Essay Questions and Answers Form 1 Physics Essay Questions and Answers Form 2 Physics Essay Questions and Answers Form 3 Physics Essay Questions and Answers Form 4 Physics Essay Questions and Answers Form 4 Pdf Physics Essay Questions and Answers Pdf Physics Essay Revision Q Physics Essays and Answers Physics Essays Form One to Form Four Physics Essays Form One to Form Three Physics Essays KCSE Physics Essays Pdf Physics Exam 1 Multiple Choice Physics Exam 2 Advance Physics Exam 2 Test Physics Exam 2016 Physics Exam Form Four Physics Exam Form One Physics Exam Form Three Physics Exam Form Two Physics Exam Practice Test Physics Exam Questions Physics Exam Questions and Answers Physics Exam Questions and Answers Pdf Physics Exam Study Guide Physics Exams Physics Excretion Notes Physics Exercise Form 4 With Answers Physics Final Exam Answer Key Physics Final Exam Answer Key 2016 Physics Final Exam Answer Key 2017 Physics Final Exam Answers 2018 Physics Final Exam Answers 2019 Physics Final Exam Questions and Answers Physics Fom 1 Notes Physics Fom 2 Notes Physics Fom 3 Notes Physics Fom 4 Notes Physics Form 1 Physics Form 1 & 2 and Answers Physics Form 1 and 2 Essays Physics Form 1 and 2 Essays Questions and Answers Physics Form 1 Chapter 1 Physics Form 1 Diagrams Physics Form 1 Exams Physics Form 1 Mid Year Exam Physics Form 1 Notes Physics Form 1 Notes and Questions Physics Form 1 Notes Download Physics Form 1 Notes Free Download Physics Form 1 Notes GCSE Physics Form 1 Notes KCSE-kcse Physics Form 1 Notes Pdf Physics Form 1 Notes Pdf Download Physics Form 1 Past Papers Physics Form 1 Pdf Physics Form 1 Pressure Physics Form 1 Question Papers Physics Form 1 Questions Physics Form 1 Questions and Answers Physics Form 1 Questions and Answers Pdf Physics Form 1 Quiz Physics Form 1 Revision Questions Physics Form 1 Summary Notes Physics Form 1 Syllabus Physics Form 1 Work Physics Form 1-4 Notes Physics Form 2 Physics Form 2 Chapter 1 Physics Form 2 Chapter 2 Physics Form 2 Diagrams Physics Form 2 Exam Paper 2014 Physics Form 2 Exams Physics Form 2 Notes Physics Form 2 Notes and Questions Physics Form 2 Notes GCSE Physics Form 2 Notes KCSE-kcse Physics Form 2 Notes Pdf Physics Form 2 Notes Pdf Download Physics Form 2 Past Papers Physics Form 2 Pdf Physics Form 2 Question Papers Physics Form 2 Questions Physics Form 2 Questions and Answers Physics Form 2 Questions and Answers Pdf Physics Form 2 Quiz Physics Form 2 Revision Notes Physics Form 2 Salts Physics Form 2 Structure and Bonding Physics Form 2 Summary Notes Physics Form 2 Syllabus Physics Form 2 Work Physics Form 3 Physics Form 3 and 4 Essays Physics Form 3 and 4 Essays Questions and Answers Physics Form 3 Chapter 3 Physics Form 3 Classification Physics Form 3 Diagrams Physics Form 3 Ecology Physics Form 3 Exams Physics Form 3 Notes Physics Form 3 Notes and Questions Physics Form 3 Notes GCSE Physics Form 3 Notes KCSE-kcse Physics Form 3 Notes Pdf Physics Form 3 Notes Pdf Download Physics Form 3 Notes Topic 1 Physics Form 3 Past Papers Physics Form 3 Pdf Physics Form 3 Question Papers Physics Form 3 Questions Physics Form 3 Questions and Answers Physics Form 3 Questions and Answers Pdf Physics Form 3 Questions and Answers Term 3 Physics Form 3 Questions and Answers+pdf Physics Form 3 Quiz Physics Form 3 Revision Notes Physics Form 3 Revision Questions Physics Form 3 Summary Notes Physics Form 3 Syllabus Physics Form 3 Syllabus Pdf Physics Form 3 Topics Physics Form 3 Work Physics Form 4 Physics Form 4 All Chapter Physics Form 4 Chapter 1 Conversion of Units Physics Form 4 Chapter 1 Exercise Physics Form 4 Chapter 1 Exercise and Answers Physics Form 4 Chapter 1 Exercise Pdf Physics Form 4 Chapter 1 Mind Map Physics Form 4 Chapter 2 Physics Form 4 Chapter 2 Exercise and Answers Physics Form 4 Chapter 2 Exercise Pdf Physics Form 4 Chapter 2 Experiment Physics Form 4 Chapter 2 Formula Physics Form 4 Chapter 2 Mind Map Physics Form 4 Chapter 2 Momentum Physics Form 4 Chapter 2 Notes Pdf Physics Form 4 Chapter 2 Objective Questions and Answers Physics Form 4 Chapter 2 Paper 2 Physics Form 4 Chapter 2 Slideshare Physics Form 4 Chapter 3 Physics Form 4 Chapter 3 Questions and Answers Physics Form 4 Chapter 4 Physics Form 4 Chapter 4 Notes Pdf Physics Form 4 Chapter 5 Light Questions and Answers Physics Form 4 Chapter 5 Notes Pdf Physics Form 4 Diagrams Physics Form 4 Exam Paper 1 Physics Form 4 Exams Physics Form 4 Exercise Physics Form 4 Exercise Pdf Physics Form 4 Module With Answer Physics Form 4 Note Physics Form 4 Notes Physics Form 4 Notes (Pdf) Physics Form 4 Notes All Chapter Pdf Physics Form 4 Notes and Questions Physics Form 4 Notes Chapter 1 Physics Form 4 Notes Chapter 2 Physics Form 4 Notes Chapter 3 Physics Form 4 Notes Download Physics Form 4 Notes Free Download Physics Form 4 Notes GCSE Physics Form 4 Notes KCSE-kcse Physics Form 4 Notes Pdf Physics Form 4 Notes Pdf Download Physics Form 4 Paper 2 Questions and Answers Physics Form 4 Past Papers Physics Form 4 Question Papers Physics Form 4 Questions Physics Form 4 Questions and Answers Physics Form 4 Questions and Answers Pdf Physics Form 4 Quiz Physics Form 4 Revision Notes Physics Form 4 Schemes of Work Physics Form 4 Summary Notes Physics Form 4 Syllabus Physics Form 4 Textbook Pdf Physics Form 4 Work Physics Form 5 Chapter 1 Exercise and Answers Physics Form 5 Chapter 1 Notes Pdf Physics Form 5 Chapter 2 Notes Pdf Physics Form 5 Chapter 2 Slideshare Physics Form 5 Chapter 3 Notes Pdf Physics Form 5 Notes Pdf Physics Form Four Book Physics Form Four Notes Physics Form Four Notes and Questions Physics Form Four Notes GCSE Physics Form Four Notes Pdf Physics Form Four Past Papers Physics Form Four Questions Physics Form Four Questions and Answers Physics Form Four Questions and Answers Pdf Physics Form Four Quiz Physics Form Four Study Notes Physics Form Four Syllabus Physics Form Four Topic 2 Physics Form Four Topic 4 Physics Form Four Topics Physics Form Four Work Physics Form One Physics Form One Book Physics Form One Book Pdf Physics Form One Download Topic 1 Upto 3 Physics Form One Exam Physics Form One Notes Physics Form One Notes and Questions Physics Form One Notes GCSE Physics Form One Notes Pdf Physics Form One Pdf Physics Form One Questions Physics Form One Questions and Answers Physics Form One Questions and Answers Pdf Physics Form One Questions and Their Answers Physics Form One Quiz Physics Form One Revision Question Physics Form One Schemes of Work Physics Form One Study Notes Physics Form One Syllabus Physics Form One Term Three Test Physics Form One to Three Notes Physics Form One Work Physics Form Three Physics Form Three Book Physics Form Three Notes Physics Form Three Notes and Questions Physics Form Three Notes GCSE Physics Form Three Questions and Answers Physics Form Three Questions and Answers Pdf Physics Form Three Quiz Physics Form Three Reproduction Physics Form Three Reproduction. Physics Form Three Study Notes Physics Form Three Work Physics Form Three-questions and Answers Physics Form Two Physics Form Two Book Physics Form Two Diagrams Physics Form Two Notes Physics Form Two Notes and Questions Physics Form Two Notes GCSE Physics Form Two Notes Pdf Physics Form Two Notes-pdf Physics Form Two Pdf Physics Form Two Questions Physics Form Two Questions and Answers Physics Form Two Questions and Answers Pdf Physics Form Two Quiz Physics Form Two Study Notes Physics Form Two Topics Physics Form Two Work Physics Form Two,schemes of Work Physics Form2 Physics Form2 Textbook Physics Game Form Four Question End Answers Physics Grade 10 Exam Papers Physics Hsc Pdf Physics Human Reproduction Video Physics IGCSE Past Papers Xtremepapers Physics K.c.s.e 2017 Physics KCSE Physics KCSE 2016 Physics KCSE 2017 Physics KCSE 2017 Paper 1 Physics KCSE Past Papers Physics KCSE Questions Physics KCSE Questions and Answer Physics KCSE Quizzes & Answers Physics KCSE Revision Physics KCSE Revision Notes Physics KCSE Setting Questions Form One and Two Physics Ksce 2015 Physics Last Year K.c.s.e Questions Physics Lesson Plan Form Two Physics Made Familiar Physics Mcq for Class 11 Physics Mcq for Class 12 Physics Mcq for Competitive Exams Physics Mcq for Competitive Exams Pdf Physics Mcq for Neet Pdf Physics Mcq for Ssc Physics Mcq Questions With Answers Physics Mcq With Answers Pdf Physics Mcqs for Class 12 Pdf Physics Mcqs With Answers Pdf Physics Mid Familia Form One Physics Mock Papers Physics Module Form 5 Physics Multiple Choice Questions and Answers Cxc Physics Multiple Choice Questions and Answers Pdf Physics Multiple Choice Questions With Answers Pdf Physics Note Physics Note Form Two All Chapters Physics Notes Physics Notes and Guestion and Answear Physics Notes and Syllabus Physics Notes Class 10 Physics Notes for Class 11 Pdf Physics Notes for Class 12 Pdf Physics Notes for High School Students Physics Notes for IGCSE 2014 Physics Notes Form 1 Physics Notes Form 1 4 Physics Notes Form 1 Free Download Physics Notes Form 1 KLB Physics Notes Form 1 Pdf Physics Notes Form 1-4 Physics Notes Form 1-4(1) Physics Physics Notes Form 14 Physics Notes Form 2 Physics Notes Form 2 KLB Physics Notes Form 2 Pdf Physics Notes Form 2; Physics Notes Physics Notes Form 3 Physics Notes Form 3 KLB Physics Notes Form 3 Pdf Physics Notes Form 4 Physics Notes Form 4 Chapter 2 Physics Notes Form 4 KLB Physics Notes Form 4 Pdf Physics Notes Form 4-pdf Physics Notes Form Four Physics Notes Form Four KLB Physics Notes Form Four Pdf Physics Notes Form One Physics Notes Form One KLB Physics Notes Form One Pdf Physics Notes Form One to Form Four Physics Notes Form Three Physics Notes Form Three KLB Physics Notes Form Three Pdf Physics Notes Form Two Physics Notes Form Two KLB Physics Notes Form Two Pdf Physics Notes Form2 Physics Notes IGCSE Physics Notes Kenya Physics Notes on Agroforestry Physics Notes Pdf Physics Notes: Physics Objective Answer Physics Objective Answer 2018 Physics Objective Questions for Competitive Exams Physics Objective Questions for Competitive Exams Pdf Physics Oral Exam Questions Physics Paper 1 Physics Paper 1 2018 Marking Rules Physics Paper 1 Notes Physics Paper 1 Questions Physics Paper 1 Questions and Answers Physics Paper 1 Topics Physics Paper 1 With Answers Physics Paper 2 Physics Paper 2 2017 Physics Paper 2 2018 Marking Rules Physics Paper 2 Questions and Answers Physics Paper 2 Questions and Answers Pdf Physics Paper 2 Revision Physics Paper 2 Topics Physics Paper 2018 Physics Paper 3 2018 Marking Rules Physics Paper 3 Question and Answer Physics Paper 3 Question Paper 2014 KCSE Physics Paper 3 Question Paper 2015 KCSE Physics Paper 3 Question Paper 2016 KCSE Physics Paper 3 Question Paper 2017 KCSE Physics Paper 3 Question Paper 2018 KCSE Physics Paper 3 Questions and Answers Physics Paper One Questions and Answers Physics Paper One Topics Physics Paper Two Qestions With Answers Physics Paper1 Physics Paper2 Physics Paper3 Physics Paper4 Physics Past Papers Physics Past Papers 2017 Physics Past Papers a Level Physics Past Papers Form 1 Physics Past Papers Form 2 Physics Past Papers Form 3 Physics Past Papers O Level Physics Pdf Download Physics Pp1 KCSE 2016 Physics Practical Book Class 12 Pdf Physics Practical Exam Physics Practicals Form One Physics Practicals Questions and Answers Physics Practice Test 9th Grade Physics Practice Test Answers Physics Practice Test Questions and Answers Physics Practice Test Quizlet Physics Predicted Questions This Year KCSE Physics Preparation Notes Physics Pretest High School Pdf Physics Question and Answer With Explanation Physics Question and Answers 2019 Physics Question and Answers 2020 Physics Question and Answers 2021 Physics Question and Answers 2022 Physics Question and Answers Note Physics Questions Physics Questions and Answers Physics Questions and Answers for High School Physics Questions and Answers for High Schools Physics Questions and Answers for High Schools Pdf Physics Questions and Answers for Secondary Schools Physics Questions and Answers Form 1 Physics Questions and Answers Form 2 Physics Questions and Answers Form 3 Physics Questions and Answers Form 4 Physics Questions and Answers Multiple Choice Physics Questions and Answers Notes Physics Questions and Answers O Physics Questions and Answers Online Physics Questions and Answers Pdf Physics Questions and Answers Pdf for Class 12 Physics Questions and Answers Pdf for Competitive Exams Physics Questions and Answers-form 2 Physics Questions for High School Physics Questions for High School Students With Answers Physics Questions for Senior 1 Physics Questions for Senior 2 Physics Questions for Senior 3 Physics Questions for Senior 4 Physics Questions for Senior 5 Physics Questions for Senior 6 Physics Questions for Senior Five Physics Questions for Senior Four Physics Questions for Senior One Physics Questions for Senior Six Physics Questions for Senior Three Physics Questions for Senior Two Physics Questions Form One Physics Questions Multiple Choice Physics Questions Quizlet Physics Questions to Ask Your Teacher Physics Quetion and Answer Form Four Physics Quetion and Answer Form One Physics Quetion and Answer Form Three Physics Quetion and Answer Form Two Physics Quiz for Class 9 Physics Quiz for Class 9 Physics Physics Quiz Questions and Answers for Class 10 Physics Quiz Questions and Answers for Class 10 Pdf Physics Quiz Questions and Answers for Class 12 Physics Quiz Questions and Answers for Class 9 Physics Quiz Questions and Answers for Class 9 Pdf Physics Quiz Questions and Answers for High School Physics Quiz Questions and Answers Multiple Choice Physics Quiz Questions and Answers Pdf Physics Quiz Questions for Class 12 Physics Quiz Questions for College Students Physics Quiz With Answers Physics Quiz With Answers Pdf Physics Quizlet Physics Revision Physics Revision a Level Physics Revision Physics Notes Physics Physics Revision Exam Physics Revision Examination Physics Revision Form One Physics Revision Notes Physics Revision Notes Physics Physics Revision Notes Form 1 Physics Revision Notes Form 2 Physics Revision Notes Form 3 Physics Revision Notes Form 4 Physics Revision Notes IGCSE Physics Revision Paper One Physics Revision Questions Physics Revision Questions and Answers Physics Revision Questions and Answers Form 1 Physics Revision Questions and Answers Form 2 Physics Revision Questions and Answers Form 3 Physics Revision Questions and Answers Form 4 Physics Revision Questions and Answers Form Four Physics Revision Questions and Answers Form One Physics Revision Questions and Answers Form Three Physics Revision Questions and Answers Form Two Physics Revision Questions Form 1 Physics Revision Questions Form 2 Physics Revision Questions Form 3 Physics Revision Questions Form 4 Physics Revision Questions Form Four Physics Revision Questions Form One Physics Revision Questions Form Three Physics Revision Questions Form Two Physics Revision Quiz Physics Revision Test Physics Secondary School Revision Physics Simple Notes Physics Spm Notes Download Physics Spm Notes Pdf Physics Spm Questions Physics Study Form 2 Physics Study Guide Physics Study Guide Answer Key Physics Study Guide Answers Physics Study Guide Physics Questions and Answers Physics Study Guide Ib Physics Study Guide Pdf Physics Study Guides Physics Study Notes Physics Study Notes Materials Form 1 Pdf Physics Study Notes Materials Form 2 3 Pdf Physics Study Notes Materials Form 2 Pdf Physics Study Notes Materials Form 3 Pdf Physics Study Notes Materials Form 4 Pdf Physics Syllabus in Kenya Physics Syllabus Pdf Physics Test 1 Quizlet Physics Test Questions Physics Test Questions and Answers Physics Test Questions and Answers Pdf Physics Topic One Form Four Physics Topics Form One Physics Unit 1 Quiz Physics Vol 3 Physics | Revision Physics Physics,form 4 Physics.form Four.topic Three PhysicsExam Form Three PhysicsModule Form 5 PhysicsNotes PhysicsNotes for Class 11 Pdf PhysicsNotes for Class 12 Pdf PhysicsNotes Form 1 PhysicsNotes Form 1 Free Download PhysicsNotes Form 2 PhysicsNotes Form 3 PhysicsNotes Form 3 Pdf PhysicsNotes IGCSE PhysicsNotes Pdf PhysicsPast Papers PhysicsQuestions and Answers Pdf PhysicsSimple Notes PhysicsSpm Notes Download PhysicsSpm Notes Pdf PhysicsSpm Questions PhysicsStudy Guide Answers PhysicsStudy Guide Pdf PhysicsStudy Guides Blologytextpapers Bridge Physics Business Past KCSE Past Papers Physics Form 3 Notes Pdf Physics Form 4 Notes Pdf C R E Form One KLB C R E Form One Oli Topic C.r.e Form 1 Notes Kenya C.r.e Form 2 Notes Kenya C.r.e Form 3 Notes C.r.e Form 3 Notes Kenya C.r.e Form 3 Pdf C.r.e Form 4 Notes Kenya C.r.e Form One Notes Pdf C.r.e Notes Form 1 C.r.e Revision Notes C.r.e Short Notes Cambridge IGCSE Physics Cambridge IGCSE Physics 3rd Edition Cambridge IGCSE Physics 3rd Edition Plus Cd South Asia Edition Cambridge IGCSE Physics Answers Cambridge IGCSE Physics Coursebook Pdf Download Cambridge IGCSE Physics Practical Workbook Cambridge IGCSE Physics Revision Guide Pdf Cambridge IGCSE Physics Study and Revision Guide 2nd Edition Pdf Cambridge IGCSE Physics Study and Revision Guide Pdf Cambridge IGCSE Physics Workbook Free Download Cambridge IGCSE Physics Workbook Pdf Cambridge IGCSE® Physics Coursebook Caucasian Chalk Circle Essay Questions Chapter 1 Introduction to Physics Chapter 1 Introduction to Physics Studies Cie a Level Physics Notes 2016 Cie a Level Physics Notes Pdf Cie Past Papers Class 10 Physics Chapter 1 Mcqs Class 8 Physics Notes KCSE-kcse College Physics Notes College Physics Practice Test College Physics Quiz College Physics Quiz Chapter 1 College Physics Quizlet College Physics Study Guide College Physics Study Guide Pdf College Physics Test Questions and Answers College Physics Volume 3 Pdf College PhysicsNotes Complete Physics for Cambridge IGCSE Complete Physics for Cambridge IGCSE Revision Guide Pdf County Mocks 2017 Cse Past Papers Physics 2017 Dl Physics Form 3 Pdf Kusoma Download Physics Form 1 Download Physics Form 2 Download Physics Form 2 Notes Download Physics Form 3 Download Physics Form 3 Notes Download Physics Form 4 Download Physics Form Four Download Physics Form One Download Physics Form Three Download Physics Form Two Download Physics Notes Form 3 Download Physics Notes Form One Download PhysicsNotes Form 3 Download Form Three Physics Notes Download Free KCSE Past Papers Physics Download Free KCSE Past Papers From KNEC. Download KCSE Past Papers With Answers Download KCSE Revision Notes Download KLB Physics Book 2 Download KLB Physics Book 3 Download KLB Physics Book 4 Download Notes of Physics Downloads | Physics | Form Four Exams | Exams Downloads | Physics | Form One Exams | Exams Downloads | Physics | Form Three Exams | Exams Downloads | Physics | Form Two Exams | Exams Downloads | KCSE Papers and Marking Schemes | Dvance KCSE Past Papers Easy Physics Questions Edexcel a Level Physics B Edexcel a Level Physics Notes Pdf Edexcel a Level Physics Salters Nuffield Edexcel A2 Physics Notes Edexcel as Physics Revision Guide Pdf Edexcel Physics A2 Revision Notes Pdf Edexcel Physics Unit 2 Revision Notes Edexcel GCSE Physics Revision Guide Pdf Edexcel IGCSE Physics Past Papers Edexcel IGCSE Physics Revision Guide Free Pdf Download Edexcel IGCSE Physics Revision Guide Pdf Edexcel IGCSE Physics Revision Guide Pdf Download Electronics Form Four Notes Energy Questions Physics Bowl Essay Questions and Answers KCSE Physics Notes Essay Questions and Answers on Betrayal in the City Essay Questions Based on Betrayal in the City Evolving World Physics Book 1 Pdf Evolving World Physics Book 4 Notes Evolving World Physics Book Form 1 Evolving World-history Book 3 Exam Notes for Physics 101 Exams KCSE Physics Paper 1 Questions and Answers F3 Physics Test Paper Find Download KCSE Past Papers With Answers Find KCSE Physics Essay Questions and Answers Form 1 Physics Exam Form 1 Physics Notes Form 1 Physics Questions and Answers Form 1 Physics Questions and Answers Pdf Form 1 Physics Revision Notes Form 1 Physics Summurized Revision Pdf Form 1 Physics Syllabus Form 1 Physics Test Paper Pdf Form 1 Physics Topics Form 1 PhysicsNotes Form 1 PhysicsQuestions and Answers Form 1 PhysicsRevision Notes Form 1 PhysicsSyllabus Form 1 PhysicsTest Paper Pdf Form 1 Past Papers Form 1 Past Papers With Answers Form 1 Revision Papers Form 1 Subjects in Kenya Form 2 Physics Exam Form 2 Physics Exam Paper Form 2 Physics Exam Paper 2016 Form 2 Physics Exam Paper Free Download Form 2 Physics Exam Paper With Answer Form 2 Physics Final Year Exam Paper 2 Form 2 Physics Notes Form 2 Physics Notes and Revision Questions Form 2 Physics Notes Pdf Form 2 Physics Past Papers Form 2 Physics Questions Form 2 Physics Questions and Answers Form 2 Physics Questions and Answers > Form 2 Physics Questions and Answers Pdf Form 2 Physics Revision Notes Form 2 Physics Short Notes Form 2 Physics Syllabus Form 2 PhysicsExam Paper Form 2 PhysicsExam Paper Free Download Form 2 PhysicsExam Paper With Answer Form 2 PhysicsFinal Year Exam Paper 2 Form 2 PhysicsPast Papers Form 2 PhysicsRevision Notes Form 2 PhysicsShort Notes Form 2 PhysicsSyllabus Form 2 Revision Papers Form 2 Subjects in Kenya Form 3 Physics Book Form 3 Physics Exam Form 3 Physics Exam Paper Form 3 Physics Notes Form 3 Physics Past Papers Form 3 Physics Questions Form 3 Physics Questions and Answers Form 3 Physics Questions and Answers Pdf Form 3 Physics Revision Notes Form 3 Physics Syllabus Form 3 PhysicsExam Paper Form 3 PhysicsNotes Form 3 PhysicsPast Papers Form 3 PhysicsQuestions Form 3 PhysicsQuestions and Answers Pdf Form 3 PhysicsRevision Notes Form 3 PhysicsSyllabus Form 3 C.r.e Form 3 Notes of Physics Topic on Fish Form 3 Past Papers Form 3 Revision Papers Form 3 Subjects in Kenya Form 4 Physics Exam Form 4 Physics Notes Form 4 Physics Notes Pdf Form 4 Physics Questions and Answers Form 4 Physics Questions and Answers Pdf Form 4 Physics Revision Notes Form 4 Physics Syllabus Form 4 Physics Topics Form 4 PhysicsNotes Form 4 PhysicsRevision Notes Form 4 PhysicsSyllabus Form 4 PhysicsTopics Form 4 Exam Papers Form 4 Revision Papers Form 4 Subjects in Kenya Form 5 Physics Topics Form 5 PhysicsTopics Form Five Physics Notes Form Five PhysicsNotes Form Four Physics Book Form Four Physics Notes Form Four Physics Notes Pdf Form Four Physics Questions and Answers Form Four Physics Questions and Answers Pdf Form Four Physics Revision Questions Form Four Physics Syllabus Form Four Physics Topics Form Four PhysicsNotes Form Four PhysicsQuestions and Answers Form Four PhysicsQuestions and Answers Pdf Form Four PhysicsTopics Form Four Notes Form Four Revision Papers Form Four Subjects in Kenya Form One Physics Book Form One Physics Examination Form One Physics First Topic Form One Physics Lesson Plan Form One Physics Notes Pdf Form One Physics Past Papers Pdf Form One Physics Questions Form One Physics Questions and Answers Form One Physics Questions and Answers Pdf Form One Physics Revision Questions Form One Physics Short Notes Form One Physics Syllabus Form One Physics Topics Form One PhysicsExamination Form One PhysicsPast Papers Pdf Form One PhysicsQuestions and Answers Form One PhysicsQuestions and Answers Pdf Form One PhysicsTopics Form One Exams Form One Notes of Physics Form One Past Papers Form One Subjects in Kenya Form One Term One Physics Exam Form One Term One PhysicsExam Form Three Physics Book Form Three Physics Book Pdf Form Three Physics Notes Form Three Physics Notes Pdf Form Three Physics Questions and Answers Form Three Physics Questions and Answers Pdf Form Three Physics Revision Questions Form Three Physics Syllabus Form Three Physics Topics Form Three PhysicsNotes Form Three PhysicsNotes Pdf Form Three PhysicsQuestions and Answers Form Three PhysicsQuestions and Answers Pdf Form Three PhysicsTopics Form Three Subjects in Kenya Form Two Physics Book Form Two Physics Cat Form Two Physics Examination Form Two Physics Notes Form Two Physics Notes Pdf Form Two Physics Past Papers Form Two Physics Questions and Answers Form Two Physics Questions and Answers Pdf Form Two Physics Revision Questions Form Two Physics Syllabus Form Two Physics Topics Form Two PhysicsNotes Form Two PhysicsNotes Pdf Form Two PhysicsQuestions and Answers Form Two PhysicsQuestions and Answers Pdf Form Two PhysicsSyllabus Form Two PhysicsTopics Form Two Notes Form Two Subjects in Kenya Free a-level Physics Revision App | Pass Your Physics Exams Free Physics Form 1 Notes Free Physics Notes Form 1 Free Physics Notes Pdf Free PhysicsNotes Pdf Free College Physics Practice Test Free Form1,form2,form3 Past Papers Free KCSE Past Papers Free KCSE Mocks 2015 Free KCSE Past Papers 2014 Free KCSE Past Papers KCSE Past Free KCSE Past Papers Kenya, Free KCSE Past Papers With Answers Free KCSE Questions and Answers on Physics Free KCSE Revision Notes Free Marking Schemes Free Mocks Online KCSE Answers Past Exams Question Papers Free Revision Papers From Three Notes Topic One KLB Fun Physics Questions Funny Physics Questions Funny Physics Questions and Answers Funny Physics Questions to Ask Funny Physics Quotes GCSE Physics Exam Questions and Answers GCSE Physics Past Papers GCSE Physics Revision GCSE Physics Revision Notes GCSE Physics Revision Notes Pdf GCSE Physics Revision Notes Pdf 9-1 GCSE Physics Revision Questions and Answers GCSE Physics Textbook Pdf GCSE Physics Topics Pass My Exams: Easy Exam Revision Notes Home Physics Notes Pdf Home Physics Practice Test With Answers Home Physics Quiz Home Physics Quiz Pdf Home Physics Test Questions and Answers Home Physics Test Questions and Answers Pdf Home Knowledge in Physics Human Body Good Physics Questions to Ask GRE Physics Practice Test GRE Physics Subject Test Pdf Handbook of Physics Pdf Free Download Hard Physics Questions Hard Physics Questions and Answers Hard Physics Questions to Ask Your Teacher Hard Physics Quiz Questions Hard Form 3 Physics Question High School Physics Final Exam Doc High School Physics Final Exam Pdf High School Physics Final Exam Questions High School Physics Final Exam Questions and Answers High School Physics Notes High School Physics Practice Test High School Physics Pretest With Answers High School Physics Questions and Answers Pdf High School Physics Study Guide High School Physics Test Questions and Answers Pdf High School PhysicsNotes High School PhysicsStudy Guide How to Answer KCSE Physics Question How to Motivate a Form 4 Student How to Motivate a KCSE Candidate How to Motivate a KCSE Student How to Pass Physics Questions & Answers Form 1&2 | Text Book How to Revise Physics How to Revise Effectively for KCSE How to Study Physics: 5 Study Techniques to Master Physics Hsc Physics 2018 Hsc Physics 2019 Https://www.knec.ac.ke/ Www.knec-portal.ac.ke/ KNEC Portal: Ial Physics Notes Ib Physics Cold War Notes Ib Physics Notes Ib Physics Notes Pdf Ib Physics of the Americas Notes Ib Physics of the Americas Study Guide Ib Physics Paper 2 Study Guide Ib Physics Question Bank by Topic Ib Physics Study Guide Pdf Ict Notes Form 1 IGCSE Physics Alternative to Practical Revision IGCSE Physics Alternative to Practical Revision Notes IGCSE Physics Book IGCSE Physics Book Pdf Download IGCSE Physics Notes IGCSE Physics Notes 2017 Pdf IGCSE Physics Notes Edexcel IGCSE Physics Paper 2 Notes IGCSE Physics Paper 6 Notes IGCSE Physics Past Papers IGCSE Physics Past Papers 2014 IGCSE Physics Past Papers 2017 IGCSE Physics Pdf IGCSE Physics Pre Release Material 2018 IGCSE Physics Resources IGCSE Physics Revision Guide IGCSE Physics Revision Guide Free Download IGCSE Physics Revision Guide Pdf Download IGCSE Physics Revision Notes Pdf IGCSE Physics Revision Worksheets IGCSE Physics Workbook Pdf IGCSE Physics Znotes IGCSE PhysicsPast Papers IGCSE Notes Physics Importance of Agroforestry Inorganic Physics Multiple Choice Questions With Answers Pdf Inorganic Physics Questions and Answers Pdf Interesting Physics Questions Interesting Physics Questions and Answers Interesting Questions to Ask About Physics Intro to Physics Quiz Introduction of Physics Form One Introduction to Physics Introduction to Physics Notes Introduction to Physics Pdf Introduction to PhysicsNotes Is Agroforestry Sustainable? K.c.s.e Answers Physics Paper One 2018 K.c.s.e Physics 2017 K.c.s.e Physics 2018 K.c.s.e Physics Paper 1 2017 K.c.s.e Mocks 2018 K.c.s.e Papers 2015 K.c.s.e Papers 2016 K.c.s.e Past Papers 2014 K.c.s.e.Physics Paper 2 Year 2018 K.c.s.e.results 2018 for Busia County K.l.b Physics Form 3 K.l.b Physics Notes K.l.b PhysicsNotes Kasneb Past Papers for Colleges Physics Past Papers KCSE 2010 Marking Scheme KCSE 2010 Past Papers KCSE 2011 Physics Paper 1 KCSE 2011 Marking Scheme KCSE 2012 Physics Paper 2 Marking Scheme KCSE 2012 Marking Schemes KCSE 2013 Physics Paper 1 KCSE 2013 Marking Scheme KCSE 2013 Marking Scheme Pdf KCSE 2014 KCSE 2015 Physics Paper 2 KCSE 2015 Physics Paper 3 KCSE 2015 Marking Scheme KCSE 2015 Past Papers KCSE 2016 Physics Paper 1 KCSE 2016 Physics Paper 2 KCSE 2017 Physics Paper 1 KCSE 2017 Physics Paper 2 KCSE 2017 Hostory Papers With Answers.com KCSE 2017 Marking Scheme KCSE 2017 Papers KCSE 2017 Papers and Marking Scheme KCSE 2017 Papers Pdf KCSE 2017 Past Papers KCSE 2017 Prediction Pdf KCSE 2018 Physics and Answers KCSE 2018 Physics Prediction KCSE 2018 Leakage KCSE 2018 Marking Scheme KCSE 2018 Papers KCSE 2018 Prediction Pdf KCSE 2018 Predictions KCSE 2018 Questions KCSE 2018 Questions and Answers KCSE 2019 Leakage Physics KCSE 2019 Marking Scheme KCSE 2019 Questions KCSE 2019 Questions and Answers KCSE 2020 Questions KCSE 2020 Questions and Answers KCSE Answers KCSE Answers Past Exams Question Papers Downloads | KCSE Physics 2011 KCSE Physics 2016 KCSE Physics Diagramsbiology Revision Tips KCSE Physics Essay Questions and Answers KCSE Physics Essay Questions and Answers Pdf KCSE Physics Essays KCSE Physics Essays Pdf KCSE Physics Marking Schemes KCSE Physics Notes KCSE Physics Notes Pdf KCSE Physics Notes, Syllabus, Questions, Answers KCSE Physics Paper 1 KCSE Physics Paper 1 2011 KCSE Physics Paper 1 2012 KCSE Physics Paper 1 2013 KCSE Physics Paper 1 2015 KCSE Physics Paper 1 2016 KCSE Physics Paper 1 2017 KCSE Physics Paper 1 2017 Pdf KCSE Physics Paper 1 Questions and Answers KCSE Physics Paper 2 KCSE Physics Paper 2 2012 KCSE Physics Paper 2 2012 KCSE Physics Paper 2 2015 KCSE Physics Paper 2 2013 KCSE Physics Paper 2 2014 KCSE Physics Paper 2 2015 KCSE Physics Paper 2 2016 KCSE Physics Paper 2 2017 KCSE Physics Paper 3 KCSE Physics Paper 3 2012 KCSE Physics Paper 3 2016 KCSE Physics Paper 3 2017 KCSE Physics Paper 3 Past Papers KCSE Physics Past Papers KCSE Physics Past Papers and Answers KCSE Physics Past Papers Pdf KCSE Physics Practical KCSE Physics Practical 2015 KCSE Physics Practical 2016 KCSE Physics Practical Past Papers KCSE Physics Practicals KCSE Physics Practicals KCSE Physics Paper 1 KCSE Physics Question and Answer KCSE Physics Questions and Answers KCSE Physics Questions and Answers Ap Physics KCSE Physics Revision KCSE Physics Revision Notes KCSE Physics Revision Papers KCSE Physics Revision Questions KCSE Physics Revision Questions and Answers KCSE Physics Syllabus KCSE PhysicsNotes KCSE PhysicsPaper 1 KCSE PhysicsPaper 2 KCSE PhysicsPaper 2 Pdf KCSE PhysicsSyllabus KCSE Business Paper 1 2016 KCSE Business Past Papers KCSE Physics Past Papers KCSE Essay Questions in Betrayal in the City KCSE Essays KCSE Exam Papers 2018 KCSE Exam Papers Answers KCSE Form 1 Physics Revision KCSE Form 2 Physics Revision KCSE Form 3 Physics Revision KCSE Form 4 Physics Revision KCSE Form Four Physics Revision KCSE Form One Physics Revision KCSE Form Three Physics Revision KCSE Form Two Physics Revision KCSE KCSE Past Papers KNEC KCSE Leakage KCSE Leakage Physics KCSE Made Familiar Physics KCSE Made Familiar Physics Pdf KCSE Marking Scheme 2016 KCSE Marking Schemes KCSE Marking Schemes 2017 KCSE Marking Schemes Pdf KCSE Mock Exams KCSE Mock Papers 2015 KCSE Mock Papers 2017 KCSE Mock Papers 2018 KCSE Mock Papers Pdf KCSE Mock Papers Pdf 2018 KCSE Mock Papers Pdf KCSE Past Papers KCSE Mocks 2017 KCSE Mocks 2018 KCSE Notes KCSE Online Notes KCSE Online Past Papers KCSE Online Registration KCSE Papers 2015 KCSE Papers and Marking Schemes | Exams KCSE Past Papers KCSE Past Papers 2007 KCSE Past Papers 2009 KCSE Past Papers 2010 KCSE Past Papers 2011 KCSE Past Papers 2011 Pdf KCSE Past Papers 2012 KCSE Past Papers 2013 KCSE Past Papers 2013knec KCSE Past Papers 2014 KCSE Past Papers 2014 Pdf KCSE Past Papers 2015 KCSE Past Papers 2015 Marking Schemes KCSE Past Papers 2015 Pdf KCSE Past Papers 2016 KCSE Past Papers 2016 Pdf KCSE Past Papers 2017 KCSE Past Papers 2017 Pdf KCSE Past Papers 2018 KCSE Past Papers Physics KCSE Past Papers Physics and Answers KCSE Past Papers Physics Pdf KCSE Past Papers Physics With Answers KCSE Past Papers Physicsand Answers KCSE Past Papers Physics and Answers KCSE Past Papers KCSE and Answers KCSE Past Papers KCSE and Answers Free Mocks Online KCSE Past Papers Marking Scheme KCSE Past Papers Pdf Download KCSE Past Papers Pdf Download KCSE 2013 KCSE Past Papers With Answers KCSE Past Papers Woodwork and Answers KCSE Prediction 2017 KCSE Prediction 2018 KCSE Prediction 2018 Pdf KCSE Prediction Papers 2018 KCSE Prediction Questions KCSE Prediction Questions 2018 KCSE Prediction Questions and Answers KCSE Questions KCSE Questions and Answers KCSE Questions and Answers. KCSE Questions on Physics KCSE Results, Online Registration, KCSE Result Slip. KCSE Revision KCSE Revision Notes KCSE Revision Notes Physics KCSE Revision Notes Pdf KCSE Revision Papers KCSE Revision Papers 2014 KCSE Revision Papers With Answers KCSE Revision Question for Physics KCSE Revision Questions KCSE Revision Questions and Answers KCSE Revision | Secondary School | Text Books | Text Book Centre KCSE Syllabus Pdf KCSE Trial 2017 KCSE Trial Exams 2017 Kenya Secondary School Physics Syllabus Kenya Secondary School Physics Syllabus Pdf Kenya Secondary School PhysicsSyllabus Pdf Kenya Secondary School Syllabus Pdf Kenya-kcse-christian Religious Education Syllabus Kenyaplex KCSE Past Papers Kenyaplex Past Papers for Secondary KLB Physics Book 1 Download KLB Physics Book 1 Notes KLB Physics Book 1 Pdf KLB Physics Book 2 KLB Physics Book 2 Notes KLB Physics Book 2 Notes Pdf KLB Physics Book 2 Pdf KLB Physics Book 3 Notes KLB Physics Book 3 Pdf KLB Physics Book 3 Pdf Download KLB Physics Book 4 Notes KLB Physics Book 4 Pdf KLB Physics Book 4 Pdf Download KLB Physics Book 4 Topics KLB Physics Book One KLB Physics Form 1 KLB Physics Form 1 Notes KLB Physics Form 1 Pdf KLB Physics Form 2 KLB Physics Form 2 Book KLB Physics Form 2 Notes KLB Physics Form 2 Pdf KLB Physics Form 2 Pdf Download KLB Physics Form 2 Schemes of Work KLB Physics Form 3 KLB Physics Form 3 Notes KLB Physics Form 3 Notes Pdf KLB Physics Form 3 Pdf KLB Physics Form 3 Pdf Download KLB Physics Form 4 KLB Physics Form 4 Notes KLB Physics Form 4 Pdf KLB Physics Form Four KLB Physics Form Four Notes KLB Physics Form One KLB Physics Form One Notes KLB Physics Form Three KLB Physics Form Three Notes KLB Physics Form Two KLB Physics Form Two Notes KLB Physics Notes KLB Physics Notes Form 4 KLB Physics Pdf KLB PhysicsNotes KLB PhysicsNotes Form 4 KLB PhysicsPdf KNEC Physics Syllabus KNEC Examiners Portal KNEC Website KNEC Ict Past Papers KNEC Past Papers for Colleges KNEC Past Papers Free Download KNEC Past Papers Free Downloads KNEC Past Papers Pdf KNEC Portal Confirmation KNEC Portal KCSE Results KNEC Portal KNEC Past Papers for Colleges Kasneb Past Papers KNEC Revision Papers KNEC Technical Exams Past Papers Kusoma Physics Notes Kusoma Physics Notes Pdf Kusoma Notes Physics Kusoma.co.ke Kusoma.com Past Papers Learner Guide for Cambridge IGCSE Physics Longhorn Physics Book 3 Pdf Made Familiar Physics Made Familiar Physics Pdf Made Familiar Physics Questions Maktaba Tetea Notes Marking Scheme KCSE Physics Past Papers Math Form2 Note Mcqs About Gaseous Exchange Middle School Physics Bowl Physics Questions Mock Past Papers 2017 Mock Past Papers With Answers Mokasa Mock 2017 More Than 1800 Physics Questions and Answers to Help You Study Multiple Choice Questions on Physics Necta Physics Past Papers Necta Physics Practicals Necta PhysicsPast Papers Necta PhysicsPracticals Necta Form Four Past Papers Necta Past Papers Form 4 Necta Past Papers Form 4 2016 Necta Past Papers Form Six Necta Past Papers Form Two Necta Questions and Answers Necta Review Questions Notes Physics Form 1 Notes Physics Form 2 Notes Physics Form 3 Notes Physics Form 3 Notes Pdf Notes Physics Form 3 Syllabus Notes Physics Form 4 Syllabus Notes on Physics Studies Notes Za Physics 4m 2 Notes Za Physics Form One Notes Za Physics Form Three O Level Physics Practical Experiments O Level Physics Questions and Answers Pdf Orm Three Physics Notes Page Navigation Papacambridge Physics IGCSE Papers KNEC KCSE Online Past Papers KNEC KCSE Results Past Papers Past KCSE Papers Past Paper Questions by Topic Physics Past Papers 2014 Past Papers in Kenya Pdf Physics Form 3 Pdf Physics Notes Pdf Physics Notes Form 1 Pdf Physics Notes Form 2 Pdf Physics Notes Form 3 Pdf Physics Notes Form 4 Pdf Physics Notes Form Four Pdf Physics Notes Form One Pdf Physics Notes Form Three Pdf Physics Notes Form Two Pdf Form 1 Physics Questions and Answers Pdf Form 2 Physics Questions and Answers Pdf Form 3 Physics Questions and Answers Pdf Form 4 Physics Questions and Answers Pdf Form Four Physics Questions and Answers Pdf Form One Physics Questions and Answers Pdf Form Three Physics Questions and Answers Pdf Form Two Physics Questions and Answers Pdf Free KCSE Past Papers and Marking Schemes Pdf" Revision Questions Physics Form 1 Practical Physics Experiments Pdf Practical Physics Question and Answer Pdf Pre Mocks 2018 Preliminary Physics Primary and Secondary Tillage Implements Ppt Pte KNEC Past Papers Questions and Answers Pdf Physics Form 1 Questions and Answers Pdf Physics Form 2 Questions and Answers Pdf Physics Form 3 Questions and Answers Pdf Physics Form 4 Questions and Answers Pdf Physics Form Four Questions and Answers Pdf Physics Form One Questions and Answers Pdf Physics Form Three Questions and Answers Pdf Physics Form Two Questions Based to Introduction to Physics Questions on Gaseous Exchange in Humans Questions on Introduction to Physics Questions to Ask in Physics Class Questions to Confuse Your Physics Teacher Quizlet Physics Test Quizlet Test Questions Qustions in Physics and Answers Revision Revision Physics Notes and Questions? Revision Quiz for Physics for Form Three S.1 Physics Questions S.2 Physics Questions S.3 Physics Questions S.4 Physics Questions Sample Essays on Betrayal in the City School Physics Notes Secondary Physics Notes Secondary Physics Notes Pdf Secondary PhysicsNotes Pdf Senior 1 Physics Notes Senior 2 Physics Notes Senior 3 Physics Notes Senior 4 Physics Notes Senior 5 Physics Notes Senior 6 Physics Notes Senior Five Physics Notes Senior Four Physics Notes Senior One Physics Notes Senior Six Physics Notes Senior Three Physics Notes Senior Two Physics Notes Simple Scientific Questions Smart Questions to Ask a Physics Teacher Snab Physics Revision Notes Southwest Mock Paper 2 2016 Physics Only Spm Physics Revision Notes Spm Notes Success Physics Spm Pdf Success PhysicsSpm Pdf Summary of Physics Form 3 Tahossa Past Papers To Motivate a Form 4 KCSE Student To Motivate a Form 4 Student Topical Revision Material Tricky Physics Questions and Answers Tricky Physics Questions for Adults Tricky Physics Questions With Answers Tricky Physics Quiz Questions Two Physics Revision Questions University Physics Volume 3 Openstax University Physics Volume 3 Pdf University Physics Volume 4 Pdf Ur Revision Guide IGCSE Physics What Are the Types of Gametes Working of Excretory System Www.Physics Form One Notes.com Www.Physics From One KLB.com Www.form 1 Physics.com Www.form 2 Physics.com Www.form 3 Physics.com Www.form 4 Physics.com Www.form Four Physics.com Www.form One Physics.com Www.form Three Physics.com Www.form Two Physics.com Www.kusoma Notes Www.kusoma Revision Materials Www.kusoma.co.ke Physics Notes Xtremepapers IGCSE Physics Year 11 Physics Z Notes Physics IGCSE Znotes as Physics Form 1 Summarized Notes For Phyics Form 2 Summarized Notes For Phyics Form 3 Summarized Notes For Phyics Form 4 Summarized Notes For Phyics Form 1 Summarized Notes For Physics Form 2 Summarized Notes For Physics Form 3 Summarized Notes For Physics Form 4 Summarized Notes For Physics 2018 KCSE PHYSICS PRACTICAL QUESTIONS Physics Paper One 2017 Physics Paper Two 2017 Physics Paper Three 2017 Physics Paper 1 2017 Physics Paper 2 2017 Physics Paper 3 2017 A Level Physics Questions and Answers Pdf All Physics Questions and Answers Pdf,ppt Physics Exam Questions and Answers Pdf Physics Multiple Choice Questions and Answers Pdf Physics Questions and Answers for High Schools Pdf Physics Notes Form 1-4 Pdf Free High School Notes Kenya Free Kcse Revision Notes General Physics Test Questions and Answers Pdf High School Physics Multiple Choice Questions and Answers Pdf Kcse Physics Revision Notes Pdf Kcse Revision Books Pdf Kcse Revision Notes Pdf Kenya Secondary School Notes Pdf Notes of Form 123 and 4 All Subject Physics Notes Form 1 Free Download Advice to KCSE Candidates Best Revision Books for KCSE How to Pass an Exam Successfully How to Pass KCSE 2018 How to Pass KCSE 2019 How to Pass KCSE Physics Paper How to Pass KCSE Physics How to Pass KCSE Physics How to Pass KCSE 2019 K.c.s.e Physics Paper 1 2017 KCSE 2019 Prediction KCSE Prediction 2019 KCSE Revision Tips KCSE Physics Paper 1 2018 KCSE Physics Paper 2 2018 KCSE Physics Past Papers Pdf KCSE Past Papers 2012 KCSE Past Papers 2017 Pdf KCSE Past Papers 2018 KCSE Past Papers of Physics Pp2 KCSE Physics Past Papers Pdf Physics KCSE Papers With Their Marking Schemes Physics Paper 1 and Answers KCSE 2017 Papers and Marking Scheme KCSE 2019 Papers and Marking Scheme KCSE Physics Paper 1 2018 KCSE Physics Paper 1 2019 KCSE Physics Paper 1 2019 Past Papers KCSE Physics Paper 2 2017 KCSE Physics Paper 2 2018 KCSE Physics Paper 2 2019 KCSE Physics Paper 2 2019 Past Papers KCSE Physics Paper 3 2019 Past Papers KCSE Physics Past Papers and Answers KCSE Marking Schemes Pdf KCSE Past Papers 2015 Marking Schemes KCSE Past Papers 2019 Marking Schemes KCSE Past Papers Physics Paper 1 2019 KCSE Past Papers Physics Paper 2 2019 KCSE Past Papers Physics Paper 3 2019 Past Papers KCSE Physics Paper 1 2019 Past Papers KCSE Physics Paper 2 2019 Past Papers KCSE Physics Paper 3 2019 4m1 Notes Viusasa 4m2 Notes Viusasa 4m3 Notes Viusasa 4m4 Notes Viusasa Download on Viusasa - Download Now for Free Elimu - Viusasa Elimu Library | Notes, Exams, Lesson Plans, Schemes Elimu Online High School Notes - Revision Materials for Kenyan Schools Https //www.viusasa.com/elimu Kenya Notes Viusasa Elimu Form 1 Notes Viusasa Elimu Form 2 Notes Viusasa Elimu Form 3 Notes Viusasa Elimu Form 4 Notes Viusasa Elimu Form Four Notes Viusasa Elimu Form One Notes Viusasa Elimu Form Three Notes Viusasa Elimu Form Two Viusasa Viusasa Education Viusasa Elimu Viusasa Elimu Class 6 Viusasa Elimu Form 1 Viusasa Elimu Form 1 Notes Viusasa Elimu Form 2 Viusasa Elimu Form 2 Notes Viusasa Elimu Form 3 Viusasa Elimu Form 3 Notes Viusasa Elimu Form 4 Viusasa Elimu Form 4 Notes Viusasa Elimu Form Four Viusasa Elimu Form Four Notes Viusasa Elimu Form One Viusasa Elimu Form One Notes Viusasa Elimu Form Three Viusasa Elimu Form Three Notes Viusasa Elimu Form Two Viusasa Elimu Form Two Notes Viusasa High School Notes - Revision Materials for Kenyan Schools Viusasa Notes Physics Mock Papers Physics Paper 1 2019 Physics Paper 1 Notes Physics Paper 1 Questions and Answers Physics Paper 1 Questions and Answers Pdf Physics Paper 2 Form 3 Physics Paper 2 Notes Physics Paper 2 Questions and Answers Pdf Physics Past Papers Physics Past Papers Pdf Physics Questions and Answers Pdf Physics Revision Questions and Answers Pdf Physics Revision Questions Pdf Common Exam Questions in Physics Paper 1 Common Exam Questions in Physics Paper 2 Common Test Questions in Physics Paper 1 Common Tested Questions in Physics Paper 1 Commonly Tested Questions in Physics Paper 1 K.c.s.e.Physics Questions and Answers KCSE 2019 Physics Paper 1 Marking Scheme KCSE 2019 Physics Paper 2 KCSE 2019 Physics Paper 2 Marking Scheme KCSE 2020 Prediction Questions and Answers KCSE Physics Paper 1 2019 KCSE Physics Paper 2 2016 KCSE Physics Paper 2 2017 KCSE Physics Paper 2 2018 KCSE Physics Paper 2 2019 KCSE Physics Questions and Answers Most Tested Questions in Physics Paper 1 Most Tested Questions in Physics Paper 2 Mostly Tested Questions in Physics Paper 1 Mostly Tested Questions in Physics Paper 2 A Level Physics Notes Uganda Pdf Download Buddo Junior School Holiday Work Physics Notes for a Level Pdf Physics Notes Form 1 Physics Notes Form 3 the Mole Physics Notes Form 4 Physics Notes O Level Physics Notes O Level Uganda Physics Notes O Level Uganda Pdf Physics Notes Pdf Download Physics Notes Form 3 Physics Notes Form 3 Physics Questions and Answers Form Three Physics Syllabus Pdf Gayaza High School Physics Notes Gayaza High School Physics Notes Pdf Gayaza High School Physics Past Papers Gayaza High School Physics Past Papers Answers Gayaza High School Physics Past Papers Questions and Answers Gayaza High School E Learning Gayaza High School Elearning Platform Gayaza High School Examinations Gayaza High School Holiday Work Gayaza High School Notes Gayaza High School Notes 2021 Gayaza High School Notes 2022 Gayaza High School Notes 2023 Gayaza High School Notes Pdf Gayaza Junior School E Learning Platform Gayaza Junior School Holiday Work Gayaza O Level Physics Notes Home › Gayaza High School | Elearning Platform Kabojja Junior School Holiday Work Pdf Klb Physics Book 3 Klb Physics Form 3 Teachers Guide Klb Physics Notes List of Ugandan E-learning Platforms for Students Mirembe Junior School Holiday Work Ntare School Past Papers O Level Physics Notes Free Download O Level Physics Notes in Uganda O Level Physics Notes Pdf O Level Physics Notes Uganda Pdf O Level Physics Notes Uganda Pdf Download O Level General - Home › Gayaza High School | Elearning S.1 Physics Notes | Standard High School Zzana S.3 Physics Notes S.4 Physics 2 Notes | Standard High School Zzana Seeta High School Elearning Seeta High School Holiday Work Seeta High School Notes Seeta High School Notes Pdf Seeta High School Past Papers Seeta High School Past Papers Pdf Senior 1 Physics Notes Senior 1 Physics Notes in Uganda Senior 1 Physics Notes Uganda Senior 1 Physics Questions Senior 1 Exams Senior 1 Work Senior 1 Work 2020 Senior 1 Work 2020 Uganda Senior 2 Physics Notes Senior 2 Physics Notes in Uganda Senior 2 Physics Notes Uganda Senior 2 Physics Questions Senior 2 Exams Senior 2 Work Senior 2 Work 2020 Senior 2 Work 2020 Uganda Senior 3 Physics Notes Senior 3 Physics Notes in Uganda Senior 3 Physics Notes Uganda Senior 3 Physics Questions Senior 3 Exams Senior 3 Work Senior 3 Work 2020 Senior 3 Work 2020 Uganda Senior 4 Physics Notes Senior 4 Physics Notes in Uganda Senior 4 Physics Notes Uganda Senior 4 Physics Questions Senior 4 Exams Senior 4 Work Senior 4 Work 2020 Senior 4 Work 2020 Uganda Senior Four Physics Notes Senior Four Physics Notes in Uganda Senior Four Physics Notes Uganda Senior Four Physics Questions Senior Four Exams Senior Four Work Senior Four Work 2020 Senior Four Work 2020 Uganda Senior One Physics Notes Senior One Physics Notes in Uganda Senior One Physics Notes Uganda Senior One Physics Questions Senior One Exams Senior One Work Senior One Work 2020 Senior One Work 2020 Uganda Senior Three Physics Notes Senior Three Physics Notes in Uganda Senior Three Physics Notes Uganda Senior Three Physics Questions Senior Three Exams Senior Three Work Senior Three Work 2020 Senior Three Work 2020 Uganda Senior Two Physics Notes Senior Two Physics Notes in Uganda Senior Two Physics Notes Pdf Senior Two Physics Notes Uganda Senior Two Physics Questions Senior Two Exams Senior Two Work Senior Two Work 2020 Senior Two Work 2020 Uganda St Mary's Kitende E Learning Standard High School Notes Standard High School Zana a Level Notes Standard High School Zana Com Notes Standard High School Zana E Learning Standard High School Zana E Learning Platform Standard High School Zana E-learning Platform Standard High School Zana Notes for Senior Two Standard High School Zana Notes Pdf Standard High School Zana Website Standard High Zana Notes Uace Physics Notes Uace Physics Notes Pdf Uce Physics Notes Pdf Uce Physics Notes Pdf Download Uce Past Papers Uganda Secondary Schools E-learning Platform Uneb Marking Guides Pdf Uneb Past Papers and Answers Pdf Physics Form 1 Questions and Answers Pdf Download Physics Notes Form 1-4 Physics Form 1 Questions and Answers Pdf Form 1 Physics Topical Questions Form 1 Physics Exam Paper With Answer Pdf Form 1 Exams 2020 Form 1 Exams 2021 Form 1 Exams 2022 Form 1 Exams 2023 Form 1 Physics Past Papers Form 1 Physics Revision Papers With Answers Sample Physics Test for Form One Exams Ntare School Past Papers Seeta High School Notes Pdf Seeta High School Past Papers Seeta High School Past Papers Pdf St Mary's Kitende Past Papers Uce Physics Notes Pdf Uce Past Papers Uneb Marking Guides Pdf Uneb Past Papers and Answers Pdf Physics Book 3 Download Physics Form 3 Questions and Answers Physics Form 3 Syllabus Physics Form 3 Topics Physics Notes Form 3 Physics Notes Form 3 Physics Notes Form 3 Physics Notes Form Three Physics Notes Pdf Download Form 3 Physics Exam Form 3 Physics Notes on Pdf Revision Physics Revision a Level Physics Revision Notes - Physics S.1-Physics-notes S.1-Physics-notes Uganda S.2-Physics-notes S.2-Physics-notes Uganda S.3-Physics-notes S.3-Physics-notes Uganda S.4-Physics-notes S.4-Physics-notes Uganda S.5-Physics-notes S.5-Physics-notes Uganda S.6-Physics-notes S.6-Physics-notes Uganda S1 Physics Notes Term 1 S1 Physics Notes Term 2 S1 Physics Notes Term 3 S2 Physics Notes Term 1 S2 Physics Notes Term 2 S2 Physics Notes Term 3 S3 Physics Notes Term 1 S3 Physics Notes Term 2 S3 Physics Notes Term 3 S4 Physics Notes Term 1 S4 Physics Notes Term 2 S4 Physics Notes Term 3 Senior 3 Physics Notes Senior 3 Physics Notes Uganda Senior Three Physics Notes Senior Three Physics Notes Uganda Physics Form 1 the Cell Physics Form One Notes Free – Education News Physics Notes Form 1-4 Physics Questions and Answers Form 1 - Physics Form One Physics Questions and Answers Form 2 - Physics Form Two Physics Questions and Answers Form 3 - Physics Form Three Physics Questions and Answers Form 4 - Physics Form Four Physics Questions and Answers Senior 1 - Physics Senior One Physics Questions and Answers Senior 2 - Physics Senior Two Physics Questions and Answers Senior 3 - Physics Senior Three Physics Questions and Answers Senior 4 - Physics Senior Four Physics Topic by Topic Questions and Answers Combined Science Notes Form 1 Form 1 Physics Revision Questions and Answers Form 1 Physics Topical Questions Form 1 Revision Papers With Answers Form 2 Physics Revision Questions and Answers Form 3 Physics Revision Questions and Answers Form Four Physics Revision Questions and Answers Form One Physics Revision Questions and Answers Form Three Physics Revision Questions and Answers Form Two Physics Revision Questions and Answers Free Physics Form 1 Notes Free Physics Notes Introduction to Physics Form One Kcse Past Papers: Physics Form 1 Kcse Past Papers: Physics Form 1 Topical Questions Kcse Past Papers: Physics Form 1 Topical Questions and Answers Most Tested Areas in Physics Kcse Most Tested Areas in Physics Kcse Exams Most Tested Areas in Physics Uneb Most Tested Areas in Form 1 in Physics Most Tested Areas in Form 2 in Physics Most Tested Areas in Form 3 in Physics Most Tested Areas in Form 4 in Physics Most Tested Areas in Form Four in Physics Most Tested Areas in Form One in Physics Most Tested Areas in Form Three in Physics Most Tested Areas in Form Two in Physics Most Tested Areas in Kcse Physics Most Tested Areas in Kcse Physics Exams Most Tested Areas in Senior 1 in Physics Most Tested Areas in Senior 2 in Physics Most Tested Areas in Senior 3 in Physics Most Tested Areas in Senior 4 in Physics Most Tested Areas in Senior Four in Physics Most Tested Areas in Senior One in Physics Most Tested Areas in Senior Three in Physics Most Tested Areas in Senior Two in Physics Most Tested Areas in Uneb Physics Revision Notes Physics Form 1 - Free Kcse Past Papers Who Was Physics Champion KCSE 2019 Top 100 Students in Physics KCSE 2019 Best 100 Students in Physics KCSE 2019 Top Student in Physics KCSE Best Student in Physics KCSE Who Was Physics Champion KCSE 2020 Top 100 Students in Physics KCSE 2020 Best 100 Students in Physics KCSE 2020 Names of Best Physics Students KCSE Names of Top Physics Students KCSE High School Physics Notes Pdf Klb Physics Form 1 Book Pdf Physics Form 1 Best Notes Physics Form 1 Notes Pdf Physics Form 1 Pressure Physics Form 1 Questions and Answers Physics Form 1 Questions and Answers Pdf Download Physics Form 2 Best Notes Physics Form 3 Best Notes Physics Form 4 Best Notes Physics Form Four Best Notes Physics Form One Best Notes Physics Form Three Best Notes Physics Form Two Best Notes Physics Notes Form 1 to 4 Physics Notes Pdf Klb Physics Form 1 Book Pdf Physics Form 1 Notes Pdf Physics Form 1 Pressure Physics Form 1 Questions and Answers Physics Form 1 Questions and Answers Pdf Download Physics Notes Form 1-4 Pdf Physics Notes Pdf Physics Summary Notes Pdf
Scholarship 2026/27
Current Scholarships 2026/2027 - Fully Funded
Full Undergraduate Scholarships 2026 - 2027
Fully Funded Masters Scholarships 2026 - 27
PhD Scholarships for International Students - Fully Funded!
Funding Opportunities for Journalists 2026/2027
Funding for Entrepreneurs 2026/2027
...
...
***