2.2.2 Physics Paper 1 (232/1)
SECTION A (25 marks)
Answer all the questions in this section in the spaces provided.
1 Figure 1 shows a lorry moving on an inclined section of a straight road. At the back is a chain hanging from a point on a horizontal axis through the cenne of gravity of the lorry.

State with a reason whether the lorry is stable or not stable. (1 mark)
2 State the constant force that opposes the motion of a stone initially at rest, as it falls through air from a tall building. (1 mark)
3 Figure 2 shows a spring balance. It’s spring constant is l25Nm". The scale spreads over

Determine the maximum weight that can be measured using this spring. (3 marks)
4 Figure 3 shows an aluminium tube tightly stuck in a steel tube.

Figure 3
Explain how the two tubes can be separated by applying a temperature change at the junction given that aluminium expands more than steel for the same temperature rise.
(2 marks)
5 Figure 4 shows two identical beakers P and Q full of water at 90°C. Two similar cold wet clothes are wrapped, one around the top of P and the other around the bottom of Q.

Figure 4
State with a reason, the beaker in which the water cools faster. (2 marks)
6 Figure 5 is a graph of net force on a body against it's velocity as it falls through a liquid.

Determine the terminal velocity of the body. (1 mark)
7 Figure 6 shows a small toy boat floating on water in a basin. X and Y are two points near the toy.

Figure 6
When a hot metal rod is dipped into the water at point X, the toy is observed to move towards Y. Explain this observation. (2 marks)
8 When the temperature of a gas in a closed container is raised, the pressure of the gas increases. Explain how the molecules of the gas cause the increase in pressure. (2 marks)
9 Figure 7 shows part of a petrol engine, in which air flowing under atmospheric pressure passes into a constriction, where it mixes with petrol. The mixture then flows into a combustion cylinder.

Explain what causes the petrol to move from the petrol chamber to the air stream in the constriction when the piston is moved downwards. (2 marks)
10 State the reason why it is easier to separate water into drops than to separate a solid into smaller pieces. (1 mark)
Figure 8 shows a uniform wooden block of mass 2kg and length 25cm lying on a bench. It hangs over the edge of the bench by 10cm. Use the figure to answer questions 11 and 12.

11 Indicate on the figure two forces acting on the wooden block. (1 mark)
12 Determine the minimum force that can be applied on the wooden block to make it turn about the edge of the bench. (2 marks)
13 A particle starts from rest and accelerates uniformly in a straight line After 3 second it is 9m from the starting point. Determine the acceleration of the particle. (3 marks)
14 Figure 9 shows a syringe full of water. It has two identical holes A and B drilled along it s cylinder. The cylinder nozzle is closed.

State with a reason how the speeds of the jets of water from A and B compare when the piston is pushed into the cylinder. (2 marks)
SECTION B: (55 marks)
Answer all the questions in this section
15 Figure 10 shows a simple pendulum of length 80cm. The pendulum bob whose mass is 50g oscillates between points A and B, through its rest position C. A and B are both 10cm higher than C.

Figure 10
(a) (i) Indicate with an arrow, on the path ACB, the direction of the greatest velocity of the bob as it moves from A to BA (1 mark)
(ii) State the form of energy possessed by the pendulum bob at point A. (1 mark)
(b) Determine:
(i) the velocity of the bob at point C, (3 marks)
(ii) the tension in the string as the bob passes point C. (3 marks)
(take acceleration due to gravity g = 10 III/S2)
(c) After some time, the pendulum comes to rest at point C. State what happens to the energy it initially possessed.
16 Figure 11 shows a stone attached to the end of a string with a uniform speed of 2m/s When the stone reaches point X on the circle, the string breaks.

(i) indicate on the diagram with an arrow, the direction of the motion of the stone when the string breaks. (1 mark)
(ii) State the magnitude of the velocity after the string breaks. (1 mark)
(iii) Give a reason for your answers in (i) and (ii). " (1 mark)
(b) Figure 12 shows a lorry towing a trailer using a rope.

The lorry exerts a force N on the trailer and the trailer exerts an equal but opposite force M on the lorry. The frictional force between the trailer and the road is F. Explain how the forces N, M and F enable the trailer to move. (2 marks)
(c) Figure 13 shows a friction less trolley of mass 2kg moving With uniform velocity towards a wall. At the front of the trolley is a spring whose spring constant is 25N/m . The trolley comes to rest momentarily after compressing the spring by 3cm and then rebounds from the wall.

(i) Determine
(ii) the force exerted on the Wall by the spring. (3 marks)
(iii) the maximum acceleration of the trolley as it rebounds from the wall. (3 marks)
(ii) State the reason why the trolley acquires a constant velocity alter it rebounds (2 marks)
17 (a) When the temperature of water reaches the boiling point, bubbles rise to the surface.
(i) State what is contained in the bubbles. (1 mark)
(ii) State the reason why bubbles rise to the surface only at the boiling point. (1 mark)
(b) Figure 14 shows a graph of vapour pressure against the temperature of water vapour, in a laboratory where a mercury barometer indicates a height of 61.8 cm.

(b) (i) Determine the atmospheric pressure in the laboratory in Nm‘2. (Take g = 10m/S2 and density of mercury = 13600 kg/m3). (3 marks:
(ii) Use the graph to determine the boiling point of water in the laboratory. (1 mark)
(c) In an experiment to determine the specific heat capacity of a metal, a 100g of the metal was transferred from boiling water to a lagged copper calorimeter containing cold water. The water was stirred and a final steady temperature was realized. The following data was recorded.
Initial temperature of cold water and calorimeter = 20°C.
Temperature of boiling water = 99°C.
Final temperature of water, calorimeter and the metal = 27 .7"C.
Mass of cold water and calorimeter = 130g.
Mass of calorimeter = 50g.
(Take specific heat capacity of water as 42O0Jkg"K"‘)
(Specific heat capacity of copper as 40OJkg“K"').
Use the data to determine:
(i) the heat gained by the water and the calorimeter; (3 marks)
(ii) the specific heat capacity of the metal. (3 marks)
(d) State one possible source of error in the value of the specific heat capacity obtained in the experiment. (1 mark)
18 (a) Figure 15 shows a metal bolt which is threaded.

Explain how a metre rule can be used to measure the pitch (distance between adjacent peaks) of the threading. (2 marks)
(b) Figure 16 shows a screw jack whose screw has a pitch of 1mm, and has a handle of 25 cm long.

Determine the velocity ratio of the jack. (3 marks)
(c) A bullet of mass 60g travelling at 800ms" hits a tree and penetrates a depth of 15 cm before coming to rest.
(i) Explain how the energy of the bullet changes as it penetrates the tree. (1 mark)
(ii) determine the average retarding force on the bullet. (3 marks)
19 (a) State the condition necessary for a body to float in a fluid. ( 1 mark)
(b) A ship made of steel is observed to float on water yet the density of steel is approximately eight times that of water. Explain this observation. (2 marks)
(c) Figure 17 shows three stages of an experiment to determine relative density of cork which normally floats on water. To make it sink, a sinker is hung below the cork.

In (I) a spring balance is used to measure the weight W of the cork in air.
in (ll) the spring balance is used to measure the apparent weight W 1, when only the sinker is submerged in water.
In (III) the spring balance is used to measure the apparent weight W2 when both the cork and the sinker are submerged.
The following observations were made.
W = 0.08N
W‘ = O.60N
W2 = O.28N
Use this information to determine the:
(i) upthrust on cork. (2 marks)
(ii) relative density of cork. (3 marks) (d) Figure 18 shows parts of a simple submarine, a ship that can travel both on Water and under water.
To do this water is pumped in or out of the ballast tanks.

Explain how the tanks are used to change the depth of the submarine. (2 marks)
2.2.1 Physics Paper 2 (232/2)
SECTION A (25 marks)
Answer all the questions in this section in the spaces provided.
1 Figure 1, shows an object placed in front of a plane mirror.

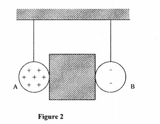
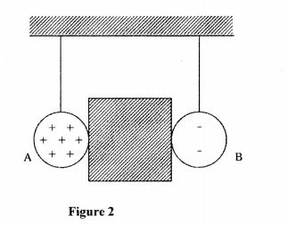
2 Figure 2, shows two identical pithballs A and B suspended with insulated threads. They z separated by an insulator X. A is positively charged while B is negatively charged. The quantity of charge on A is three times the quantity of charge on B.

Sketch on the space besides the figure, the final position of the pithballs after the insulator removed. (1 mark)
3 Figure 3, shows a voltmeter connected across two charged parallel plates.

When a thin sheet of mica is inserted between the plates, the voltmeter reading is observed to reduce. Explain this observation. (3 marks)
Figure 4, shows the cross-section of a dry cell. Use the information on the figure to answer questions 4 and 5.

4 Name the parts labelled A and B. (2 marks)
5 State the use of the manganese (IV) oxide in the cell. (1 mark)
6 One method of producing a weak magnet is to hold a steel rod in the North South direction and then hammer it continuously for some time. Using the domain theory of magnetism explain how this method works. (2 marks)
Figure 5, shows a motor connected to a magnetic switch called a relay operated by an ordinary switch S1. Use the information in the figure to answer questions 7 and 8.

7 Explain how the relay switches on the motor when S1 is closed.(3 mark)
8 State with a reason the effect on the motor, if the iron core is replaced with a steel core and switch S, is put on and then off.(2marks)
9 Figure 6, shows standing waves on a string. It is drawn to a scale of 1:5

(a) Indicate on the diagram the wavelength of the standing wave. (1 mark)
(b) Determine the wavelength of the wave.(1 mark)
10 Figure 7 , shows two rays of light incident normally on face PQ of a glass prism, whose critical angle is 42°.

Complete the diagram to show the paths of the two rays as they pass through the prism. (3 marks)
11 A 4Q resistor is connected in series to a battery of e.m.f 6V and negligible internal resistance. Determine the power dissipated by the resistor. (2 marks)
12 Table l shows radiations and their respective frequencies.

Arrange the radiations in the order of increasing energy. (1 mark)
13 State the reason why electrical power is transmitted over long distances at very high voltages. (1 mark)
14 State the meaning of the term “threshold frequency" as used in photoelectric emission. (1 mark)
SECTION B (55 marks)
Answer all the questions in this section in the spaces provided.
15 (a) Figure 8, shows a graph of potential difference V (volts) against a current 1 (amperes) for a certain device.

From the graph:
(i) state with a reason whether or not the device obeys ohms law. (2 marks)
(ii) determine the resisttmce of the device at;
(ii) I = 1.5A (2 marks)
(iii) l = 3.5A (2 marks)
(iv) From the results obtained in -(ii) state how the resistance of the device varies as the current increases. (1 mark)
(iv) State the cause of this variation in resistance. (1 mark)
(b) Three identical dry cells each of e.m.f. 1 .6V are connected in series to a resistor of 11.49. A current of 0.32A flows in the circuit. Determine:
(i) the total e.m.f. of the cells; (1 mark)
(ii) the internal resistance of each cell: (3 mark)
16 (a) State the meaning of the term “principal focus” as applied in lenses. (1 mark)
(b) You are provided with the following apparatus to determine the focal length of a lens:
- a biconvex lens and lens holder.
- a lit candle.
- a white screen.
- a metre rule
(i) Draw a diagram to show how you would arrange the above apparatus to determine the focal length of the lens (1 mark)
(ii) Describe the procedure you would follow. (1 mark)
(iii) State two measurements that you would take. (2 marks)
(iv) Explain how the measurements in (m) would be used to determine the focal length. (2 marks)
(c) An object is placed 30cm in front of a concave lens of focal length 20cm. Determine the magnification of the image produced. (4 marks)
17 (a) State what is meant by the term “electromagnetic induction”. (1 mark)
(b) Figure 9, shows a simple electric generator

(i) Name the parts labelled P and Q. (2 marks)
P ................
Q ................
(ii) Sketch on the axes provided, a graph to show how the magnitude of the potential difference across R, changes with the time t. (1 mark)

(iii) State two ways in which the potential difference produced by such a generator can be increased. (2 marks)
(c) In a transformer, the ratio of primary turns to the secondary turns is 1:10. A current of 500mA flows through a 20052 resistor in the secondary circuit.
Assuming that the transformer is 100% efficient, determine:
(i) the secondary voltage; (1 mark)
(ii) the primary voltage; (2 marks)
(iii) the primary current. (2 marks)
18 (a) State two differences between cathode
(b) Figure 10, shows the main features of a cathode ray oscilloscope (CRO).

(i) Name the pans labelled M and N.(2 marks)
N ................
M..................
rays and electromagnetic radiations.
(ii) Explain how electrons are produced in the tube. (2 marks)
(iii) When using the CRO to display wave forms of voltages, state where the following should be connected: (i) the voltage to be displayed on the screen; (1 mark)
(ii) the time base voltage. (1 mark)
(iii) state why the tube is highly evacuated. (1 mark)
(c) Figure 11, shows the waveform of a voltage displayed on the screen of a CRO. The Y-gain calibration was 5V per cm.

(i) Determine the peak-to-peak voltage of the Y~input.(1 mark)
(ii) Sketch on the same figure the appearance of the waveform after the voltage of the input signal is halved and it’s frequency is doubled. (2 marks)
19 (a) When a radiation was released into a diffusion cloud chamber, short thick tracks were observed. State with a reason. the type of radiation that was detected. (2 marks)
(b) The half-life of an element X is 3.83 days. A sample of this element is found to have an activity rate of 1.6 x 103 disintegrations per second at a particular time.
Determine its activity rate after 19.15 days. (2 marks)
(c) State what is meant by an extrinsic semiconductor. (1 mark)
(d) Figure 12, shows a depletion layer in an unbiased p-n junction.

State how a battery can be used to make the depletion layer narrower. (1 mark)
(e) Figure 13, shows an incomplete circuit of a full wave rectifier.

(i) Draw in the figure two more diodes to complete the circuit. (2 marks)
(ii) Show on the figure the points across which the output of the rectifier should obtained. (1 mark)
2.23 Physics Paper 3 (232/3)
Question 1
Part A
You are provided with the following:
- a voltmeter
- a resistance wire labelled P mounted on a metre rule.
- a resistance wire labelled Q mounted on a piece of carton.
- 2 dry cells and a cell holder.
- 6 connecting wires, each with a crocodile clip atone end.
- a switch.
Proceed as follows:
(a) Place the dry cells in series in the cell holder. Measure and record the total emf Eo of the cells.
Eo = ------------V (1 mark)
(b) Connect the circuit as shown in figure 1.

O is a point on P at the 50cm mark of the metre rule. A and B are points on P such thatAO = OB = X.
(c) Adjust the positions of the crocodile clips A and B on P such that AO = OB = X = 25cm. Close the switch. Read and record the potential difference (V) across A0 in table 1.
(d) Repeat part (c) for other values of X shown in table 1 and complete the table. (5 marks)


(O Determine the slope S of the graph‘ (3 marks)
(g) Use the slope to determine the constant h, given that h = -figii. (2 marks)
Part B
You are provided with the following:
- a soft drawing board.
- a semicircular glass block.
- three drawing pins.
~ a white paper.
- a liquid labelled L.
- a dropper.
Proceed as follows:
(h) Place the white paper on the drawing board. Place the semicircular glass block on the paper and trace its outline using a pencil.
(i) At the centre of the straight edge of the outline mark a point O. Also mark a point X approximately at the centre of the curved edge of the outline as shown in the figure 2.

(j) Place the semicircular glass block on the outline. Push a drawing pin vertically through O into the drawing board. Ensure the pin is in contact with the glass block. Using a dropper, place two or three drops of liquid L on the pin, so that the liquid flows down the pin forming a thin film between the pin and the vertical face of the glass block.
(k) View the image of the pin from point X through the glass block and move the eye round the curved surface to the right side of X until the image of the pin just disappears from view. (see figure 3)

Using a second pin locate and mark a point N on the curved outline at the point where the image just disappears.
(l) Repeat part (k) with the eye moving to the left side of X. Locate and mark the point M on the curved outline where the image just disappears from view.
(m) Draw the lines OM and ON on the outline.
(n) (i) Measure and record angle MON. (2 marks)
Question 2
Part A
You are provided with the following:
' a 100ml glass beaker.
- a weighing balance (to be shared).
' a liquid labelled L.
- a measuring cylinder.
; Proceed as follows:
(a) Measure and record the mass M1 of the empty beaker.
M1 ......................... ..g (1 mark)
A (b) Measure and pour 2ml of liquid L into the beaker. Measure and record the mass M2
of the beaker + liquid L.
M2 .............................. ..g (1 mark)
(c) Determine the density d of the liquid L. (2 marks)
d = ................................
Part B
You are provided with the following:
- a retort stand, boss and clamp.
- 2 boiling tubes.
- a thermometer.
- some distilled water in a beaker labelled W.
- some liquid in a beaker labelled L.
- a large beaker containing some water.
- a measuring cylinder.
- a stopwatch.
- a tripod stand and wire gauze.
- a cardboard with a hole in the middle.
- a burner.
Proceed as follows:
(d) Clamp one boiling tube on the retort stand. Measure and pour 45ml of the distilled
Water (W) into the boiling tube. Set up the apparatus as shown in figure 4.
(e) Heat the water in the large beaker until the temperature of the distilled water reaches
‘ 85°C. Remove the boiling tube from the hot water by lifting up the retort stand and
‘ placing it a way from the burner.
(f) Stir the water in the boiling tube using the thermometer. Record in the table 2 the
. temperature of the distilled water at intervals of 30 seconds starting at 80°C until it drops
to 60°C. (Stir the distilled water before taking any reading).
(g) Using the second boiling tube, repeat the procedure in (d), (e) and (O using 45ml of
liquid L instead of distilled water. Record your results in the same table. (4 marks)
(h) Using the same axes on the grid provided, plot a graph of temperature (y - axis) against
time for 1
(i) distilled water W. (5 marks)
(ii) liquid L. (3 marks)
(Lable the graphs of L and W).
imageeecalculations
10.2 Physics Paper 2 (232/2)
1.
Object lmage
§“<
I
\
\
\ 1/
\ 1
x r
\ I
\ 1
\ 1
\ 1
» /
\ 1
s1
~.
Figure 1
Figure l
Image (lateral inversion); (1 mark)
(accept full line)
2 .
W // %
++
+++
++
A B
Figure 2
Pithballs repelling (1 mark)
3. Mica raises capacitance; hence lower potential difference; since V = Q/C but Q is constant.
4. A = Carbon rod (+); (l mark)
B = Manganese (VI) oxide (1 mark)
5. Manganese (IV) oxide is a depolarizer/oxiding agent; (1 mark)
» 6. Hammering causes domains/domains to vibrate;
As they settle, some face North South due to earth’s magnetic field;
(2 mark)
7. When S is closed, current flows in solenoid magnetizing the iron core; this attracts the iron
armature closing the contacts; this causes current to flow in the motor circuit;
Motor keeps running continuously; (3 marks)
339
=
WU zasigme 3zl1=a»$m€aei; Q
5
II.
8. Steel would remain permanently magnetized causing current in mortor circuit to remain (
when S is open. 1
9. (a)
z .
I l
~
I
new
‘ ,
‘ 1 1
1 ; §
............. -_,_ \ .
Figure 3 Any two correct vertical lines
(1
(b) 2.5%: 10 X 5
19 7»=20 cm; (1
10.
P
Q
ke
20 R Figure 4
Figul'e4 (31
ll.
_K
P R
Z 6><6
4 <2‘
= 3-6 =9W
21 4
(b 12. Radiowaves Microwaves Yellow light Gamma rays;
( 1
13. High voltage leads to low current hence low power (PR) losses; (1
l4. The minimum frequency of an incident radiation to cause emission of photo electrons.
(1
340
WU gfipwana Eeflgmfibeas Q
!
l
’ SECTION B
15. (a)
ii (i) Does not obey ohm’s law;.
Graph is non-linear i.e. current is not directly proportional to p.d.;
fl (ii) at 1= 1.5A .
R = gradient of tangent at I
_ 9.2 - 4.8
_ 3.6 — 0.1
P9!“
£l'|r|>
= 1.269101;
‘ at I= 3.5A
l R = gradient of tangent at I
_ 9.4-7.2
_ 5.4- 1.5
ww
\Ol\)
= O.56Qi 0.1 ;
(m) R decreases as I increases;
(iv) Change (increase) in temperature;
(b) (i)
(ii)
vW=1.6+1.a+1.6=4.sv=E;
Let r to be the combined internal resistance
Using E = I(R +r);
4.8 = 0.32 (11.4 + r);
for one cell, r =
= 1.29
(1 mark)
(1 mark)
(2 marks)
(2 marks)
(l mark)
(1 mark)
(l mark)
(3 marks)
* 16. (a) The point at which rays close to and parallel to the principal axis converge or seem to
diverge from after striking the lens;
(b) (i)
341
l __ ' ' 1’ . " ' — —-.—_
(1 mark)
z \>\r 2 Er c1 3 =
[VI/Tn/J :51-mgvalnnu ;1]J§:c'
Kenya Scholarships for Undergraduate Students » Kenya Scholarships for Postgraduate Students » Undergraduate Scholarships for Kenyan Students » Kenya Undergraduate Scholarships » Full Undergraduate Scholarships for Kenyans » Kenya Postgraduate Scholarships » Scholarships & Grants » Undergraduate Scholarships » Universities in Kenya » Kenya Universities and Colleges Central Placement Service (KUCCPS) » Colleges in Kenya » KASNEB Registration & Results » Secondary Schools Scholarships in Kenya » Undergraduate & Graduate Scholarships for Kenyans
Scholarships for African Students » Undergraduate Scholarships » African Women Scholarships & Grants » Developing Countries Scholarships » Erasmus Mundus Scholarships for Developing Countries » Fellowship Programs » Funding Grants for NGOs » Government Scholarships » LLM Scholarships » MBA Scholarships » PhD and Masters by Research Scholarships » Public Health Scholarships - MPH Scholarships » Refugees Scholarships » Research Grants » Scholarships and Grants
Scholarships in Australia » Scholarships in Belgium » Scholarships in Canada » Scholarships in Germany » Scholarships in Italy » Scholarships in Japan » Scholarships in Korea » Scholarships in Netherlands » Scholarships in UK » Scholarships in USA
"Pdf" Revision Questions Physics Form 1
"Pdf" Revision Questions Physics Form 2
"Pdf" Revision Questions Physics Form 3
"Pdf" Revision Questions Physics Form 4
"Pdf" Revision Questions Physics Form Four
"Pdf" Revision Questions Physics Form One
"Pdf" Revision Questions Physics Form Three
"Pdf" Revision Questions Physics Form Two
1 a a KCSE Past Papers
10th Grade Physics Questions and Answers
10th Grade Physics Test
11th Ncert Physics
12th Class Physics Book Free Download
2014 KCSE Marking Schemes
2014 Pdf KCSE Past Papers 2015
2015 Physics Essay Questions and Answers Form 4
2016 KCSE Papers
2016 KCSE Prediction Questions
2017 Physics Hsc Answers
2017 KCSE Prediction Questions
2018 Physics KCSE Leakage
2018 Physics KCSE Questions
2018 KCSE Busineness Studies
2018 KCSE Exam
2018 KCSE Leakage
2018 KCSE Prediction Questions
2018 KCSE Questions
2019 Physics KCSE Leakage
2019 Physics KCSE Questions
2019 KCSE Leakage
2019 KCSE Questions
9th Grade Physics Study Guide
A a a Physics Notes
a a a Physics Notes!
a a a PhysicsNotes!
A a KCSE Past Papers
A Biblical View of Social Justice
A Level Physics Biological Molecules Questions
A Level Physics Exam Questions by Topic
A Level Physics Notes Edexcel
A Level Physics Notes Xtremepapers
A Level Physics Past Papers
A Level Physics Questions and Answers
a Level Physics Questions and Answers
A Level Physics Questions and Answers (Pdf)
A Level Physics Questions and Answers Pdf
A Level Physics Questions by Topic Kidney Questions With Markschemes
A Level Physics Revision
A Level Physics Revision Edexcel
A Level Physics Revision Guide
A Level Physics Revision Notes
A Level Physics Revision Notes Pdf
A Level Physics Textbook Pdf
A Level Physics Year 1 / as Aqa Exam Questions by Topic
A Level Edexcel Notes a* Physics
aa Physics Form 3 Questions and Answers
Advance KCSE Past Papers
Advance-africa.com KCSE Rev Quiz
Advantages and Disadvantages.
All Physics Essays
All Physics Notes for Senior Two
All KCSE Past Papers Physics With Making Schemes
All Marking Schemes Questions and Answers
All Past K.c.s.e Questions With Answers
Alliance Mocks 2017
Ap Bio Quizzes
Ap Physics 1 Textbook Pdf
Ap Physics Essay Questions and Answers
Are Sourced From KNEC.
As Level Physics Notes
Atika Physics Notes
Atika School Physics Notes
B/s Book 2 Notes
Basic Physics Books Pdf
basic Physics Interview Questions and Answers Pdf
Basic Physics Interview Questions and Answers Pdf
Basic Physics Pdf
Basic Physics Questions and Answers
Basic Physics Questions and Answers Pdf
Bbc Bitesize Physics Ks3
Bihar Board Physics Objective Answer 2017
Bihar Board Physics Objective Answer 2018
Bio Answers
Bio Quesions
Physics 0478
Physics 101
Physics 12th
Physics 12th Class Notes Pdf
Physics 2019 Syllabus
Physics All KCSE Short Notes
Physics Answers
Physics Answers Online Free
Physics Answers Quizlet
Physics Bk 2 Notes
Physics Book 1
Physics Book 1 Notes
Physics Book 2
Physics Book 2 Notes
Physics Book 3
Physics Book 3 KLB
Physics Book 3 Notes
Physics Book 4
Physics Book 4 Notes
Physics Book 4 Pdf
Physics Book for Class 11
Physics Book Four
Physics Book Four Notes
Physics Book One
Physics Book One Notes
Physics Book Pdf Free Download
Physics Book Three
Physics Book Three Notes
Physics Book Three Pdf
Physics Book Two
Physics Book Two Notes
Physics Books Form Three
Physics Bowl Physics Study Guide
Physics Bowl Questions Physics
Physics Bowl Questions Earth Physics
Physics Bowl Questions Math
Physics Bowl Questions Middle School
Physics Brekthrough Form Two Notes
Physics Class 12 Ncert Solutions
Physics Class 12 Pdf
Physics Communication Syllabus
Physics Diagram Software
Physics Diagrams for Class 11
Physics Diagrams for Class 12
Physics Diagrams for Class 9
Physics Diagrams for Class-10
Physics Diagrams in Form 1
Physics Diagrams in Form 2
Physics Diagrams in Form 3
Physics Diagrams in Form 4
Physics Diagrams Pdf
Physics Diagrams to Label
Physics Essay Questions and Answers
Physics Essay Questions and Answers 2018
Physics Essay Questions and Answers Form 1
Physics Essay Questions and Answers Form 2
Physics Essay Questions and Answers Form 3
Physics Essay Questions and Answers Form 4
Physics Essay Questions and Answers Form 4 Pdf
Physics Essay Questions and Answers Pdf
Physics Essay Revision Q
Physics Essays and Answers
Physics Essays Form One to Form Four
Physics Essays Form One to Form Three
Physics Essays KCSE
Physics Essays Pdf
Physics Exam 1 Multiple Choice
Physics Exam 2 Advance
Physics Exam 2 Test
Physics Exam 2016
Physics Exam Form Four
Physics Exam Form One
Physics Exam Form Three
Physics Exam Form Two
Physics Exam Practice Test
Physics Exam Questions
Physics Exam Questions and Answers
Physics Exam Questions and Answers Pdf
Physics Exam Study Guide
Physics Exams
Physics Excretion Notes
Physics Exercise Form 4 With Answers
Physics Final Exam Answer Key
Physics Final Exam Answer Key 2016
Physics Final Exam Answer Key 2017
Physics Final Exam Answers 2018
Physics Final Exam Answers 2019
Physics Final Exam Questions and Answers
Physics Fom 1 Notes
Physics Fom 2 Notes
Physics Fom 3 Notes
Physics Fom 4 Notes
Physics Form 1
Physics Form 1 & 2 and Answers
Physics Form 1 and 2 Essays
Physics Form 1 and 2 Essays Questions and Answers
Physics Form 1 Chapter 1
Physics Form 1 Diagrams
Physics Form 1 Exams
Physics Form 1 Mid Year Exam
Physics Form 1 Notes
Physics Form 1 Notes and Questions
Physics Form 1 Notes Download
Physics Form 1 Notes Free Download
Physics Form 1 Notes GCSE
Physics Form 1 Notes KCSE-kcse
Physics Form 1 Notes Pdf
Physics Form 1 Notes Pdf Download
Physics Form 1 Past Papers
Physics Form 1 Pdf
Physics Form 1 Pressure
Physics Form 1 Question Papers
Physics Form 1 Questions
Physics Form 1 Questions and Answers
Physics Form 1 Questions and Answers Pdf
Physics Form 1 Quiz
Physics Form 1 Revision Questions
Physics Form 1 Summary Notes
Physics Form 1 Syllabus
Physics Form 1 Work
Physics Form 1-4 Notes
Physics Form 2
Physics Form 2 Chapter 1
Physics Form 2 Chapter 2
Physics Form 2 Diagrams
Physics Form 2 Exam Paper 2014
Physics Form 2 Exams
Physics Form 2 Notes
Physics Form 2 Notes and Questions
Physics Form 2 Notes GCSE
Physics Form 2 Notes KCSE-kcse
Physics Form 2 Notes Pdf
Physics Form 2 Notes Pdf Download
Physics Form 2 Past Papers
Physics Form 2 Pdf
Physics Form 2 Question Papers
Physics Form 2 Questions
Physics Form 2 Questions and Answers
Physics Form 2 Questions and Answers Pdf
Physics Form 2 Quiz
Physics Form 2 Revision Notes
Physics Form 2 Salts
Physics Form 2 Structure and Bonding
Physics Form 2 Summary Notes
Physics Form 2 Syllabus
Physics Form 2 Work
Physics Form 3
Physics Form 3 and 4 Essays
Physics Form 3 and 4 Essays Questions and Answers
Physics Form 3 Chapter 3
Physics Form 3 Classification
Physics Form 3 Diagrams
Physics Form 3 Ecology
Physics Form 3 Exams
Physics Form 3 Notes
Physics Form 3 Notes and Questions
Physics Form 3 Notes GCSE
Physics Form 3 Notes KCSE-kcse
Physics Form 3 Notes Pdf
Physics Form 3 Notes Pdf Download
Physics Form 3 Notes Topic 1
Physics Form 3 Past Papers
Physics Form 3 Pdf
Physics Form 3 Question Papers
Physics Form 3 Questions
Physics Form 3 Questions and Answers
Physics Form 3 Questions and Answers Pdf
Physics Form 3 Questions and Answers Term 3
Physics Form 3 Questions and Answers+pdf
Physics Form 3 Quiz
Physics Form 3 Revision Notes
Physics Form 3 Revision Questions
Physics Form 3 Summary Notes
Physics Form 3 Syllabus
Physics Form 3 Syllabus Pdf
Physics Form 3 Topics
Physics Form 3 Work
Physics Form 4
Physics Form 4 All Chapter
Physics Form 4 Chapter 1 Conversion of Units
Physics Form 4 Chapter 1 Exercise
Physics Form 4 Chapter 1 Exercise and Answers
Physics Form 4 Chapter 1 Exercise Pdf
Physics Form 4 Chapter 1 Mind Map
Physics Form 4 Chapter 2
Physics Form 4 Chapter 2 Exercise and Answers
Physics Form 4 Chapter 2 Exercise Pdf
Physics Form 4 Chapter 2 Experiment
Physics Form 4 Chapter 2 Formula
Physics Form 4 Chapter 2 Mind Map
Physics Form 4 Chapter 2 Momentum
Physics Form 4 Chapter 2 Notes Pdf
Physics Form 4 Chapter 2 Objective Questions and Answers
Physics Form 4 Chapter 2 Paper 2
Physics Form 4 Chapter 2 Slideshare
Physics Form 4 Chapter 3
Physics Form 4 Chapter 3 Questions and Answers
Physics Form 4 Chapter 4
Physics Form 4 Chapter 4 Notes Pdf
Physics Form 4 Chapter 5 Light Questions and Answers
Physics Form 4 Chapter 5 Notes Pdf
Physics Form 4 Diagrams
Physics Form 4 Exam Paper 1
Physics Form 4 Exams
Physics Form 4 Exercise
Physics Form 4 Exercise Pdf
Physics Form 4 Module With Answer
Physics Form 4 Note
Physics Form 4 Notes
Physics Form 4 Notes (Pdf)
Physics Form 4 Notes All Chapter Pdf
Physics Form 4 Notes and Questions
Physics Form 4 Notes Chapter 1
Physics Form 4 Notes Chapter 2
Physics Form 4 Notes Chapter 3
Physics Form 4 Notes Download
Physics Form 4 Notes Free Download
Physics Form 4 Notes GCSE
Physics Form 4 Notes KCSE-kcse
Physics Form 4 Notes Pdf
Physics Form 4 Notes Pdf Download
Physics Form 4 Paper 2 Questions and Answers
Physics Form 4 Past Papers
Physics Form 4 Question Papers
Physics Form 4 Questions
Physics Form 4 Questions and Answers
Physics Form 4 Questions and Answers Pdf
Physics Form 4 Quiz
Physics Form 4 Revision Notes
Physics Form 4 Schemes of Work
Physics Form 4 Summary Notes
Physics Form 4 Syllabus
Physics Form 4 Textbook Pdf
Physics Form 4 Work
Physics Form 5 Chapter 1 Exercise and Answers
Physics Form 5 Chapter 1 Notes Pdf
Physics Form 5 Chapter 2 Notes Pdf
Physics Form 5 Chapter 2 Slideshare
Physics Form 5 Chapter 3 Notes Pdf
Physics Form 5 Notes Pdf
Physics Form Four Book
Physics Form Four Notes
Physics Form Four Notes and Questions
Physics Form Four Notes GCSE
Physics Form Four Notes Pdf
Physics Form Four Past Papers
Physics Form Four Questions
Physics Form Four Questions and Answers
Physics Form Four Questions and Answers Pdf
Physics Form Four Quiz
Physics Form Four Study Notes
Physics Form Four Syllabus
Physics Form Four Topic 2
Physics Form Four Topic 4
Physics Form Four Topics
Physics Form Four Work
Physics Form One
Physics Form One Book
Physics Form One Book Pdf
Physics Form One Download Topic 1 Upto 3
Physics Form One Exam
Physics Form One Notes
Physics Form One Notes and Questions
Physics Form One Notes GCSE
Physics Form One Notes Pdf
Physics Form One Pdf
Physics Form One Questions
Physics Form One Questions and Answers
Physics Form One Questions and Answers Pdf
Physics Form One Questions and Their Answers
Physics Form One Quiz
Physics Form One Revision Question
Physics Form One Schemes of Work
Physics Form One Study Notes
Physics Form One Syllabus
Physics Form One Term Three Test
Physics Form One to Three Notes
Physics Form One Work
Physics Form Three
Physics Form Three Book
Physics Form Three Notes
Physics Form Three Notes and Questions
Physics Form Three Notes GCSE
Physics Form Three Questions and Answers
Physics Form Three Questions and Answers Pdf
Physics Form Three Quiz
Physics Form Three Reproduction
Physics Form Three Reproduction.
Physics Form Three Study Notes
Physics Form Three Work
Physics Form Three-questions and Answers
Physics Form Two
Physics Form Two Book
Physics Form Two Diagrams
Physics Form Two Notes
Physics Form Two Notes and Questions
Physics Form Two Notes GCSE
Physics Form Two Notes Pdf
Physics Form Two Notes-pdf
Physics Form Two Pdf
Physics Form Two Questions
Physics Form Two Questions and Answers
Physics Form Two Questions and Answers Pdf
Physics Form Two Quiz
Physics Form Two Study Notes
Physics Form Two Topics
Physics Form Two Work
Physics Form Two,schemes of Work
Physics Form2
Physics Form2 Textbook
Physics Game Form Four Question End Answers
Physics Grade 10 Exam Papers
Physics Hsc Pdf
Physics Human Reproduction Video
Physics IGCSE Past Papers Xtremepapers
Physics K.c.s.e 2017
Physics KCSE
Physics KCSE 2016
Physics KCSE 2017
Physics KCSE 2017 Paper 1
Physics KCSE Past Papers
Physics KCSE Questions
Physics KCSE Questions and Answer
Physics KCSE Quizzes & Answers
Physics KCSE Revision
Physics KCSE Revision Notes
Physics KCSE Setting Questions Form One and Two
Physics Ksce 2015
Physics Last Year K.c.s.e Questions
Physics Lesson Plan Form Two
Physics Made Familiar
Physics Mcq for Class 11
Physics Mcq for Class 12
Physics Mcq for Competitive Exams
Physics Mcq for Competitive Exams Pdf
Physics Mcq for Neet Pdf
Physics Mcq for Ssc
Physics Mcq Questions With Answers
Physics Mcq With Answers Pdf
Physics Mcqs for Class 12 Pdf
Physics Mcqs With Answers Pdf
Physics Mid Familia Form One
Physics Mock Papers
Physics Module Form 5
Physics Multiple Choice Questions and Answers Cxc
Physics Multiple Choice Questions and Answers Pdf
Physics Multiple Choice Questions With Answers Pdf
Physics Note
Physics Note Form Two All Chapters
Physics Notes
Physics Notes and Guestion and Answear
Physics Notes and Syllabus
Physics Notes Class 10
Physics Notes for Class 11 Pdf
Physics Notes for Class 12 Pdf
Physics Notes for High School Students
Physics Notes for IGCSE 2014
Physics Notes Form 1
Physics Notes Form 1 4
Physics Notes Form 1 Free Download
Physics Notes Form 1 KLB
Physics Notes Form 1 Pdf
Physics Notes Form 1-4
Physics Notes Form 1-4(1) Physics
Physics Notes Form 14
Physics Notes Form 2
Physics Notes Form 2 KLB
Physics Notes Form 2 Pdf
Physics Notes Form 2; Physics Notes
Physics Notes Form 3
Physics Notes Form 3 KLB
Physics Notes Form 3 Pdf
Physics Notes Form 4
Physics Notes Form 4 Chapter 2
Physics Notes Form 4 KLB
Physics Notes Form 4 Pdf
Physics Notes Form 4-pdf
Physics Notes Form Four
Physics Notes Form Four KLB
Physics Notes Form Four Pdf
Physics Notes Form One
Physics Notes Form One KLB
Physics Notes Form One Pdf
Physics Notes Form One to Form Four
Physics Notes Form Three
Physics Notes Form Three KLB
Physics Notes Form Three Pdf
Physics Notes Form Two
Physics Notes Form Two KLB
Physics Notes Form Two Pdf
Physics Notes Form2
Physics Notes IGCSE
Physics Notes Kenya
Physics Notes on Agroforestry
Physics Notes Pdf
Physics Notes:
Physics Objective Answer
Physics Objective Answer 2018
Physics Objective Questions for Competitive Exams
Physics Objective Questions for Competitive Exams Pdf
Physics Oral Exam Questions
Physics Paper 1
Physics Paper 1 2018 Marking Rules
Physics Paper 1 Notes
Physics Paper 1 Questions
Physics Paper 1 Questions and Answers
Physics Paper 1 Topics
Physics Paper 1 With Answers
Physics Paper 2
Physics Paper 2 2017
Physics Paper 2 2018 Marking Rules
Physics Paper 2 Questions and Answers
Physics Paper 2 Questions and Answers Pdf
Physics Paper 2 Revision
Physics Paper 2 Topics
Physics Paper 2018
Physics Paper 3 2018 Marking Rules
Physics Paper 3 Question and Answer
Physics Paper 3 Question Paper 2014 KCSE
Physics Paper 3 Question Paper 2015 KCSE
Physics Paper 3 Question Paper 2016 KCSE
Physics Paper 3 Question Paper 2017 KCSE
Physics Paper 3 Question Paper 2018 KCSE
Physics Paper 3 Questions and Answers
Physics Paper One Questions and Answers
Physics Paper One Topics
Physics Paper Two Qestions With Answers
Physics Paper1
Physics Paper2
Physics Paper3
Physics Paper4
Physics Past Papers
Physics Past Papers 2017
Physics Past Papers a Level
Physics Past Papers Form 1
Physics Past Papers Form 2
Physics Past Papers Form 3
Physics Past Papers O Level
Physics Pdf Download
Physics Pp1 KCSE 2016
Physics Practical Book Class 12 Pdf
Physics Practical Exam
Physics Practicals Form One
Physics Practicals Questions and Answers
Physics Practice Test 9th Grade
Physics Practice Test Answers
Physics Practice Test Questions and Answers
Physics Practice Test Quizlet
Physics Predicted Questions This Year KCSE
Physics Preparation Notes
Physics Pretest High School Pdf
Physics Question and Answer With Explanation
Physics Question and Answers 2019
Physics Question and Answers 2020
Physics Question and Answers 2021
Physics Question and Answers 2022
Physics Question and Answers Note
Physics Questions
Physics Questions and Answers
Physics Questions and Answers for High School
Physics Questions and Answers for High Schools
Physics Questions and Answers for High Schools Pdf
Physics Questions and Answers for Secondary Schools
Physics Questions and Answers Form 1
Physics Questions and Answers Form 2
Physics Questions and Answers Form 3
Physics Questions and Answers Form 4
Physics Questions and Answers Multiple Choice
Physics Questions and Answers Notes
Physics Questions and Answers O
Physics Questions and Answers Online
Physics Questions and Answers Pdf
Physics Questions and Answers Pdf for Class 12
Physics Questions and Answers Pdf for Competitive Exams
Physics Questions and Answers-form 2
Physics Questions for High School
Physics Questions for High School Students With Answers
Physics Questions for Senior 1
Physics Questions for Senior 2
Physics Questions for Senior 3
Physics Questions for Senior 4
Physics Questions for Senior 5
Physics Questions for Senior 6
Physics Questions for Senior Five
Physics Questions for Senior Four
Physics Questions for Senior One
Physics Questions for Senior Six
Physics Questions for Senior Three
Physics Questions for Senior Two
Physics Questions Form One
Physics Questions Multiple Choice
Physics Questions Quizlet
Physics Questions to Ask Your Teacher
Physics Quetion and Answer Form Four
Physics Quetion and Answer Form One
Physics Quetion and Answer Form Three
Physics Quetion and Answer Form Two
Physics Quiz for Class 9
Physics Quiz for Class 9 Physics
Physics Quiz Questions and Answers for Class 10
Physics Quiz Questions and Answers for Class 10 Pdf
Physics Quiz Questions and Answers for Class 12
Physics Quiz Questions and Answers for Class 9
Physics Quiz Questions and Answers for Class 9 Pdf
Physics Quiz Questions and Answers for High School
Physics Quiz Questions and Answers Multiple Choice
Physics Quiz Questions and Answers Pdf
Physics Quiz Questions for Class 12
Physics Quiz Questions for College Students
Physics Quiz With Answers
Physics Quiz With Answers Pdf
Physics Quizlet
Physics Revision
Physics Revision a Level
Physics Revision Physics Notes Physics
Physics Revision Exam
Physics Revision Examination
Physics Revision Form One
Physics Revision Notes
Physics Revision Notes Physics
Physics Revision Notes Form 1
Physics Revision Notes Form 2
Physics Revision Notes Form 3
Physics Revision Notes Form 4
Physics Revision Notes IGCSE
Physics Revision Paper One
Physics Revision Questions
Physics Revision Questions and Answers
Physics Revision Questions and Answers Form 1
Physics Revision Questions and Answers Form 2
Physics Revision Questions and Answers Form 3
Physics Revision Questions and Answers Form 4
Physics Revision Questions and Answers Form Four
Physics Revision Questions and Answers Form One
Physics Revision Questions and Answers Form Three
Physics Revision Questions and Answers Form Two
Physics Revision Questions Form 1
Physics Revision Questions Form 2
Physics Revision Questions Form 3
Physics Revision Questions Form 4
Physics Revision Questions Form Four
Physics Revision Questions Form One
Physics Revision Questions Form Three
Physics Revision Questions Form Two
Physics Revision Quiz
Physics Revision Test
Physics Secondary School Revision
Physics Simple Notes
Physics Spm Notes Download
Physics Spm Notes Pdf
Physics Spm Questions
Physics Study Form 2
Physics Study Guide
Physics Study Guide Answer Key
Physics Study Guide Answers
Physics Study Guide Physics Questions and Answers
Physics Study Guide Ib
Physics Study Guide Pdf
Physics Study Guides
Physics Study Notes
Physics Study Notes Materials Form 1 Pdf
Physics Study Notes Materials Form 2 3 Pdf
Physics Study Notes Materials Form 2 Pdf
Physics Study Notes Materials Form 3 Pdf
Physics Study Notes Materials Form 4 Pdf
Physics Syllabus in Kenya
Physics Syllabus Pdf
Physics Test 1 Quizlet
Physics Test Questions
Physics Test Questions and Answers
Physics Test Questions and Answers Pdf
Physics Topic One Form Four
Physics Topics Form One
Physics Unit 1 Quiz
Physics Vol 3
Physics | Revision Physics
Physics,form 4
Physics.form Four.topic Three
PhysicsExam Form Three
PhysicsModule Form 5
PhysicsNotes
PhysicsNotes for Class 11 Pdf
PhysicsNotes for Class 12 Pdf
PhysicsNotes Form 1
PhysicsNotes Form 1 Free Download
PhysicsNotes Form 2
PhysicsNotes Form 3
PhysicsNotes Form 3 Pdf
PhysicsNotes IGCSE
PhysicsNotes Pdf
PhysicsPast Papers
PhysicsQuestions and Answers Pdf
PhysicsSimple Notes
PhysicsSpm Notes Download
PhysicsSpm Notes Pdf
PhysicsSpm Questions
PhysicsStudy Guide Answers
PhysicsStudy Guide Pdf
PhysicsStudy Guides
Blologytextpapers
Bridge Physics
Business Past KCSE Past Papers
Physics Form 3 Notes Pdf
Physics Form 4 Notes Pdf
C R E Form One KLB
C R E Form One Oli Topic
C.r.e Form 1 Notes Kenya
C.r.e Form 2 Notes Kenya
C.r.e Form 3 Notes
C.r.e Form 3 Notes Kenya
C.r.e Form 3 Pdf
C.r.e Form 4 Notes Kenya
C.r.e Form One Notes Pdf
C.r.e Notes Form 1
C.r.e Revision Notes
C.r.e Short Notes
Cambridge IGCSE Physics
Cambridge IGCSE Physics 3rd Edition
Cambridge IGCSE Physics 3rd Edition Plus Cd South Asia Edition
Cambridge IGCSE Physics Answers
Cambridge IGCSE Physics Coursebook Pdf Download
Cambridge IGCSE Physics Practical Workbook
Cambridge IGCSE Physics Revision Guide Pdf
Cambridge IGCSE Physics Study and Revision Guide 2nd Edition Pdf
Cambridge IGCSE Physics Study and Revision Guide Pdf
Cambridge IGCSE Physics Workbook Free Download
Cambridge IGCSE Physics Workbook Pdf
Cambridge IGCSE® Physics Coursebook
Caucasian Chalk Circle Essay Questions
Chapter 1 Introduction to Physics
Chapter 1 Introduction to Physics Studies
Cie a Level Physics Notes 2016
Cie a Level Physics Notes Pdf
Cie Past Papers
Class 10 Physics Chapter 1 Mcqs
Class 8 Physics Notes KCSE-kcse
College Physics Notes
College Physics Practice Test
College Physics Quiz
College Physics Quiz Chapter 1
College Physics Quizlet
College Physics Study Guide
College Physics Study Guide Pdf
College Physics Test Questions and Answers
College Physics Volume 3 Pdf
College PhysicsNotes
Complete Physics for Cambridge IGCSE
Complete Physics for Cambridge IGCSE Revision Guide Pdf
County Mocks 2017
Cse Past Papers Physics 2017
Dl Physics Form 3 Pdf Kusoma
Download Physics Form 1
Download Physics Form 2
Download Physics Form 2 Notes
Download Physics Form 3
Download Physics Form 3 Notes
Download Physics Form 4
Download Physics Form Four
Download Physics Form One
Download Physics Form Three
Download Physics Form Two
Download Physics Notes Form 3
Download Physics Notes Form One
Download PhysicsNotes Form 3
Download Form Three Physics Notes
Download Free KCSE Past Papers Physics
Download Free KCSE Past Papers From KNEC.
Download KCSE Past Papers With Answers
Download KCSE Revision Notes
Download KLB Physics Book 2
Download KLB Physics Book 3
Download KLB Physics Book 4
Download Notes of Physics
Downloads | Physics | Form Four Exams | Exams
Downloads | Physics | Form One Exams | Exams
Downloads | Physics | Form Three Exams | Exams
Downloads | Physics | Form Two Exams | Exams
Downloads | KCSE Papers and Marking Schemes |
Dvance KCSE Past Papers
Easy Physics Questions
Edexcel a Level Physics B
Edexcel a Level Physics Notes Pdf
Edexcel a Level Physics Salters Nuffield
Edexcel A2 Physics Notes
Edexcel as Physics Revision Guide Pdf
Edexcel Physics A2 Revision Notes Pdf
Edexcel Physics Unit 2 Revision Notes
Edexcel GCSE Physics Revision Guide Pdf
Edexcel IGCSE Physics Past Papers
Edexcel IGCSE Physics Revision Guide Free Pdf Download
Edexcel IGCSE Physics Revision Guide Pdf
Edexcel IGCSE Physics Revision Guide Pdf Download
Electronics Form Four Notes
Energy Questions Physics Bowl
Essay Questions and Answers KCSE Physics Notes
Essay Questions and Answers on Betrayal in the City
Essay Questions Based on Betrayal in the City
Evolving World Physics Book 1 Pdf
Evolving World Physics Book 4 Notes
Evolving World Physics Book Form 1
Evolving World-history Book 3
Exam Notes for Physics 101
Exams KCSE Physics Paper 1 Questions and Answers
F3 Physics Test Paper
Find Download KCSE Past Papers With Answers
Find KCSE Physics Essay Questions and Answers
Form 1 Physics Exam
Form 1 Physics Notes
Form 1 Physics Questions and Answers
Form 1 Physics Questions and Answers Pdf
Form 1 Physics Revision Notes
Form 1 Physics Summurized Revision Pdf
Form 1 Physics Syllabus
Form 1 Physics Test Paper Pdf
Form 1 Physics Topics
Form 1 PhysicsNotes
Form 1 PhysicsQuestions and Answers
Form 1 PhysicsRevision Notes
Form 1 PhysicsSyllabus
Form 1 PhysicsTest Paper Pdf
Form 1 Past Papers
Form 1 Past Papers With Answers
Form 1 Revision Papers
Form 1 Subjects in Kenya
Form 2 Physics Exam
Form 2 Physics Exam Paper
Form 2 Physics Exam Paper 2016
Form 2 Physics Exam Paper Free Download
Form 2 Physics Exam Paper With Answer
Form 2 Physics Final Year Exam Paper 2
Form 2 Physics Notes
Form 2 Physics Notes and Revision Questions
Form 2 Physics Notes Pdf
Form 2 Physics Past Papers
Form 2 Physics Questions
Form 2 Physics Questions and Answers
Form 2 Physics Questions and Answers >
Form 2 Physics Questions and Answers Pdf
Form 2 Physics Revision Notes
Form 2 Physics Short Notes
Form 2 Physics Syllabus
Form 2 PhysicsExam Paper
Form 2 PhysicsExam Paper Free Download
Form 2 PhysicsExam Paper With Answer
Form 2 PhysicsFinal Year Exam Paper 2
Form 2 PhysicsPast Papers
Form 2 PhysicsRevision Notes
Form 2 PhysicsShort Notes
Form 2 PhysicsSyllabus
Form 2 Revision Papers
Form 2 Subjects in Kenya
Form 3 Physics Book
Form 3 Physics Exam
Form 3 Physics Exam Paper
Form 3 Physics Notes
Form 3 Physics Past Papers
Form 3 Physics Questions
Form 3 Physics Questions and Answers
Form 3 Physics Questions and Answers Pdf
Form 3 Physics Revision Notes
Form 3 Physics Syllabus
Form 3 PhysicsExam Paper
Form 3 PhysicsNotes
Form 3 PhysicsPast Papers
Form 3 PhysicsQuestions
Form 3 PhysicsQuestions and Answers Pdf
Form 3 PhysicsRevision Notes
Form 3 PhysicsSyllabus
Form 3 C.r.e
Form 3 Notes of Physics Topic on Fish
Form 3 Past Papers
Form 3 Revision Papers
Form 3 Subjects in Kenya
Form 4 Physics Exam
Form 4 Physics Notes
Form 4 Physics Notes Pdf
Form 4 Physics Questions and Answers
Form 4 Physics Questions and Answers Pdf
Form 4 Physics Revision Notes
Form 4 Physics Syllabus
Form 4 Physics Topics
Form 4 PhysicsNotes
Form 4 PhysicsRevision Notes
Form 4 PhysicsSyllabus
Form 4 PhysicsTopics
Form 4 Exam Papers
Form 4 Revision Papers
Form 4 Subjects in Kenya
Form 5 Physics Topics
Form 5 PhysicsTopics
Form Five Physics Notes
Form Five PhysicsNotes
Form Four Physics Book
Form Four Physics Notes
Form Four Physics Notes Pdf
Form Four Physics Questions and Answers
Form Four Physics Questions and Answers Pdf
Form Four Physics Revision Questions
Form Four Physics Syllabus
Form Four Physics Topics
Form Four PhysicsNotes
Form Four PhysicsQuestions and Answers
Form Four PhysicsQuestions and Answers Pdf
Form Four PhysicsTopics
Form Four Notes
Form Four Revision Papers
Form Four Subjects in Kenya
Form One Physics Book
Form One Physics Examination
Form One Physics First Topic
Form One Physics Lesson Plan
Form One Physics Notes Pdf
Form One Physics Past Papers Pdf
Form One Physics Questions
Form One Physics Questions and Answers
Form One Physics Questions and Answers Pdf
Form One Physics Revision Questions
Form One Physics Short Notes
Form One Physics Syllabus
Form One Physics Topics
Form One PhysicsExamination
Form One PhysicsPast Papers Pdf
Form One PhysicsQuestions and Answers
Form One PhysicsQuestions and Answers Pdf
Form One PhysicsTopics
Form One Exams
Form One Notes of Physics
Form One Past Papers
Form One Subjects in Kenya
Form One Term One Physics Exam
Form One Term One PhysicsExam
Form Three Physics Book
Form Three Physics Book Pdf
Form Three Physics Notes
Form Three Physics Notes Pdf
Form Three Physics Questions and Answers
Form Three Physics Questions and Answers Pdf
Form Three Physics Revision Questions
Form Three Physics Syllabus
Form Three Physics Topics
Form Three PhysicsNotes
Form Three PhysicsNotes Pdf
Form Three PhysicsQuestions and Answers
Form Three PhysicsQuestions and Answers Pdf
Form Three PhysicsTopics
Form Three Subjects in Kenya
Form Two Physics Book
Form Two Physics Cat
Form Two Physics Examination
Form Two Physics Notes
Form Two Physics Notes Pdf
Form Two Physics Past Papers
Form Two Physics Questions and Answers
Form Two Physics Questions and Answers Pdf
Form Two Physics Revision Questions
Form Two Physics Syllabus
Form Two Physics Topics
Form Two PhysicsNotes
Form Two PhysicsNotes Pdf
Form Two PhysicsQuestions and Answers
Form Two PhysicsQuestions and Answers Pdf
Form Two PhysicsSyllabus
Form Two PhysicsTopics
Form Two Notes
Form Two Subjects in Kenya
Free a-level Physics Revision App | Pass Your Physics Exams
Free Physics Form 1 Notes
Free Physics Notes Form 1
Free Physics Notes Pdf
Free PhysicsNotes Pdf
Free College Physics Practice Test
Free Form1,form2,form3 Past Papers Free KCSE Past Papers
Free KCSE Mocks 2015
Free KCSE Past Papers 2014
Free KCSE Past Papers KCSE Past
Free KCSE Past Papers Kenya,
Free KCSE Past Papers With Answers
Free KCSE Questions and Answers on Physics
Free KCSE Revision Notes
Free Marking Schemes
Free Mocks Online KCSE Answers Past Exams Question Papers
Free Revision Papers
From Three Notes Topic One KLB
Fun Physics Questions
Funny Physics Questions
Funny Physics Questions and Answers
Funny Physics Questions to Ask
Funny Physics Quotes
GCSE Physics Exam Questions and Answers
GCSE Physics Past Papers
GCSE Physics Revision
GCSE Physics Revision Notes
GCSE Physics Revision Notes Pdf
GCSE Physics Revision Notes Pdf 9-1
GCSE Physics Revision Questions and Answers
GCSE Physics Textbook Pdf
GCSE Physics Topics Pass My Exams: Easy Exam Revision Notes
Home Physics Notes Pdf
Home Physics Practice Test With Answers
Home Physics Quiz
Home Physics Quiz Pdf
Home Physics Test Questions and Answers
Home Physics Test Questions and Answers Pdf
Home Knowledge in Physics Human Body
Good Physics Questions to Ask
GRE Physics Practice Test
GRE Physics Subject Test Pdf
Handbook of Physics Pdf Free Download
Hard Physics Questions
Hard Physics Questions and Answers
Hard Physics Questions to Ask Your Teacher
Hard Physics Quiz Questions
Hard Form 3 Physics Question
High School Physics Final Exam Doc
High School Physics Final Exam Pdf
High School Physics Final Exam Questions
High School Physics Final Exam Questions and Answers
High School Physics Notes
High School Physics Practice Test
High School Physics Pretest With Answers
High School Physics Questions and Answers Pdf
High School Physics Study Guide
High School Physics Test Questions and Answers Pdf
High School PhysicsNotes
High School PhysicsStudy Guide
How to Answer KCSE Physics Question
How to Motivate a Form 4 Student
How to Motivate a KCSE Candidate
How to Motivate a KCSE Student
How to Pass Physics Questions & Answers Form 1&2 | Text Book
How to Revise Physics
How to Revise Effectively for KCSE
How to Study Physics: 5 Study Techniques to Master Physics
Hsc Physics 2018
Hsc Physics 2019
Https://www.knec.ac.ke/ Www.knec-portal.ac.ke/ KNEC Portal:
Ial Physics Notes
Ib Physics Cold War Notes
Ib Physics Notes
Ib Physics Notes Pdf
Ib Physics of the Americas Notes
Ib Physics of the Americas Study Guide
Ib Physics Paper 2 Study Guide
Ib Physics Question Bank by Topic
Ib Physics Study Guide Pdf
Ict Notes Form 1
IGCSE Physics Alternative to Practical Revision
IGCSE Physics Alternative to Practical Revision Notes
IGCSE Physics Book
IGCSE Physics Book Pdf Download
IGCSE Physics Notes
IGCSE Physics Notes 2017 Pdf
IGCSE Physics Notes Edexcel
IGCSE Physics Paper 2 Notes
IGCSE Physics Paper 6 Notes
IGCSE Physics Past Papers
IGCSE Physics Past Papers 2014
IGCSE Physics Past Papers 2017
IGCSE Physics Pdf
IGCSE Physics Pre Release Material 2018
IGCSE Physics Resources
IGCSE Physics Revision Guide
IGCSE Physics Revision Guide Free Download
IGCSE Physics Revision Guide Pdf Download
IGCSE Physics Revision Notes Pdf
IGCSE Physics Revision Worksheets
IGCSE Physics Workbook Pdf
IGCSE Physics Znotes
IGCSE PhysicsPast Papers
IGCSE Notes Physics
Importance of Agroforestry
Inorganic Physics Multiple Choice Questions With Answers Pdf
Inorganic Physics Questions and Answers Pdf
Interesting Physics Questions
Interesting Physics Questions and Answers
Interesting Questions to Ask About Physics
Intro to Physics Quiz
Introduction of Physics Form One
Introduction to Physics
Introduction to Physics Notes
Introduction to Physics Pdf
Introduction to PhysicsNotes
Is Agroforestry Sustainable?
K.c.s.e Answers Physics Paper One 2018
K.c.s.e Physics 2017
K.c.s.e Physics 2018
K.c.s.e Physics Paper 1 2017
K.c.s.e Mocks 2018
K.c.s.e Papers 2015
K.c.s.e Papers 2016
K.c.s.e Past Papers 2014
K.c.s.e.Physics Paper 2 Year 2018
K.c.s.e.results 2018 for Busia County
K.l.b Physics Form 3
K.l.b Physics Notes
K.l.b PhysicsNotes
Kasneb Past Papers for Colleges Physics Past Papers
KCSE 2010 Marking Scheme
KCSE 2010 Past Papers
KCSE 2011 Physics Paper 1
KCSE 2011 Marking Scheme
KCSE 2012 Physics Paper 2 Marking Scheme
KCSE 2012 Marking Schemes
KCSE 2013 Physics Paper 1
KCSE 2013 Marking Scheme
KCSE 2013 Marking Scheme Pdf
KCSE 2014
KCSE 2015 Physics Paper 2
KCSE 2015 Physics Paper 3
KCSE 2015 Marking Scheme
KCSE 2015 Past Papers
KCSE 2016 Physics Paper 1
KCSE 2016 Physics Paper 2
KCSE 2017 Physics Paper 1
KCSE 2017 Physics Paper 2
KCSE 2017 Hostory Papers With Answers.com
KCSE 2017 Marking Scheme
KCSE 2017 Papers
KCSE 2017 Papers and Marking Scheme
KCSE 2017 Papers Pdf
KCSE 2017 Past Papers
KCSE 2017 Prediction Pdf
KCSE 2018 Physics and Answers
KCSE 2018 Physics Prediction
KCSE 2018 Leakage
KCSE 2018 Marking Scheme
KCSE 2018 Papers
KCSE 2018 Prediction Pdf
KCSE 2018 Predictions
KCSE 2018 Questions
KCSE 2018 Questions and Answers
KCSE 2019 Leakage Physics
KCSE 2019 Marking Scheme
KCSE 2019 Questions
KCSE 2019 Questions and Answers
KCSE 2020 Questions
KCSE 2020 Questions and Answers
KCSE Answers
KCSE Answers Past Exams Question Papers Downloads |
KCSE Physics 2011
KCSE Physics 2016
KCSE Physics Diagramsbiology Revision Tips
KCSE Physics Essay Questions and Answers
KCSE Physics Essay Questions and Answers Pdf
KCSE Physics Essays
KCSE Physics Essays Pdf
KCSE Physics Marking Schemes
KCSE Physics Notes
KCSE Physics Notes Pdf
KCSE Physics Notes, Syllabus, Questions, Answers
KCSE Physics Paper 1
KCSE Physics Paper 1 2011
KCSE Physics Paper 1 2012
KCSE Physics Paper 1 2013
KCSE Physics Paper 1 2015
KCSE Physics Paper 1 2016
KCSE Physics Paper 1 2017
KCSE Physics Paper 1 2017 Pdf
KCSE Physics Paper 1 Questions and Answers
KCSE Physics Paper 2
KCSE Physics Paper 2 2012
KCSE Physics Paper 2 2012 KCSE Physics Paper 2 2015
KCSE Physics Paper 2 2013
KCSE Physics Paper 2 2014
KCSE Physics Paper 2 2015
KCSE Physics Paper 2 2016
KCSE Physics Paper 2 2017
KCSE Physics Paper 3
KCSE Physics Paper 3 2012
KCSE Physics Paper 3 2016
KCSE Physics Paper 3 2017
KCSE Physics Paper 3 Past Papers
KCSE Physics Past Papers
KCSE Physics Past Papers and Answers
KCSE Physics Past Papers Pdf
KCSE Physics Practical
KCSE Physics Practical 2015
KCSE Physics Practical 2016
KCSE Physics Practical Past Papers
KCSE Physics Practicals
KCSE Physics Practicals KCSE Physics Paper 1
KCSE Physics Question and Answer
KCSE Physics Questions and Answers
KCSE Physics Questions and Answers Ap Physics
KCSE Physics Revision
KCSE Physics Revision Notes
KCSE Physics Revision Papers
KCSE Physics Revision Questions
KCSE Physics Revision Questions and Answers
KCSE Physics Syllabus
KCSE PhysicsNotes
KCSE PhysicsPaper 1
KCSE PhysicsPaper 2
KCSE PhysicsPaper 2 Pdf
KCSE PhysicsSyllabus
KCSE Business Paper 1 2016
KCSE Business Past Papers
KCSE Physics Past Papers
KCSE Essay Questions in Betrayal in the City
KCSE Essays
KCSE Exam Papers 2018
KCSE Exam Papers Answers
KCSE Form 1 Physics Revision
KCSE Form 2 Physics Revision
KCSE Form 3 Physics Revision
KCSE Form 4 Physics Revision
KCSE Form Four Physics Revision
KCSE Form One Physics Revision
KCSE Form Three Physics Revision
KCSE Form Two Physics Revision
KCSE KCSE Past Papers KNEC
KCSE Leakage
KCSE Leakage Physics
KCSE Made Familiar Physics
KCSE Made Familiar Physics Pdf
KCSE Marking Scheme 2016
KCSE Marking Schemes
KCSE Marking Schemes 2017
KCSE Marking Schemes Pdf
KCSE Mock Exams
KCSE Mock Papers 2015
KCSE Mock Papers 2017
KCSE Mock Papers 2018
KCSE Mock Papers Pdf
KCSE Mock Papers Pdf 2018
KCSE Mock Papers Pdf KCSE Past Papers
KCSE Mocks 2017
KCSE Mocks 2018
KCSE Notes
KCSE Online Notes
KCSE Online Past Papers
KCSE Online Registration
KCSE Papers 2015
KCSE Papers and Marking Schemes | Exams
KCSE Past Papers
KCSE Past Papers 2007
KCSE Past Papers 2009
KCSE Past Papers 2010
KCSE Past Papers 2011
KCSE Past Papers 2011 Pdf
KCSE Past Papers 2012
KCSE Past Papers 2013
KCSE Past Papers 2013knec
KCSE Past Papers 2014
KCSE Past Papers 2014 Pdf
KCSE Past Papers 2015
KCSE Past Papers 2015 Marking Schemes
KCSE Past Papers 2015 Pdf
KCSE Past Papers 2016
KCSE Past Papers 2016 Pdf
KCSE Past Papers 2017
KCSE Past Papers 2017 Pdf
KCSE Past Papers 2018
KCSE Past Papers Physics
KCSE Past Papers Physics and Answers
KCSE Past Papers Physics Pdf
KCSE Past Papers Physics With Answers
KCSE Past Papers Physicsand Answers
KCSE Past Papers Physics and Answers
KCSE Past Papers KCSE and Answers
KCSE Past Papers KCSE and Answers Free Mocks Online
KCSE Past Papers Marking Scheme
KCSE Past Papers Pdf Download
KCSE Past Papers Pdf Download KCSE 2013
KCSE Past Papers With Answers
KCSE Past Papers Woodwork and Answers
KCSE Prediction 2017
KCSE Prediction 2018
KCSE Prediction 2018 Pdf
KCSE Prediction Papers 2018
KCSE Prediction Questions
KCSE Prediction Questions 2018
KCSE Prediction Questions and Answers
KCSE Questions
KCSE Questions and Answers
KCSE Questions and Answers.
KCSE Questions on Physics
KCSE Results, Online Registration, KCSE Result Slip.
KCSE Revision
KCSE Revision Notes
KCSE Revision Notes Physics
KCSE Revision Notes Pdf
KCSE Revision Papers
KCSE Revision Papers 2014
KCSE Revision Papers With Answers
KCSE Revision Question for Physics
KCSE Revision Questions
KCSE Revision Questions and Answers
KCSE Revision | Secondary School | Text Books | Text Book Centre
KCSE Syllabus Pdf
KCSE Trial 2017
KCSE Trial Exams 2017
Kenya Secondary School Physics Syllabus
Kenya Secondary School Physics Syllabus Pdf
Kenya Secondary School PhysicsSyllabus Pdf
Kenya Secondary School Syllabus Pdf
Kenya-kcse-christian Religious Education Syllabus
Kenyaplex KCSE Past Papers
Kenyaplex Past Papers for Secondary
KLB Physics Book 1 Download
KLB Physics Book 1 Notes
KLB Physics Book 1 Pdf
KLB Physics Book 2
KLB Physics Book 2 Notes
KLB Physics Book 2 Notes Pdf
KLB Physics Book 2 Pdf
KLB Physics Book 3 Notes
KLB Physics Book 3 Pdf
KLB Physics Book 3 Pdf Download
KLB Physics Book 4 Notes
KLB Physics Book 4 Pdf
KLB Physics Book 4 Pdf Download
KLB Physics Book 4 Topics
KLB Physics Book One
KLB Physics Form 1
KLB Physics Form 1 Notes
KLB Physics Form 1 Pdf
KLB Physics Form 2
KLB Physics Form 2 Book
KLB Physics Form 2 Notes
KLB Physics Form 2 Pdf
KLB Physics Form 2 Pdf Download
KLB Physics Form 2 Schemes of Work
KLB Physics Form 3
KLB Physics Form 3 Notes
KLB Physics Form 3 Notes Pdf
KLB Physics Form 3 Pdf
KLB Physics Form 3 Pdf Download
KLB Physics Form 4
KLB Physics Form 4 Notes
KLB Physics Form 4 Pdf
KLB Physics Form Four
KLB Physics Form Four Notes
KLB Physics Form One
KLB Physics Form One Notes
KLB Physics Form Three
KLB Physics Form Three Notes
KLB Physics Form Two
KLB Physics Form Two Notes
KLB Physics Notes
KLB Physics Notes Form 4
KLB Physics Pdf
KLB PhysicsNotes
KLB PhysicsNotes Form 4
KLB PhysicsPdf
KNEC Physics Syllabus
KNEC Examiners Portal KNEC Website
KNEC Ict Past Papers
KNEC Past Papers for Colleges
KNEC Past Papers Free Download
KNEC Past Papers Free Downloads
KNEC Past Papers Pdf
KNEC Portal Confirmation
KNEC Portal KCSE Results
KNEC Portal KNEC Past Papers for Colleges Kasneb Past Papers
KNEC Revision Papers
KNEC Technical Exams Past Papers
Kusoma Physics Notes
Kusoma Physics Notes Pdf
Kusoma Notes Physics
Kusoma.co.ke
Kusoma.com Past Papers
Learner Guide for Cambridge IGCSE Physics
Longhorn Physics Book 3 Pdf
Made Familiar Physics
Made Familiar Physics Pdf
Made Familiar Physics Questions
Maktaba Tetea Notes
Marking Scheme KCSE Physics Past Papers
Math Form2 Note
Mcqs About Gaseous Exchange
Middle School Physics Bowl Physics Questions
Mock Past Papers 2017
Mock Past Papers With Answers
Mokasa Mock 2017
More Than 1800 Physics Questions and Answers to Help You Study
Multiple Choice Questions on Physics
Necta Physics Past Papers
Necta Physics Practicals
Necta PhysicsPast Papers
Necta PhysicsPracticals
Necta Form Four Past Papers
Necta Past Papers Form 4
Necta Past Papers Form 4 2016
Necta Past Papers Form Six
Necta Past Papers Form Two
Necta Questions and Answers
Necta Review Questions
Notes Physics Form 1
Notes Physics Form 2
Notes Physics Form 3
Notes Physics Form 3 Notes Pdf
Notes Physics Form 3 Syllabus
Notes Physics Form 4 Syllabus
Notes on Physics Studies
Notes Za Physics 4m 2
Notes Za Physics Form One
Notes Za Physics Form Three
O Level Physics Practical Experiments
O Level Physics Questions and Answers Pdf
Orm Three Physics Notes
Page Navigation
Papacambridge Physics IGCSE
Papers KNEC KCSE Online Past
Papers KNEC KCSE Results Past Papers
Past KCSE Papers
Past Paper Questions by Topic Physics
Past Papers 2014
Past Papers in Kenya
Pdf Physics Form 3
Pdf Physics Notes
Pdf Physics Notes Form 1
Pdf Physics Notes Form 2
Pdf Physics Notes Form 3
Pdf Physics Notes Form 4
Pdf Physics Notes Form Four
Pdf Physics Notes Form One
Pdf Physics Notes Form Three
Pdf Physics Notes Form Two
Pdf Form 1 Physics Questions and Answers
Pdf Form 2 Physics Questions and Answers
Pdf Form 3 Physics Questions and Answers
Pdf Form 4 Physics Questions and Answers
Pdf Form Four Physics Questions and Answers
Pdf Form One Physics Questions and Answers
Pdf Form Three Physics Questions and Answers
Pdf Form Two Physics Questions and Answers
Pdf Free KCSE Past Papers and Marking Schemes
Pdf" Revision Questions Physics Form 1
Practical Physics Experiments Pdf
Practical Physics Question and Answer Pdf
Pre Mocks 2018
Preliminary Physics
Primary and Secondary Tillage Implements Ppt
Pte KNEC Past Papers
Questions and Answers Pdf Physics Form 1
Questions and Answers Pdf Physics Form 2
Questions and Answers Pdf Physics Form 3
Questions and Answers Pdf Physics Form 4
Questions and Answers Pdf Physics Form Four
Questions and Answers Pdf Physics Form One
Questions and Answers Pdf Physics Form Three
Questions and Answers Pdf Physics Form Two
Questions Based to Introduction to Physics
Questions on Gaseous Exchange in Humans
Questions on Introduction to Physics
Questions to Ask in Physics Class
Questions to Confuse Your Physics Teacher
Quizlet Physics Test
Quizlet Test Questions
Qustions in Physics and Answers
Revision
Revision Physics Notes and Questions?
Revision Quiz for Physics for Form Three
S.1 Physics Questions
S.2 Physics Questions
S.3 Physics Questions
S.4 Physics Questions
Sample Essays on Betrayal in the City
School Physics Notes
Secondary Physics Notes
Secondary Physics Notes Pdf
Secondary PhysicsNotes Pdf
Senior 1 Physics Notes
Senior 2 Physics Notes
Senior 3 Physics Notes
Senior 4 Physics Notes
Senior 5 Physics Notes
Senior 6 Physics Notes
Senior Five Physics Notes
Senior Four Physics Notes
Senior One Physics Notes
Senior Six Physics Notes
Senior Three Physics Notes
Senior Two Physics Notes
Simple Scientific Questions
Smart Questions to Ask a Physics Teacher
Snab Physics Revision Notes
Southwest Mock Paper 2 2016 Physics Only
Spm Physics Revision Notes
Spm Notes
Success Physics Spm Pdf
Success PhysicsSpm Pdf
Summary of Physics Form 3
Tahossa Past Papers
To Motivate a Form 4 KCSE Student
To Motivate a Form 4 Student
Topical Revision Material
Tricky Physics Questions and Answers
Tricky Physics Questions for Adults
Tricky Physics Questions With Answers
Tricky Physics Quiz Questions
Two Physics Revision Questions
University Physics Volume 3 Openstax
University Physics Volume 3 Pdf
University Physics Volume 4 Pdf
Ur Revision Guide IGCSE Physics
What Are the Types of Gametes
Working of Excretory System
Www.Physics Form One Notes.com
Www.Physics From One KLB.com
Www.form 1 Physics.com
Www.form 2 Physics.com
Www.form 3 Physics.com
Www.form 4 Physics.com
Www.form Four Physics.com
Www.form One Physics.com
Www.form Three Physics.com
Www.form Two Physics.com
Www.kusoma Notes
Www.kusoma Revision Materials
Www.kusoma.co.ke Physics Notes
Xtremepapers IGCSE Physics
Year 11 Physics
Z Notes Physics IGCSE
Znotes as Physics
Form 1 Summarized Notes For Phyics
Form 2 Summarized Notes For Phyics
Form 3 Summarized Notes For Phyics
Form 4 Summarized Notes For Phyics
Form 1 Summarized Notes For Physics
Form 2 Summarized Notes For Physics
Form 3 Summarized Notes For Physics
Form 4 Summarized Notes For Physics
2018 KCSE PHYSICS PRACTICAL QUESTIONS
Physics Paper One 2017
Physics Paper Two 2017
Physics Paper Three 2017
Physics Paper 1 2017
Physics Paper 2 2017
Physics Paper 3 2017
A Level Physics Questions and Answers Pdf
All Physics Questions and Answers Pdf,ppt
Physics Exam Questions and Answers Pdf
Physics Multiple Choice Questions and Answers Pdf
Physics Questions and Answers for High Schools Pdf
Physics Notes Form 1-4 Pdf
Free High School Notes Kenya
Free Kcse Revision Notes
General Physics Test Questions and Answers Pdf
High School Physics Multiple Choice Questions and Answers Pdf
Kcse Physics Revision Notes Pdf
Kcse Revision Books Pdf
Kcse Revision Notes Pdf
Kenya Secondary School Notes Pdf
Notes of Form 123 and 4 All Subject
Physics Notes Form 1 Free Download
Advice to KCSE Candidates
Best Revision Books for KCSE
How to Pass an Exam Successfully
How to Pass KCSE 2018
How to Pass KCSE 2019
How to Pass KCSE Physics Paper
How to Pass KCSE Physics
How to Pass KCSE Physics
How to Pass KCSE 2019
K.c.s.e Physics Paper 1 2017
KCSE 2019 Prediction
KCSE Prediction 2019
KCSE Revision Tips
KCSE Physics Paper 1 2018
KCSE Physics Paper 2 2018
KCSE Physics Past Papers Pdf
KCSE Past Papers 2012
KCSE Past Papers 2017 Pdf
KCSE Past Papers 2018
KCSE Past Papers of Physics Pp2
KCSE Physics Past Papers Pdf
Physics KCSE Papers With Their Marking Schemes
Physics Paper 1 and Answers
KCSE 2017 Papers and Marking Scheme
KCSE 2019 Papers and Marking Scheme
KCSE Physics Paper 1 2018
KCSE Physics Paper 1 2019
KCSE Physics Paper 1 2019 Past Papers
KCSE Physics Paper 2 2017
KCSE Physics Paper 2 2018
KCSE Physics Paper 2 2019
KCSE Physics Paper 2 2019 Past Papers
KCSE Physics Paper 3 2019 Past Papers
KCSE Physics Past Papers and Answers
KCSE Marking Schemes Pdf
KCSE Past Papers 2015 Marking Schemes
KCSE Past Papers 2019 Marking Schemes
KCSE Past Papers Physics Paper 1 2019
KCSE Past Papers Physics Paper 2 2019
KCSE Past Papers Physics Paper 3 2019
Past Papers KCSE Physics Paper 1 2019
Past Papers KCSE Physics Paper 2 2019
Past Papers KCSE Physics Paper 3 2019
4m1 Notes Viusasa
4m2 Notes Viusasa
4m3 Notes Viusasa
4m4 Notes Viusasa
Download on Viusasa - Download Now for Free
Elimu - Viusasa
Elimu Library | Notes, Exams, Lesson Plans, Schemes
Elimu Online
High School Notes - Revision Materials for Kenyan Schools
Https //www.viusasa.com/elimu Kenya
Notes Viusasa Elimu Form 1
Notes Viusasa Elimu Form 2
Notes Viusasa Elimu Form 3
Notes Viusasa Elimu Form 4
Notes Viusasa Elimu Form Four
Notes Viusasa Elimu Form One
Notes Viusasa Elimu Form Three
Notes Viusasa Elimu Form Two
Viusasa
Viusasa Education
Viusasa Elimu
Viusasa Elimu Class 6
Viusasa Elimu Form 1
Viusasa Elimu Form 1 Notes
Viusasa Elimu Form 2
Viusasa Elimu Form 2 Notes
Viusasa Elimu Form 3
Viusasa Elimu Form 3 Notes
Viusasa Elimu Form 4
Viusasa Elimu Form 4 Notes
Viusasa Elimu Form Four
Viusasa Elimu Form Four Notes
Viusasa Elimu Form One
Viusasa Elimu Form One Notes
Viusasa Elimu Form Three
Viusasa Elimu Form Three Notes
Viusasa Elimu Form Two
Viusasa Elimu Form Two Notes
Viusasa High School Notes - Revision Materials for Kenyan Schools
Viusasa Notes
Physics Mock Papers
Physics Paper 1 2019
Physics Paper 1 Notes
Physics Paper 1 Questions and Answers
Physics Paper 1 Questions and Answers Pdf
Physics Paper 2 Form 3
Physics Paper 2 Notes
Physics Paper 2 Questions and Answers Pdf
Physics Past Papers
Physics Past Papers Pdf
Physics Questions and Answers Pdf
Physics Revision Questions and Answers Pdf
Physics Revision Questions Pdf
Common Exam Questions in Physics Paper 1
Common Exam Questions in Physics Paper 2
Common Test Questions in Physics Paper 1
Common Tested Questions in Physics Paper 1
Commonly Tested Questions in Physics Paper 1
K.c.s.e.Physics Questions and Answers
KCSE 2019 Physics Paper 1 Marking Scheme
KCSE 2019 Physics Paper 2
KCSE 2019 Physics Paper 2 Marking Scheme
KCSE 2020 Prediction Questions and Answers
KCSE Physics Paper 1 2019
KCSE Physics Paper 2 2016
KCSE Physics Paper 2 2017
KCSE Physics Paper 2 2018
KCSE Physics Paper 2 2019
KCSE Physics Questions and Answers
Most Tested Questions in Physics Paper 1
Most Tested Questions in Physics Paper 2
Mostly Tested Questions in Physics Paper 1
Mostly Tested Questions in Physics Paper 2
A Level Physics Notes Uganda Pdf Download
Buddo Junior School Holiday Work
Physics Notes for a Level Pdf
Physics Notes Form 1
Physics Notes Form 3 the Mole
Physics Notes Form 4
Physics Notes O Level
Physics Notes O Level Uganda
Physics Notes O Level Uganda Pdf
Physics Notes Pdf
Download Physics Notes
Form 3 Physics Notes
Form 3 Physics Questions and Answers
Form Three Physics Syllabus Pdf
Gayaza High School Physics Notes
Gayaza High School Physics Notes Pdf
Gayaza High School Physics Past Papers
Gayaza High School Physics Past Papers Answers
Gayaza High School Physics Past Papers Questions and Answers
Gayaza High School E Learning
Gayaza High School Elearning Platform
Gayaza High School Examinations
Gayaza High School Holiday Work
Gayaza High School Notes
Gayaza High School Notes 2021
Gayaza High School Notes 2022
Gayaza High School Notes 2023
Gayaza High School Notes Pdf
Gayaza Junior School E Learning Platform
Gayaza Junior School Holiday Work
Gayaza O Level Physics Notes
Home › Gayaza High School | Elearning Platform
Kabojja Junior School Holiday Work Pdf
Klb Physics Book 3
Klb Physics Form 3 Teachers Guide
Klb Physics Notes
List of Ugandan E-learning Platforms for Students
Mirembe Junior School Holiday Work
Ntare School Past Papers
O Level Physics Notes Free Download
O Level Physics Notes in Uganda
O Level Physics Notes Pdf
O Level Physics Notes Uganda Pdf
O Level Physics Notes Uganda Pdf Download
O Level General - Home › Gayaza High School | Elearning
S.1 Physics Notes | Standard High School Zzana
S.3 Physics Notes
S.4 Physics 2 Notes | Standard High School Zzana
Seeta High School Elearning
Seeta High School Holiday Work
Seeta High School Notes
Seeta High School Notes Pdf
Seeta High School Past Papers
Seeta High School Past Papers Pdf
Senior 1 Physics Notes
Senior 1 Physics Notes in Uganda
Senior 1 Physics Notes Uganda
Senior 1 Physics Questions
Senior 1 Exams
Senior 1 Work
Senior 1 Work 2020
Senior 1 Work 2020 Uganda
Senior 2 Physics Notes
Senior 2 Physics Notes in Uganda
Senior 2 Physics Notes Uganda
Senior 2 Physics Questions
Senior 2 Exams
Senior 2 Work
Senior 2 Work 2020
Senior 2 Work 2020 Uganda
Senior 3 Physics Notes
Senior 3 Physics Notes in Uganda
Senior 3 Physics Notes Uganda
Senior 3 Physics Questions
Senior 3 Exams
Senior 3 Work
Senior 3 Work 2020
Senior 3 Work 2020 Uganda
Senior 4 Physics Notes
Senior 4 Physics Notes in Uganda
Senior 4 Physics Notes Uganda
Senior 4 Physics Questions
Senior 4 Exams
Senior 4 Work
Senior 4 Work 2020
Senior 4 Work 2020 Uganda
Senior Four Physics Notes
Senior Four Physics Notes in Uganda
Senior Four Physics Notes Uganda
Senior Four Physics Questions
Senior Four Exams
Senior Four Work
Senior Four Work 2020
Senior Four Work 2020 Uganda
Senior One Physics Notes
Senior One Physics Notes in Uganda
Senior One Physics Notes Uganda
Senior One Physics Questions
Senior One Exams
Senior One Work
Senior One Work 2020
Senior One Work 2020 Uganda
Senior Three Physics Notes
Senior Three Physics Notes in Uganda
Senior Three Physics Notes Uganda
Senior Three Physics Questions
Senior Three Exams
Senior Three Work
Senior Three Work 2020
Senior Three Work 2020 Uganda
Senior Two Physics Notes
Senior Two Physics Notes in Uganda
Senior Two Physics Notes Pdf
Senior Two Physics Notes Uganda
Senior Two Physics Questions
Senior Two Exams
Senior Two Work
Senior Two Work 2020
Senior Two Work 2020 Uganda
St Mary's Kitende E Learning
Standard High School Notes
Standard High School Zana a Level Notes
Standard High School Zana Com Notes
Standard High School Zana E Learning
Standard High School Zana E Learning Platform
Standard High School Zana E-learning Platform
Standard High School Zana Notes for Senior Two
Standard High School Zana Notes Pdf
Standard High School Zana Website
Standard High Zana Notes
Uace Physics Notes
Uace Physics Notes Pdf
Uce Physics Notes Pdf
Uce Physics Notes Pdf Download
Uce Past Papers
Uganda Secondary Schools E-learning Platform
Uneb Marking Guides Pdf
Uneb Past Papers and Answers Pdf
Physics Form 1 Questions and Answers Pdf Download
Physics Notes Form 1-4
Physics Form 1 Questions and Answers Pdf
Form 1 Physics Topical Questions
Form 1 Physics Exam Paper With Answer Pdf
Form 1 Exams 2020
Form 1 Exams 2021
Form 1 Exams 2022
Form 1 Exams 2023
Form 1 Physics Past Papers
Form 1 Physics Revision Papers With Answers
Sample Physics Test for Form One Exams
Ntare School Past Papers
Seeta High School Notes Pdf
Seeta High School Past Papers
Seeta High School Past Papers Pdf
St Mary's Kitende Past Papers
Uce Physics Notes Pdf
Uce Past Papers
Uneb Marking Guides Pdf
Uneb Past Papers and Answers Pdf
Physics Book 3 Download
Physics Form 3 Questions and Answers
Physics Form 3 Syllabus
Physics Form 3 Topics
Physics Notes Form 3
Physics Notes Form 3
Physics Notes Form 3
Physics Notes Form Three
Physics Notes Pdf Download
Form 3 Physics Exam
Form 3 Physics Notes on Pdf
Revision Physics Revision a Level Physics
Revision Notes - Physics
S.1-Physics-notes
S.1-Physics-notes Uganda
S.2-Physics-notes
S.2-Physics-notes Uganda
S.3-Physics-notes
S.3-Physics-notes Uganda
S.4-Physics-notes
S.4-Physics-notes Uganda
S.5-Physics-notes
S.5-Physics-notes Uganda
S.6-Physics-notes
S.6-Physics-notes Uganda
S1 Physics Notes Term 1
S1 Physics Notes Term 2
S1 Physics Notes Term 3
S2 Physics Notes Term 1
S2 Physics Notes Term 2
S2 Physics Notes Term 3
S3 Physics Notes Term 1
S3 Physics Notes Term 2
S3 Physics Notes Term 3
S4 Physics Notes Term 1
S4 Physics Notes Term 2
S4 Physics Notes Term 3
Senior 3 Physics Notes
Senior 3 Physics Notes Uganda
Senior Three Physics Notes
Senior Three Physics Notes Uganda
Physics Form 1 the Cell
Physics Form One Notes Free – Education News
Physics Notes Form 1-4
Physics Questions and Answers Form 1 - Physics Form One
Physics Questions and Answers Form 2 - Physics Form Two
Physics Questions and Answers Form 3 - Physics Form Three
Physics Questions and Answers Form 4 - Physics Form Four
Physics Questions and Answers Senior 1 - Physics Senior One
Physics Questions and Answers Senior 2 - Physics Senior Two
Physics Questions and Answers Senior 3 - Physics Senior Three
Physics Questions and Answers Senior 4 - Physics Senior Four
Physics Topic by Topic Questions and Answers
Combined Science Notes Form 1
Form 1 Physics Revision Questions and Answers
Form 1 Physics Topical Questions
Form 1 Revision Papers With Answers
Form 2 Physics Revision Questions and Answers
Form 3 Physics Revision Questions and Answers
Form Four Physics Revision Questions and Answers
Form One Physics Revision Questions and Answers
Form Three Physics Revision Questions and Answers
Form Two Physics Revision Questions and Answers
Free Physics Form 1 Notes
Free Physics Notes
Introduction to Physics Form One
Kcse Past Papers: Physics Form 1
Kcse Past Papers: Physics Form 1 Topical Questions
Kcse Past Papers: Physics Form 1 Topical Questions and Answers
Most Tested Areas in Physics Kcse
Most Tested Areas in Physics Kcse Exams
Most Tested Areas in Physics Uneb
Most Tested Areas in Form 1 in Physics
Most Tested Areas in Form 2 in Physics
Most Tested Areas in Form 3 in Physics
Most Tested Areas in Form 4 in Physics
Most Tested Areas in Form Four in Physics
Most Tested Areas in Form One in Physics
Most Tested Areas in Form Three in Physics
Most Tested Areas in Form Two in Physics
Most Tested Areas in Kcse Physics
Most Tested Areas in Kcse Physics Exams
Most Tested Areas in Senior 1 in Physics
Most Tested Areas in Senior 2 in Physics
Most Tested Areas in Senior 3 in Physics
Most Tested Areas in Senior 4 in Physics
Most Tested Areas in Senior Four in Physics
Most Tested Areas in Senior One in Physics
Most Tested Areas in Senior Three in Physics
Most Tested Areas in Senior Two in Physics
Most Tested Areas in Uneb Physics
Revision Notes Physics Form 1 - Free Kcse Past Papers
Who Was Physics Champion KCSE 2019
Top 100 Students in Physics KCSE 2019
Best 100 Students in Physics KCSE 2019
Top Student in Physics KCSE
Best Student in Physics KCSE
Who Was Physics Champion KCSE 2020
Top 100 Students in Physics KCSE 2020
Best 100 Students in Physics KCSE 2020
Names of Best Physics Students KCSE
Names of Top Physics Students KCSE
High School Physics Notes Pdf
Klb Physics Form 1 Book Pdf
Physics Form 1 Best Notes
Physics Form 1 Notes Pdf
Physics Form 1 Pressure
Physics Form 1 Questions and Answers
Physics Form 1 Questions and Answers Pdf Download
Physics Form 2 Best Notes
Physics Form 3 Best Notes
Physics Form 4 Best Notes
Physics Form Four Best Notes
Physics Form One Best Notes
Physics Form Three Best Notes
Physics Form Two Best Notes
Physics Notes Form 1 to 4
Physics Notes Pdf
Klb Physics Form 1 Book Pdf
Physics Form 1 Notes Pdf
Physics Form 1 Pressure
Physics Form 1 Questions and Answers
Physics Form 1 Questions and Answers Pdf Download
Physics Notes Form 1-4 Pdf
Physics Notes Pdf
Physics Summary Notes Pdf



KCSE Results » KCSE Results Top 100 Schools - Kenya Certificate of Secondary Education – KCSE » KCSE Top 100 Candidates » Kenya Certificate of Secondary Education – KCSE » KNEC - Kenya National Examinations Council » Secondary Schools in Kenya » KNEC - Kenya National Examinations Council » Free KNEC KCSE Past Papers
KCSE Past Papers Physics 2011
Scholarship 2026/27
Current Scholarships 2026/2027 - Fully Funded
Full Undergraduate Scholarships 2026 - 2027
Fully Funded Masters Scholarships 2026 - 27
PhD Scholarships for International Students - Fully Funded!
Funding Opportunities for Journalists 2026/2027
Funding for Entrepreneurs 2026/2027
***