KCSE Past Papers 2017 Drawing and Design  Paper 1

Click Here - KCSE Past Papers 2017 Drawing and Design Paper 1 » KNEC Past Exams » Free Downloads » KCSE Papers & Marking Schemes

KCSE Past Papers 2017 Drawing and Design Paper 1

2017 Drawing and Design - Paper 1

Section A (50 marks)

Answer all questions in this section on the answer sheet provided.

1 (a) State three roles of the National Industrial Training Authority (NITA). (3 marks)

(b) Name two methods of sharpening pencils leads and state where each is applied in technical drawing. (2 marks)

2 Sketch the conventional symbol for each of the following as used in drawing:(3 marks)

(a) Planned timber.

(b) Third angle projection.

(c) Earth wire.

3 (a) State two advantages of plywood over solid timber. (2 marks)

(b) State two factors that relate to the quality of a design with regard to the following:

(i) Material.

(ii) Proportion.

4 Figure 1 shows a simple shaped block drawn full size in isometric projection. (2 marks)

Copy the figure and dimension it fully. (4 marks)

5 (a) State two reasons why care must be taken when storing drawing instruments. (1 mark)

(b) Name four components of a computer and state the use of each. (4 marks)

6 Figure 2 shows a truncated hexagonal pyramid whose distance across corners is 50 mm.

Copy the figure and draw the following:

(a) Complete plan.

(b) Auxillary view as seen in the direction of arrow shown.

7 Construct an involute of a square whose side is 35 mm.

8 Figure 3 shows a diagonal scale.

(a) Determine the accuracy of the scale.

(b) Outline the steps to follow in order to obtain reading “P”. (7 marks)

9 Figure 4 shows a shaped block drawn in isometric projection.

Sketch in good proportion the following views in first angle projection:

(a) Front elevation in the direction of Arrow A.

(b) End elevation in the direction of Arrow B.

(c) Plan.

10 Figure 5 shows two views of a solid block drawn in first angle projection.

(6 marks)

In good proportion draw the block in oblique projection with A as the front face. (6 marks)

Section B (20 marks)

This question is compulsory.

It should be answered or the A3 paper provided.

Candidates are advised not to spend more than one hour on this question.

11 Figure 6 shows parts of a tool post drawn in first angle projection. Assemble the parts and draw full size the following views in third angle projection:

(a) Sectional front elevation along the cutting plane X-X.

(b) Plan.

Insert four leading dimensions and do not show hidden details. (20 marks)

Section C (30 marks)

Answer any two questions from this section on the A3 paper provided.

12 Figure 7 shows a link mechanism in which AB rotates about A while C oscillates about point D. Plot the locus of point E as AB makes one complete revolution. (15 marks)

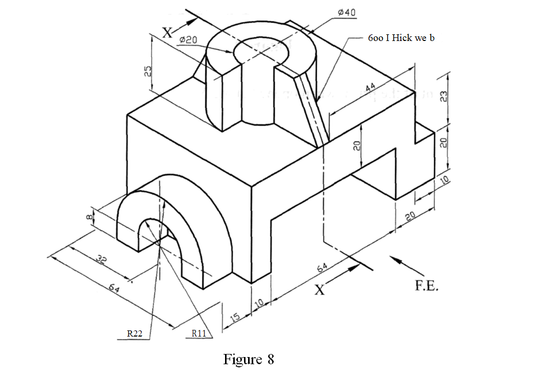
13 Figure 8 shows a machine block drawn isometric projection.

Draw Full Size the following views in first angle projection:

(a) Front elevation in the direction of arrow F.E.

(b) Sectional end elevation along the cutting plane X-X.

(c) Plan. (15 marks)

14 Figure 9 shows the front elevation of a truncated heptagonal prism, whose length of base is 30 mm.

Draw the development of the prism when opened along X-Y. (15 marks)

Marking Scheme

KCSE Past Papers 2017 Drawing and Design Paper 1

1. (a) Roles of ‘NITA’

(i) Controls training of personnel in the industry.

(ii) Offers technical training in various institutions.

(iii) Examines and certifies various technical trades.

(iv) Controls the type of examinations and certificates to be awarded for Artisan Courses in Kenya.

(v) Gives guidance on the scope of training in the technical fields.

(b) Sharpening pencil leads:

(i) Chisel used with a compass for drawing arcs and circles. Used for drawing of construction lines and guidelines

(ii) Pointed /conical —+ for general purpose e.g. lettering and outlines.

(b) Advantages of plywood over solid timber

  • It is stronger.
  • It can be shaped by folding into intricate shapes.
  • It is available in large sheets.
  • Does not require planning
  • Does not split if nailing is done at the edges.

    Factors that relate to good or bad design with regard to:

    (i) Material

  • Availability
  • Workability
  • Cost
  • Suitability
  • Safety
  • durability

    (ii) Proportion

  • Aesthetics
  • Application
  • Use-ability
  • Ergonomics

    4. Drawing with the correct dimensions

    1 mark Any 6 dimensions 6x1/2=3 marks

    5. (a) Reasons for care when storing drawing instruments.

  • To preserve their accuracy.
  • To avoid breakages that may be occur.
  • For durability thus reducing the cost of replacement.
  • To prevent deformation

    (b) Components of a computer

  • Monitor — Displays information to the user.
  • CPU — It is the central processing unit where processing of data and information takes place.
  • Mouse — It is used for selecting, pointing, and highlighting.
  • Keyboard — It is used for capturing and entering numeric and alphabetical commands.

    6.

    7.
    8. (a) The accuracy of the scale is 0.01 m (1cm) Reading ‘P’

    - Main reading 1.50m

    - 1 Horizontal Div. represents 0 - o osm

    9

    KCSE Results » KCSE Results Top 100 Schools - Kenya Certificate of Secondary Education – KCSE » KCSE Top 100 Candidates » Kenya Certificate of Secondary Education – KCSE » KNEC - Kenya National Examinations Council » Secondary Schools in Kenya » KNEC - Kenya National Examinations Council » Free KNEC KCSE Past Papers

    Kenya Scholarships for Undergraduate Students » Kenya Scholarships for Postgraduate Students » Undergraduate Scholarships for Kenyan Students » Kenya Undergraduate Scholarships » Full Undergraduate Scholarships for Kenyans » Kenya Postgraduate Scholarships » Scholarships & Grants » Undergraduate Scholarships » Universities in Kenya » Kenya Universities and Colleges Central Placement Service (KUCCPS) » Colleges in Kenya » KASNEB Registration & Results » Secondary Schools Scholarships in Kenya » Undergraduate & Graduate Scholarships for Kenyans

    Scholarships for African Students » Undergraduate Scholarships » African Women Scholarships & Grants » Developing Countries Scholarships » Erasmus Mundus Scholarships for Developing Countries » Fellowship Programs » Funding Grants for NGOs » Government Scholarships » LLM Scholarships » MBA Scholarships » PhD and Masters by Research Scholarships » Public Health Scholarships - MPH Scholarships » Refugees Scholarships » Research Grants » Scholarships and Grants

    Scholarships in Australia » Scholarships in Belgium » Scholarships in Canada » Scholarships in Germany » Scholarships in Italy » Scholarships in Japan » Scholarships in Korea » Scholarships in Netherlands » Scholarships in UK » Scholarships in USA

    KCSE Past Papers 2017 Drawing and Design  Paper 1

    "Pdf" Revision Questions Drawing and Design Form 2 "Pdf" Revision Questions Drawing and Design Form 3 "Pdf" Revision Questions Drawing and Design Form 4 "Pdf" Revision Questions Drawing and Design Form Four "Pdf" Revision Questions Drawing and Design Form One "Pdf" Revision Questions Drawing and Design Form Three "Pdf" Revision Questions Drawing and Design Form Two 1 a a KCSE Past Papers 10th Grade Drawing and Design Questions and Answers 10th Grade Drawing and Design Test 11th Ncert Drawing and Design 12th Class Drawing and Design Book Free Download 2014 KCSE Marking Schemes 2014 Pdf KCSE Past Papers 2015 2015 Drawing and Design Essay Questions and Answers Form 4 2016 KCSE Papers 2016 KCSE Prediction Questions 2017 Drawing and Design Hsc Answers 2017 KCSE Prediction Questions 2018 Drawing and Design KCSE Leakage 2018 Drawing and Design KCSE Questions 2018 KCSE Busineness Studies 2018 KCSE Exam 2018 KCSE Leakage 2018 KCSE Prediction Questions 2018 KCSE Questions 2019 Drawing and Design KCSE Leakage 2019 Drawing and Design KCSE Questions 2019 KCSE Leakage 2019 KCSE Questions 9th Grade Drawing and Design Study Guide A a a Drawing and Design Notes a a a Drawing and Design Notes! a a a Drawing and DesignNotes! A a KCSE Past Papers A Biblical View of Social Justice A Level Drawing and Design Biological Molecules Questions A Level Drawing and Design Exam Questions by Topic A Level Drawing and Design Notes Edexcel A Level Drawing and Design Notes Xtremepapers A Level Drawing and Design Past Papers A Level Drawing and Design Questions and Answers a Level Drawing and Design Questions and Answers A Level Drawing and Design Questions and Answers (Pdf) A Level Drawing and Design Questions and Answers Pdf A Level Drawing and Design Questions by Topic Kidney Questions With Markschemes A Level Drawing and Design Revision A Level Drawing and Design Revision Edexcel A Level Drawing and Design Revision Guide A Level Drawing and Design Revision Notes A Level Drawing and Design Revision Notes Pdf A Level Drawing and Design Textbook Pdf A Level Drawing and Design Year 1 / as Aqa Exam Questions by Topic A Level Edexcel Notes a* Drawing and Design aa Drawing and Design Form 3 Questions and Answers Advance KCSE Past Papers Advance-africa.com KCSE Rev Quiz Advantages and Disadvantages. All Drawing and Design Essays All Drawing and Design Notes for Senior Two All KCSE Past Papers Drawing and Design With Making Schemes All Marking Schemes Questions and Answers All Past K.c.s.e Questions With Answers Alliance Mocks 2017 Ap Bio Quizzes Ap Drawing and Design 1 Textbook Pdf Ap Drawing and Design Essay Questions and Answers Are Sourced From KNEC. As Level Drawing and Design Notes Atika Drawing and Design Notes Atika School Drawing and Design Notes B/s Book 2 Notes Basic Drawing and Design Books Pdf basic Drawing and Design Interview Questions and Answers Pdf Basic Drawing and Design Interview Questions and Answers Pdf Basic Drawing and Design Pdf Basic Drawing and Design Questions and Answers Basic Drawing and Design Questions and Answers Pdf Bbc Bitesize Drawing and Design Ks3 Bihar Board Drawing and Design Objective Answer 2017 Bihar Board Drawing and Design Objective Answer 2018 Bio Answers Bio Quesions Drawing and Design 0478 Drawing and Design 101 Drawing and Design 12th Drawing and Design 12th Class Notes Pdf Drawing and Design 2019 Syllabus Drawing and Design All KCSE Short Notes Drawing and Design Answers Drawing and Design Answers Online Free Drawing and Design Answers Quizlet Drawing and Design Bk 2 Notes Drawing and Design Book 1 Drawing and Design Book 1 Notes Drawing and Design Book 2 Drawing and Design Book 2 Notes Drawing and Design Book 3 Drawing and Design Book 3 KLB Drawing and Design Book 3 Notes Drawing and Design Book 4 Drawing and Design Book 4 Notes Drawing and Design Book 4 Pdf Drawing and Design Book for Class 11 Drawing and Design Book Four Drawing and Design Book Four Notes Drawing and Design Book One Drawing and Design Book One Notes Drawing and Design Book Pdf Free Download Drawing and Design Book Three Drawing and Design Book Three Notes Drawing and Design Book Three Pdf Drawing and Design Book Two Drawing and Design Book Two Notes Drawing and Design Books Form Three Drawing and Design Bowl Drawing and Design Study Guide Drawing and Design Bowl Questions Drawing and Design Drawing and Design Bowl Questions Earth Drawing and Design Drawing and Design Bowl Questions Math Drawing and Design Bowl Questions Middle School Drawing and Design Brekthrough Form Two Notes Drawing and Design Class 12 Ncert Solutions Drawing and Design Class 12 Pdf Drawing and Design Communication Syllabus Drawing and Design Diagram Software Drawing and Design Diagrams for Class 11 Drawing and Design Diagrams for Class 12 Drawing and Design Diagrams for Class 9 Drawing and Design Diagrams for Class-10 Drawing and Design Diagrams in Form 1 Drawing and Design Diagrams in Form 2 Drawing and Design Diagrams in Form 3 Drawing and Design Diagrams in Form 4 Drawing and Design Diagrams Pdf Drawing and Design Diagrams to Label Drawing and Design Essay Questions and Answers Drawing and Design Essay Questions and Answers 2018 Drawing and Design Essay Questions and Answers Form 1 Drawing and Design Essay Questions and Answers Form 2 Drawing and Design Essay Questions and Answers Form 3 Drawing and Design Essay Questions and Answers Form 4 Drawing and Design Essay Questions and Answers Form 4 Pdf Drawing and Design Essay Questions and Answers Pdf Drawing and Design Essay Revision Q Drawing and Design Essays and Answers Drawing and Design Essays Form One to Form Four Drawing and Design Essays Form One to Form Three Drawing and Design Essays KCSE Drawing and Design Essays Pdf Drawing and Design Exam 1 Multiple Choice Drawing and Design Exam 2 Advance Drawing and Design Exam 2 Test Drawing and Design Exam 2016 Drawing and Design Exam Form Four Drawing and Design Exam Form One Drawing and Design Exam Form Three Drawing and Design Exam Form Two Drawing and Design Exam Practice Test Drawing and Design Exam Questions Drawing and Design Exam Questions and Answers Drawing and Design Exam Questions and Answers Pdf Drawing and Design Exam Study Guide Drawing and Design Exams Drawing and Design Excretion Notes Drawing and Design Exercise Form 4 With Answers Drawing and Design Final Exam Answer Key Drawing and Design Final Exam Answer Key 2016 Drawing and Design Final Exam Answer Key 2017 Drawing and Design Final Exam Answers 2018 Drawing and Design Final Exam Answers 2019 Drawing and Design Final Exam Questions and Answers Drawing and Design Fom 1 Notes Drawing and Design Fom 2 Notes Drawing and Design Fom 3 Notes Drawing and Design Fom 4 Notes Drawing and Design Form 1 Drawing and Design Form 1 & 2 and Answers Drawing and Design Form 1 and 2 Essays Drawing and Design Form 1 and 2 Essays Questions and Answers Drawing and Design Form 1 Chapter 1 Drawing and Design Form 1 Diagrams Drawing and Design Form 1 Exams Drawing and Design Form 1 Mid Year Exam Drawing and Design Form 1 Notes Drawing and Design Form 1 Notes and Questions Drawing and Design Form 1 Notes Download Drawing and Design Form 1 Notes Free Download Drawing and Design Form 1 Notes GCSE Drawing and Design Form 1 Notes KCSE-kcse Drawing and Design Form 1 Notes Pdf Drawing and Design Form 1 Notes Pdf Download Drawing and Design Form 1 Past Papers Drawing and Design Form 1 Pdf Drawing and Design Form 1 Pressure Drawing and Design Form 1 Question Papers Drawing and Design Form 1 Questions Drawing and Design Form 1 Questions and Answers Drawing and Design Form 1 Questions and Answers Pdf Drawing and Design Form 1 Quiz Drawing and Design Form 1 Revision Questions Drawing and Design Form 1 Summary Notes Drawing and Design Form 1 Syllabus Drawing and Design Form 1 Work Drawing and Design Form 1-4 Notes Drawing and Design Form 2 Drawing and Design Form 2 Chapter 1 Drawing and Design Form 2 Chapter 2 Drawing and Design Form 2 Diagrams Drawing and Design Form 2 Exam Paper 2014 Drawing and Design Form 2 Exams Drawing and Design Form 2 Notes Drawing and Design Form 2 Notes and Questions Drawing and Design Form 2 Notes GCSE Drawing and Design Form 2 Notes KCSE-kcse Drawing and Design Form 2 Notes Pdf Drawing and Design Form 2 Notes Pdf Download Drawing and Design Form 2 Past Papers Drawing and Design Form 2 Pdf Drawing and Design Form 2 Question Papers Drawing and Design Form 2 Questions Drawing and Design Form 2 Questions and Answers Drawing and Design Form 2 Questions and Answers Pdf Drawing and Design Form 2 Quiz Drawing and Design Form 2 Revision Notes Drawing and Design Form 2 Salts Drawing and Design Form 2 Structure and Bonding Drawing and Design Form 2 Summary Notes Drawing and Design Form 2 Syllabus Drawing and Design Form 2 Work Drawing and Design Form 3 Drawing and Design Form 3 and 4 Essays Drawing and Design Form 3 and 4 Essays Questions and Answers Drawing and Design Form 3 Chapter 3 Drawing and Design Form 3 Classification Drawing and Design Form 3 Diagrams Drawing and Design Form 3 Ecology Drawing and Design Form 3 Exams Drawing and Design Form 3 Notes Drawing and Design Form 3 Notes and Questions Drawing and Design Form 3 Notes GCSE Drawing and Design Form 3 Notes KCSE-kcse Drawing and Design Form 3 Notes Pdf Drawing and Design Form 3 Notes Pdf Download Drawing and Design Form 3 Notes Topic 1 Drawing and Design Form 3 Past Papers Drawing and Design Form 3 Pdf Drawing and Design Form 3 Question Papers Drawing and Design Form 3 Questions Drawing and Design Form 3 Questions and Answers Drawing and Design Form 3 Questions and Answers Pdf Drawing and Design Form 3 Questions and Answers Term 3 Drawing and Design Form 3 Questions and Answers+pdf Drawing and Design Form 3 Quiz Drawing and Design Form 3 Revision Notes Drawing and Design Form 3 Revision Questions Drawing and Design Form 3 Summary Notes Drawing and Design Form 3 Syllabus Drawing and Design Form 3 Syllabus Pdf Drawing and Design Form 3 Topics Drawing and Design Form 3 Work Drawing and Design Form 4 Drawing and Design Form 4 All Chapter Drawing and Design Form 4 Chapter 1 Conversion of Units Drawing and Design Form 4 Chapter 1 Exercise Drawing and Design Form 4 Chapter 1 Exercise and Answers Drawing and Design Form 4 Chapter 1 Exercise Pdf Drawing and Design Form 4 Chapter 1 Mind Map Drawing and Design Form 4 Chapter 2 Drawing and Design Form 4 Chapter 2 Exercise and Answers Drawing and Design Form 4 Chapter 2 Exercise Pdf Drawing and Design Form 4 Chapter 2 Experiment Drawing and Design Form 4 Chapter 2 Formula Drawing and Design Form 4 Chapter 2 Mind Map Drawing and Design Form 4 Chapter 2 Momentum Drawing and Design Form 4 Chapter 2 Notes Pdf Drawing and Design Form 4 Chapter 2 Objective Questions and Answers Drawing and Design Form 4 Chapter 2 Paper 2 Drawing and Design Form 4 Chapter 2 Slideshare Drawing and Design Form 4 Chapter 3 Drawing and Design Form 4 Chapter 3 Questions and Answers Drawing and Design Form 4 Chapter 4 Drawing and Design Form 4 Chapter 4 Notes Pdf Drawing and Design Form 4 Chapter 5 Light Questions and Answers Drawing and Design Form 4 Chapter 5 Notes Pdf Drawing and Design Form 4 Diagrams Drawing and Design Form 4 Exam Paper 1 Drawing and Design Form 4 Exams Drawing and Design Form 4 Exercise Drawing and Design Form 4 Exercise Pdf Drawing and Design Form 4 Module With Answer Drawing and Design Form 4 Note Drawing and Design Form 4 Notes Drawing and Design Form 4 Notes (Pdf) Drawing and Design Form 4 Notes All Chapter Pdf Drawing and Design Form 4 Notes and Questions Drawing and Design Form 4 Notes Chapter 1 Drawing and Design Form 4 Notes Chapter 2 Drawing and Design Form 4 Notes Chapter 3 Drawing and Design Form 4 Notes Download Drawing and Design Form 4 Notes Free Download Drawing and Design Form 4 Notes GCSE Drawing and Design Form 4 Notes KCSE-kcse Drawing and Design Form 4 Notes Pdf Drawing and Design Form 4 Notes Pdf Download Drawing and Design Form 4 Paper 2 Questions and Answers Drawing and Design Form 4 Past Papers Drawing and Design Form 4 Question Papers Drawing and Design Form 4 Questions Drawing and Design Form 4 Questions and Answers Drawing and Design Form 4 Questions and Answers Pdf Drawing and Design Form 4 Quiz Drawing and Design Form 4 Revision Notes Drawing and Design Form 4 Schemes of Work Drawing and Design Form 4 Summary Notes Drawing and Design Form 4 Syllabus Drawing and Design Form 4 Textbook Pdf Drawing and Design Form 4 Work Drawing and Design Form 5 Chapter 1 Exercise and Answers Drawing and Design Form 5 Chapter 1 Notes Pdf Drawing and Design Form 5 Chapter 2 Notes Pdf Drawing and Design Form 5 Chapter 2 Slideshare Drawing and Design Form 5 Chapter 3 Notes Pdf Drawing and Design Form 5 Notes Pdf Drawing and Design Form Four Book Drawing and Design Form Four Notes Drawing and Design Form Four Notes and Questions Drawing and Design Form Four Notes GCSE Drawing and Design Form Four Notes Pdf Drawing and Design Form Four Past Papers Drawing and Design Form Four Questions Drawing and Design Form Four Questions and Answers Drawing and Design Form Four Questions and Answers Pdf Drawing and Design Form Four Quiz Drawing and Design Form Four Study Notes Drawing and Design Form Four Syllabus Drawing and Design Form Four Topic 2 Drawing and Design Form Four Topic 4 Drawing and Design Form Four Topics Drawing and Design Form Four Work Drawing and Design Form One Drawing and Design Form One Book Drawing and Design Form One Book Pdf Drawing and Design Form One Download Topic 1 Upto 3 Drawing and Design Form One Exam Drawing and Design Form One Notes Drawing and Design Form One Notes and Questions Drawing and Design Form One Notes GCSE Drawing and Design Form One Notes Pdf Drawing and Design Form One Pdf Drawing and Design Form One Questions Drawing and Design Form One Questions and Answers Drawing and Design Form One Questions and Answers Pdf Drawing and Design Form One Questions and Their Answers Drawing and Design Form One Quiz Drawing and Design Form One Revision Question Drawing and Design Form One Schemes of Work Drawing and Design Form One Study Notes Drawing and Design Form One Syllabus Drawing and Design Form One Term Three Test Drawing and Design Form One to Three Notes Drawing and Design Form One Work Drawing and Design Form Three Drawing and Design Form Three Book Drawing and Design Form Three Notes Drawing and Design Form Three Notes and Questions Drawing and Design Form Three Notes GCSE Drawing and Design Form Three Questions and Answers Drawing and Design Form Three Questions and Answers Pdf Drawing and Design Form Three Quiz Drawing and Design Form Three Reproduction Drawing and Design Form Three Reproduction. Drawing and Design Form Three Study Notes Drawing and Design Form Three Work Drawing and Design Form Three-questions and Answers Drawing and Design Form Two Drawing and Design Form Two Book Drawing and Design Form Two Diagrams Drawing and Design Form Two Notes Drawing and Design Form Two Notes and Questions Drawing and Design Form Two Notes GCSE Drawing and Design Form Two Notes Pdf Drawing and Design Form Two Notes-pdf Drawing and Design Form Two Pdf Drawing and Design Form Two Questions Drawing and Design Form Two Questions and Answers Drawing and Design Form Two Questions and Answers Pdf Drawing and Design Form Two Quiz Drawing and Design Form Two Study Notes Drawing and Design Form Two Topics Drawing and Design Form Two Work Drawing and Design Form Two,schemes of Work Drawing and Design Form2 Drawing and Design Form2 Textbook Drawing and Design Game Form Four Question End Answers Drawing and Design Grade 10 Exam Papers Drawing and Design Hsc Pdf Drawing and Design Human Reproduction Video Drawing and Design IGCSE Past Papers Xtremepapers Drawing and Design K.c.s.e 2017 Drawing and Design KCSE Drawing and Design KCSE 2016 Drawing and Design KCSE 2017 Drawing and Design KCSE 2017 Paper 1 Drawing and Design KCSE Past Papers Drawing and Design KCSE Questions Drawing and Design KCSE Questions and Answer Drawing and Design KCSE Quizzes & Answers Drawing and Design KCSE Revision Drawing and Design KCSE Revision Notes Drawing and Design KCSE Setting Questions Form One and Two Drawing and Design Ksce 2015 Drawing and Design Last Year K.c.s.e Questions Drawing and Design Lesson Plan Form Two Drawing and Design Made Familiar Drawing and Design Mcq for Class 11 Drawing and Design Mcq for Class 12 Drawing and Design Mcq for Competitive Exams Drawing and Design Mcq for Competitive Exams Pdf Drawing and Design Mcq for Neet Pdf Drawing and Design Mcq for Ssc Drawing and Design Mcq Questions With Answers Drawing and Design Mcq With Answers Pdf Drawing and Design Mcqs for Class 12 Pdf Drawing and Design Mcqs With Answers Pdf Drawing and Design Mid Familia Form One Drawing and Design Mock Papers Drawing and Design Module Form 5 Drawing and Design Multiple Choice Questions and Answers Cxc Drawing and Design Multiple Choice Questions and Answers Pdf Drawing and Design Multiple Choice Questions With Answers Pdf Drawing and Design Note Drawing and Design Note Form Two All Chapters Drawing and Design Notes Drawing and Design Notes and Guestion and Answear Drawing and Design Notes and Syllabus Drawing and Design Notes Class 10 Drawing and Design Notes for Class 11 Pdf Drawing and Design Notes for Class 12 Pdf Drawing and Design Notes for High School Students Drawing and Design Notes for IGCSE 2014 Drawing and Design Notes Form 1 Drawing and Design Notes Form 1 4 Drawing and Design Notes Form 1 Free Download Drawing and Design Notes Form 1 KLB Drawing and Design Notes Form 1 Pdf Drawing and Design Notes Form 1-4 Drawing and Design Notes Form 1-4(1) Drawing and Design Drawing and Design Notes Form 14 Drawing and Design Notes Form 2 Drawing and Design Notes Form 2 KLB Drawing and Design Notes Form 2 Pdf Drawing and Design Notes Form 2; Drawing and Design Notes Drawing and Design Notes Form 3 Drawing and Design Notes Form 3 KLB Drawing and Design Notes Form 3 Pdf Drawing and Design Notes Form 4 Drawing and Design Notes Form 4 Chapter 2 Drawing and Design Notes Form 4 KLB Drawing and Design Notes Form 4 Pdf Drawing and Design Notes Form 4-pdf Drawing and Design Notes Form Four Drawing and Design Notes Form Four KLB Drawing and Design Notes Form Four Pdf Drawing and Design Notes Form One Drawing and Design Notes Form One KLB Drawing and Design Notes Form One Pdf Drawing and Design Notes Form One to Form Four Drawing and Design Notes Form Three Drawing and Design Notes Form Three KLB Drawing and Design Notes Form Three Pdf Drawing and Design Notes Form Two Drawing and Design Notes Form Two KLB Drawing and Design Notes Form Two Pdf Drawing and Design Notes Form2 Drawing and Design Notes IGCSE Drawing and Design Notes Kenya Drawing and Design Notes on Agroforestry Drawing and Design Notes Pdf Drawing and Design Notes: Drawing and Design Objective Answer Drawing and Design Objective Answer 2018 Drawing and Design Objective Questions for Competitive Exams Drawing and Design Objective Questions for Competitive Exams Pdf Drawing and Design Oral Exam Questions Drawing and Design Paper 1 Drawing and Design Paper 1 2018 Marking Rules Drawing and Design Paper 1 Notes Drawing and Design Paper 1 Questions Drawing and Design Paper 1 Questions and Answers Drawing and Design Paper 1 Topics Drawing and Design Paper 1 With Answers Drawing and Design Paper 2 Drawing and Design Paper 2 2017 Drawing and Design Paper 2 2018 Marking Rules Drawing and Design Paper 2 Questions and Answers Drawing and Design Paper 2 Questions and Answers Pdf Drawing and Design Paper 2 Revision Drawing and Design Paper 2 Topics Drawing and Design Paper 2018 Drawing and Design Paper 3 2018 Marking Rules Drawing and Design Paper 3 Question and Answer Drawing and Design Paper 3 Question Paper 2014 KCSE Drawing and Design Paper 3 Question Paper 2015 KCSE Drawing and Design Paper 3 Question Paper 2016 KCSE Drawing and Design Paper 3 Question Paper 2017 KCSE Drawing and Design Paper 3 Question Paper 2018 KCSE Drawing and Design Paper 3 Questions and Answers Drawing and Design Paper One Questions and Answers Drawing and Design Paper One Topics Drawing and Design Paper Two Qestions With Answers Drawing and Design Paper1 Drawing and Design Paper2 Drawing and Design Paper3 Drawing and Design Paper4 Drawing and Design Past Papers Drawing and Design Past Papers 2017 Drawing and Design Past Papers a Level Drawing and Design Past Papers Form 1 Drawing and Design Past Papers Form 2 Drawing and Design Past Papers Form 3 Drawing and Design Past Papers O Level Drawing and Design Pdf Download Drawing and Design Pp1 KCSE 2016 Drawing and Design Practical Book Class 12 Pdf Drawing and Design Practical Exam Drawing and Design Practicals Form One Drawing and Design Practicals Questions and Answers Drawing and Design Practice Test 9th Grade Drawing and Design Practice Test Answers Drawing and Design Practice Test Questions and Answers Drawing and Design Practice Test Quizlet Drawing and Design Predicted Questions This Year KCSE Drawing and Design Preparation Notes Drawing and Design Pretest High School Pdf Drawing and Design Question and Answer With Explanation Drawing and Design Question and Answers 2019 Drawing and Design Question and Answers 2020 Drawing and Design Question and Answers 2021 Drawing and Design Question and Answers 2022 Drawing and Design Question and Answers Note Drawing and Design Questions Drawing and Design Questions and Answers Drawing and Design Questions and Answers for High School Drawing and Design Questions and Answers for High Schools Drawing and Design Questions and Answers for High Schools Pdf Drawing and Design Questions and Answers for Secondary Schools Drawing and Design Questions and Answers Form 1 Drawing and Design Questions and Answers Form 2 Drawing and Design Questions and Answers Form 3 Drawing and Design Questions and Answers Form 4 Drawing and Design Questions and Answers Multiple Choice Drawing and Design Questions and Answers Notes Drawing and Design Questions and Answers O Drawing and Design Questions and Answers Online Drawing and Design Questions and Answers Pdf Drawing and Design Questions and Answers Pdf for Class 12 Drawing and Design Questions and Answers Pdf for Competitive Exams Drawing and Design Questions and Answers-form 2 Drawing and Design Questions for High School Drawing and Design Questions for High School Students With Answers Drawing and Design Questions for Senior 1 Drawing and Design Questions for Senior 2 Drawing and Design Questions for Senior 3 Drawing and Design Questions for Senior 4 Drawing and Design Questions for Senior 5 Drawing and Design Questions for Senior 6 Drawing and Design Questions for Senior Five Drawing and Design Questions for Senior Four Drawing and Design Questions for Senior One Drawing and Design Questions for Senior Six Drawing and Design Questions for Senior Three Drawing and Design Questions for Senior Two Drawing and Design Questions Form One Drawing and Design Questions Multiple Choice Drawing and Design Questions Quizlet Drawing and Design Questions to Ask Your Teacher Drawing and Design Quetion and Answer Form Four Drawing and Design Quetion and Answer Form One Drawing and Design Quetion and Answer Form Three Drawing and Design Quetion and Answer Form Two Drawing and Design Quiz for Class 9 Drawing and Design Quiz for Class 9 Drawing and Design Drawing and Design Quiz Questions and Answers for Class 10 Drawing and Design Quiz Questions and Answers for Class 10 Pdf Drawing and Design Quiz Questions and Answers for Class 12 Drawing and Design Quiz Questions and Answers for Class 9 Drawing and Design Quiz Questions and Answers for Class 9 Pdf Drawing and Design Quiz Questions and Answers for High School Drawing and Design Quiz Questions and Answers Multiple Choice Drawing and Design Quiz Questions and Answers Pdf Drawing and Design Quiz Questions for Class 12 Drawing and Design Quiz Questions for College Students Drawing and Design Quiz With Answers Drawing and Design Quiz With Answers Pdf Drawing and Design Quizlet Drawing and Design Revision Drawing and Design Revision a Level Drawing and Design Revision Drawing and Design Notes Drawing and Design Drawing and Design Revision Exam Drawing and Design Revision Examination Drawing and Design Revision Form One Drawing and Design Revision Notes Drawing and Design Revision Notes Drawing and Design Drawing and Design Revision Notes Form 1 Drawing and Design Revision Notes Form 2 Drawing and Design Revision Notes Form 3 Drawing and Design Revision Notes Form 4 Drawing and Design Revision Notes IGCSE Drawing and Design Revision Paper One Drawing and Design Revision Questions Drawing and Design Revision Questions and Answers Drawing and Design Revision Questions and Answers Form 1 Drawing and Design Revision Questions and Answers Form 2 Drawing and Design Revision Questions and Answers Form 3 Drawing and Design Revision Questions and Answers Form 4 Drawing and Design Revision Questions and Answers Form Four Drawing and Design Revision Questions and Answers Form One Drawing and Design Revision Questions and Answers Form Three Drawing and Design Revision Questions and Answers Form Two Drawing and Design Revision Questions Form 1 Drawing and Design Revision Questions Form 2 Drawing and Design Revision Questions Form 3 Drawing and Design Revision Questions Form 4 Drawing and Design Revision Questions Form Four Drawing and Design Revision Questions Form One Drawing and Design Revision Questions Form Three Drawing and Design Revision Questions Form Two Drawing and Design Revision Quiz Drawing and Design Revision Test Drawing and Design Secondary School Revision Drawing and Design Simple Notes Drawing and Design Spm Notes Download Drawing and Design Spm Notes Pdf Drawing and Design Spm Questions Drawing and Design Study Form 2 Drawing and Design Study Guide Drawing and Design Study Guide Answer Key Drawing and Design Study Guide Answers Drawing and Design Study Guide Drawing and Design Questions and Answers Drawing and Design Study Guide Ib Drawing and Design Study Guide Pdf Drawing and Design Study Guides Drawing and Design Study Notes Drawing and Design Study Notes Materials Form 1 Pdf Drawing and Design Study Notes Materials Form 2 3 Pdf Drawing and Design Study Notes Materials Form 2 Pdf Drawing and Design Study Notes Materials Form 3 Pdf Drawing and Design Study Notes Materials Form 4 Pdf Drawing and Design Syllabus in Kenya Drawing and Design Syllabus Pdf Drawing and Design Test 1 Quizlet Drawing and Design Test Questions Drawing and Design Test Questions and Answers Drawing and Design Test Questions and Answers Pdf Drawing and Design Topic One Form Four Drawing and Design Topics Form One Drawing and Design Unit 1 Quiz Drawing and Design Vol 3 Drawing and Design | Revision Drawing and Design Drawing and Design,form 4 Drawing and Design.form Four.topic Three Drawing and DesignExam Form Three Drawing and DesignModule Form 5 Drawing and DesignNotes Drawing and DesignNotes for Class 11 Pdf Drawing and DesignNotes for Class 12 Pdf Drawing and DesignNotes Form 1 Drawing and DesignNotes Form 1 Free Download Drawing and DesignNotes Form 2 Drawing and DesignNotes Form 3 Drawing and DesignNotes Form 3 Pdf Drawing and DesignNotes IGCSE Drawing and DesignNotes Pdf Drawing and DesignPast Papers Drawing and DesignQuestions and Answers Pdf Drawing and DesignSimple Notes Drawing and DesignSpm Notes Download Drawing and DesignSpm Notes Pdf Drawing and DesignSpm Questions Drawing and DesignStudy Guide Answers Drawing and DesignStudy Guide Pdf Drawing and DesignStudy Guides Blologytextpapers Bridge Drawing and Design Business Past KCSE Past Papers Business Studies Form 3 Notes Pdf Business Studies Form 4 Notes Pdf C R E Form One KLB C R E Form One Oli Topic C.r.e Form 1 Notes Kenya C.r.e Form 2 Notes Kenya C.r.e Form 3 Notes C.r.e Form 3 Notes Kenya C.r.e Form 3 Pdf C.r.e Form 4 Notes Kenya C.r.e Form One Notes Pdf C.r.e Notes Form 1 C.r.e Revision Notes C.r.e Short Notes Cambridge IGCSE Drawing and Design Cambridge IGCSE Drawing and Design 3rd Edition Cambridge IGCSE Drawing and Design 3rd Edition Plus Cd South Asia Edition Cambridge IGCSE Drawing and Design Answers Cambridge IGCSE Drawing and Design Coursebook Pdf Download Cambridge IGCSE Drawing and Design Practical Workbook Cambridge IGCSE Drawing and Design Revision Guide Pdf Cambridge IGCSE Drawing and Design Study and Revision Guide 2nd Edition Pdf Cambridge IGCSE Drawing and Design Study and Revision Guide Pdf Cambridge IGCSE Drawing and Design Workbook Free Download Cambridge IGCSE Drawing and Design Workbook Pdf Cambridge IGCSE® Drawing and Design Coursebook Caucasian Chalk Circle Essay Questions Chapter 1 Introduction to Drawing and Design Chapter 1 Introduction to Drawing and Design Studies Cie a Level Drawing and Design Notes 2016 Cie a Level Drawing and Design Notes Pdf Cie Past Papers Class 10 Drawing and Design Chapter 1 Mcqs Class 8 Drawing and Design Notes KCSE-kcse College Drawing and Design Notes College Drawing and Design Practice Test College Drawing and Design Quiz College Drawing and Design Quiz Chapter 1 College Drawing and Design Quizlet College Drawing and Design Study Guide College Drawing and Design Study Guide Pdf College Drawing and Design Test Questions and Answers College Drawing and Design Volume 3 Pdf College Drawing and DesignNotes Complete Drawing and Design for Cambridge IGCSE Complete Drawing and Design for Cambridge IGCSE Revision Guide Pdf County Mocks 2017 Cse Past Papers Drawing and Design 2017 Dl Drawing and Design Form 3 Pdf Kusoma Download Drawing and Design Form 1 Download Drawing and Design Form 2 Download Drawing and Design Form 2 Notes Download Drawing and Design Form 3 Download Drawing and Design Form 3 Notes Download Drawing and Design Form 4 Download Drawing and Design Form Four Download Drawing and Design Form One Download Drawing and Design Form Three Download Drawing and Design Form Two Download Drawing and Design Notes Form 3 Download Drawing and Design Notes Form One Download Drawing and DesignNotes Form 3 Download Form Three Drawing and Design Notes Download Free KCSE Past Papers Drawing and Design Download Free KCSE Past Papers From KNEC. Download KCSE Past Papers With Answers Download KCSE Revision Notes Download KLB Drawing and Design Book 2 Download KLB Drawing and Design Book 3 Download KLB Drawing and Design Book 4 Download Notes of Drawing and Design Downloads | Drawing and Design | Form Four Exams | Exams Downloads | Drawing and Design | Form One Exams | Exams Downloads | Drawing and Design | Form Three Exams | Exams Downloads | Drawing and Design | Form Two Exams | Exams Downloads | KCSE Papers and Marking Schemes | Dvance KCSE Past Papers Easy Drawing and Design Questions Edexcel a Level Drawing and Design B Edexcel a Level Drawing and Design Notes Pdf Edexcel a Level Drawing and Design Salters Nuffield Edexcel A2 Drawing and Design Notes Edexcel as Drawing and Design Revision Guide Pdf Edexcel Drawing and Design A2 Revision Notes Pdf Edexcel Drawing and Design Unit 2 Revision Notes Edexcel GCSE Drawing and Design Revision Guide Pdf Edexcel IGCSE Drawing and Design Past Papers Edexcel IGCSE Drawing and Design Revision Guide Free Pdf Download Edexcel IGCSE Drawing and Design Revision Guide Pdf Edexcel IGCSE Drawing and Design Revision Guide Pdf Download Electronics Form Four Notes Energy Questions Drawing and Design Bowl Essay Questions and Answers KCSE Drawing and Design Notes Essay Questions and Answers on Betrayal in the City Essay Questions Based on Betrayal in the City Evolving World Drawing and Design Book 1 Pdf Evolving World Drawing and Design Book 4 Notes Evolving World Drawing and Design Book Form 1 Evolving World-history Book 3 Exam Notes for Drawing and Design 101 Exams KCSE Drawing and Design Paper 1 Questions and Answers F3 Drawing and Design Test Paper Find Download KCSE Past Papers With Answers Find KCSE Drawing and Design Essay Questions and Answers Form 1 Drawing and Design Exam Form 1 Drawing and Design Notes Form 1 Drawing and Design Questions and Answers Form 1 Drawing and Design Questions and Answers Pdf Form 1 Drawing and Design Revision Notes Form 1 Drawing and Design Summurized Revision Pdf Form 1 Drawing and Design Syllabus Form 1 Drawing and Design Test Paper Pdf Form 1 Drawing and Design Topics Form 1 Drawing and DesignNotes Form 1 Drawing and DesignQuestions and Answers Form 1 Drawing and DesignRevision Notes Form 1 Drawing and DesignSyllabus Form 1 Drawing and DesignTest Paper Pdf Form 1 Past Papers Form 1 Past Papers With Answers Form 1 Revision Papers Form 1 Subjects in Kenya Form 2 Drawing and Design Exam Form 2 Drawing and Design Exam Paper Form 2 Drawing and Design Exam Paper 2016 Form 2 Drawing and Design Exam Paper Free Download Form 2 Drawing and Design Exam Paper With Answer Form 2 Drawing and Design Final Year Exam Paper 2 Form 2 Drawing and Design Notes Form 2 Drawing and Design Notes and Revision Questions Form 2 Drawing and Design Notes Pdf Form 2 Drawing and Design Past Papers Form 2 Drawing and Design Questions Form 2 Drawing and Design Questions and Answers Form 2 Drawing and Design Questions and Answers > Form 2 Drawing and Design Questions and Answers Pdf Form 2 Drawing and Design Revision Notes Form 2 Drawing and Design Short Notes Form 2 Drawing and Design Syllabus Form 2 Drawing and DesignExam Paper Form 2 Drawing and DesignExam Paper Free Download Form 2 Drawing and DesignExam Paper With Answer Form 2 Drawing and DesignFinal Year Exam Paper 2 Form 2 Drawing and DesignPast Papers Form 2 Drawing and DesignRevision Notes Form 2 Drawing and DesignShort Notes Form 2 Drawing and DesignSyllabus Form 2 Revision Papers Form 2 Subjects in Kenya Form 3 Drawing and Design Book Form 3 Drawing and Design Exam Form 3 Drawing and Design Exam Paper Form 3 Drawing and Design Notes Form 3 Drawing and Design Past Papers Form 3 Drawing and Design Questions Form 3 Drawing and Design Questions and Answers Form 3 Drawing and Design Questions and Answers Pdf Form 3 Drawing and Design Revision Notes Form 3 Drawing and Design Syllabus Form 3 Drawing and DesignExam Paper Form 3 Drawing and DesignNotes Form 3 Drawing and DesignPast Papers Form 3 Drawing and DesignQuestions Form 3 Drawing and DesignQuestions and Answers Pdf Form 3 Drawing and DesignRevision Notes Form 3 Drawing and DesignSyllabus Form 3 C.r.e Form 3 Notes of Drawing and Design Topic on Fish Form 3 Past Papers Form 3 Revision Papers Form 3 Subjects in Kenya Form 4 Drawing and Design Exam Form 4 Drawing and Design Notes Form 4 Drawing and Design Notes Pdf Form 4 Drawing and Design Questions and Answers Form 4 Drawing and Design Questions and Answers Pdf Form 4 Drawing and Design Revision Notes Form 4 Drawing and Design Syllabus Form 4 Drawing and Design Topics Form 4 Drawing and DesignNotes Form 4 Drawing and DesignRevision Notes Form 4 Drawing and DesignSyllabus Form 4 Drawing and DesignTopics Form 4 Exam Papers Form 4 Revision Papers Form 4 Subjects in Kenya Form 5 Drawing and Design Topics Form 5 Drawing and DesignTopics Form Five Drawing and Design Notes Form Five Drawing and DesignNotes Form Four Drawing and Design Book Form Four Drawing and Design Notes Form Four Drawing and Design Notes Pdf Form Four Drawing and Design Questions and Answers Form Four Drawing and Design Questions and Answers Pdf Form Four Drawing and Design Revision Questions Form Four Drawing and Design Syllabus Form Four Drawing and Design Topics Form Four Drawing and DesignNotes Form Four Drawing and DesignQuestions and Answers Form Four Drawing and DesignQuestions and Answers Pdf Form Four Drawing and DesignTopics Form Four Notes Form Four Revision Papers Form Four Subjects in Kenya Form One Drawing and Design Book Form One Drawing and Design Examination Form One Drawing and Design First Topic Form One Drawing and Design Lesson Plan Form One Drawing and Design Notes Pdf Form One Drawing and Design Past Papers Pdf Form One Drawing and Design Questions Form One Drawing and Design Questions and Answers Form One Drawing and Design Questions and Answers Pdf Form One Drawing and Design Revision Questions Form One Drawing and Design Short Notes Form One Drawing and Design Syllabus Form One Drawing and Design Topics Form One Drawing and DesignExamination Form One Drawing and DesignPast Papers Pdf Form One Drawing and DesignQuestions and Answers Form One Drawing and DesignQuestions and Answers Pdf Form One Drawing and DesignTopics Form One Exams Form One Notes of Drawing and Design Form One Past Papers Form One Subjects in Kenya Form One Term One Drawing and Design Exam Form One Term One Drawing and DesignExam Form Three Drawing and Design Book Form Three Drawing and Design Book Pdf Form Three Drawing and Design Notes Form Three Drawing and Design Notes Pdf Form Three Drawing and Design Questions and Answers Form Three Drawing and Design Questions and Answers Pdf Form Three Drawing and Design Revision Questions Form Three Drawing and Design Syllabus Form Three Drawing and Design Topics Form Three Drawing and DesignNotes Form Three Drawing and DesignNotes Pdf Form Three Drawing and DesignQuestions and Answers Form Three Drawing and DesignQuestions and Answers Pdf Form Three Drawing and DesignTopics Form Three Subjects in Kenya Form Two Drawing and Design Book Form Two Drawing and Design Cat Form Two Drawing and Design Examination Form Two Drawing and Design Notes Form Two Drawing and Design Notes Pdf Form Two Drawing and Design Past Papers Form Two Drawing and Design Questions and Answers Form Two Drawing and Design Questions and Answers Pdf Form Two Drawing and Design Revision Questions Form Two Drawing and Design Syllabus Form Two Drawing and Design Topics Form Two Drawing and DesignNotes Form Two Drawing and DesignNotes Pdf Form Two Drawing and DesignQuestions and Answers Form Two Drawing and DesignQuestions and Answers Pdf Form Two Drawing and DesignSyllabus Form Two Drawing and DesignTopics Form Two Notes Form Two Subjects in Kenya Free a-level Drawing and Design Revision App | Pass Your Drawing and Design Exams Free Drawing and Design Form 1 Notes Free Drawing and Design Notes Form 1 Free Drawing and Design Notes Pdf Free Drawing and DesignNotes Pdf Free College Drawing and Design Practice Test Free Form1,form2,form3 Past Papers Free KCSE Past Papers Free KCSE Mocks 2015 Free KCSE Past Papers 2014 Free KCSE Past Papers KCSE Past Free KCSE Past Papers Kenya, Free KCSE Past Papers With Answers Free KCSE Questions and Answers on Drawing and Design Free KCSE Revision Notes Free Marking Schemes Free Mocks Online KCSE Answers Past Exams Question Papers Free Revision Papers From Three Notes Topic One KLB Fun Drawing and Design Questions Funny Drawing and Design Questions Funny Drawing and Design Questions and Answers Funny Drawing and Design Questions to Ask Funny Drawing and Design Quotes GCSE Drawing and Design Exam Questions and Answers GCSE Drawing and Design Past Papers GCSE Drawing and Design Revision GCSE Drawing and Design Revision Notes GCSE Drawing and Design Revision Notes Pdf GCSE Drawing and Design Revision Notes Pdf 9-1 GCSE Drawing and Design Revision Questions and Answers GCSE Drawing and Design Textbook Pdf GCSE Drawing and Design Topics Pass My Exams: Easy Exam Revision Notes General Drawing and Design Notes Pdf General Drawing and Design Practice Test With Answers General Drawing and Design Quiz General Drawing and Design Quiz Pdf General Drawing and Design Test Questions and Answers General Drawing and Design Test Questions and Answers Pdf General Knowledge in Drawing and Design Human Body Good Drawing and Design Questions to Ask GRE Drawing and Design Practice Test GRE Drawing and Design Subject Test Pdf Handbook of Drawing and Design Pdf Free Download Hard Drawing and Design Questions Hard Drawing and Design Questions and Answers Hard Drawing and Design Questions to Ask Your Teacher Hard Drawing and Design Quiz Questions Hard Form 3 Drawing and Design Question High School Drawing and Design Final Exam Doc High School Drawing and Design Final Exam Pdf High School Drawing and Design Final Exam Questions High School Drawing and Design Final Exam Questions and Answers High School Drawing and Design Notes High School Drawing and Design Practice Test High School Drawing and Design Pretest With Answers High School Drawing and Design Questions and Answers Pdf High School Drawing and Design Study Guide High School Drawing and Design Test Questions and Answers Pdf High School Drawing and DesignNotes High School Drawing and DesignStudy Guide How to Answer KCSE Drawing and Design Question How to Motivate a Form 4 Student How to Motivate a KCSE Candidate How to Motivate a KCSE Student How to Pass Drawing and Design Questions & Answers Form 1&2 | Text Book How to Revise Drawing and Design How to Revise Effectively for KCSE How to Study Drawing and Design: 5 Study Techniques to Master Drawing and Design Hsc Drawing and Design 2018 Hsc Drawing and Design 2019 Https://www.knec.ac.ke/ Www.knec-portal.ac.ke/ KNEC Portal: Ial Drawing and Design Notes Ib Drawing and Design Cold War Notes Ib Drawing and Design Notes Ib Drawing and Design Notes Pdf Ib Drawing and Design of the Americas Notes Ib Drawing and Design of the Americas Study Guide Ib Drawing and Design Paper 2 Study Guide Ib Drawing and Design Question Bank by Topic Ib Drawing and Design Study Guide Pdf Ict Notes Form 1 IGCSE Drawing and Design Alternative to Practical Revision IGCSE Drawing and Design Alternative to Practical Revision Notes IGCSE Drawing and Design Book IGCSE Drawing and Design Book Pdf Download IGCSE Drawing and Design Notes IGCSE Drawing and Design Notes 2017 Pdf IGCSE Drawing and Design Notes Edexcel IGCSE Drawing and Design Paper 2 Notes IGCSE Drawing and Design Paper 6 Notes IGCSE Drawing and Design Past Papers IGCSE Drawing and Design Past Papers 2014 IGCSE Drawing and Design Past Papers 2017 IGCSE Drawing and Design Pdf IGCSE Drawing and Design Pre Release Material 2018 IGCSE Drawing and Design Resources IGCSE Drawing and Design Revision Guide IGCSE Drawing and Design Revision Guide Free Download IGCSE Drawing and Design Revision Guide Pdf Download IGCSE Drawing and Design Revision Notes Pdf IGCSE Drawing and Design Revision Worksheets IGCSE Drawing and Design Workbook Pdf IGCSE Drawing and Design Znotes IGCSE Drawing and DesignPast Papers IGCSE Notes Drawing and Design Importance of Agroforestry Inorganic Drawing and Design Multiple Choice Questions With Answers Pdf Inorganic Drawing and Design Questions and Answers Pdf Interesting Drawing and Design Questions Interesting Drawing and Design Questions and Answers Interesting Questions to Ask About Drawing and Design Intro to Drawing and Design Quiz Introduction of Drawing and Design Form One Introduction to Drawing and Design Introduction to Drawing and Design Notes Introduction to Drawing and Design Pdf Introduction to Drawing and DesignNotes Is Agroforestry Sustainable? K.c.s.e Answers Drawing and Design Paper One 2018 K.c.s.e Drawing and Design 2017 K.c.s.e Drawing and Design 2018 K.c.s.e Drawing and Design Paper 1 2017 K.c.s.e Mocks 2018 K.c.s.e Papers 2015 K.c.s.e Papers 2016 K.c.s.e Past Papers 2014 K.c.s.e.Drawing and Design Paper 2 Year 2018 K.c.s.e.results 2018 for Busia County K.l.b Drawing and Design Form 3 K.l.b Drawing and Design Notes K.l.b Drawing and DesignNotes Kasneb Past Papers for Colleges Drawing and Design Past Papers KCSE 2010 Marking Scheme KCSE 2010 Past Papers KCSE 2011 Drawing and Design Paper 1 KCSE 2011 Marking Scheme KCSE 2012 Drawing and Design Paper 2 Marking Scheme KCSE 2012 Marking Schemes KCSE 2013 Drawing and Design Paper 1 KCSE 2013 Marking Scheme KCSE 2013 Marking Scheme Pdf KCSE 2014 KCSE 2015 Drawing and Design Paper 2 KCSE 2015 Drawing and Design Paper 3 KCSE 2015 Marking Scheme KCSE 2015 Past Papers KCSE 2016 Drawing and Design Paper 1 KCSE 2016 Drawing and Design Paper 2 KCSE 2017 Drawing and Design Paper 1 KCSE 2017 Drawing and Design Paper 2 KCSE 2017 Hostory Papers With Answers.com KCSE 2017 Marking Scheme KCSE 2017 Papers KCSE 2017 Papers and Marking Scheme KCSE 2017 Papers Pdf KCSE 2017 Past Papers KCSE 2017 Prediction Pdf KCSE 2018 Drawing and Design and Answers KCSE 2018 Drawing and Design Prediction KCSE 2018 Leakage KCSE 2018 Marking Scheme KCSE 2018 Papers KCSE 2018 Prediction Pdf KCSE 2018 Predictions KCSE 2018 Questions KCSE 2018 Questions and Answers KCSE 2019 Leakage Drawing and Design KCSE 2019 Marking Scheme KCSE 2019 Questions KCSE 2019 Questions and Answers KCSE 2020 Questions KCSE 2020 Questions and Answers KCSE Answers KCSE Answers Past Exams Question Papers Downloads | KCSE Drawing and Design 2011 KCSE Drawing and Design 2016 KCSE Drawing and Design Diagramsbiology Revision Tips KCSE Drawing and Design Essay Questions and Answers KCSE Drawing and Design Essay Questions and Answers Pdf KCSE Drawing and Design Essays KCSE Drawing and Design Essays Pdf KCSE Drawing and Design Marking Schemes KCSE Drawing and Design Notes KCSE Drawing and Design Notes Pdf KCSE Drawing and Design Notes, Syllabus, Questions, Answers KCSE Drawing and Design Paper 1 KCSE Drawing and Design Paper 1 2011 KCSE Drawing and Design Paper 1 2012 KCSE Drawing and Design Paper 1 2013 KCSE Drawing and Design Paper 1 2015 KCSE Drawing and Design Paper 1 2016 KCSE Drawing and Design Paper 1 2017 KCSE Drawing and Design Paper 1 2017 Pdf KCSE Drawing and Design Paper 1 Questions and Answers KCSE Drawing and Design Paper 2 KCSE Drawing and Design Paper 2 2012 KCSE Drawing and Design Paper 2 2012 KCSE Drawing and Design Paper 2 2015 KCSE Drawing and Design Paper 2 2013 KCSE Drawing and Design Paper 2 2014 KCSE Drawing and Design Paper 2 2015 KCSE Drawing and Design Paper 2 2016 KCSE Drawing and Design Paper 2 2017 KCSE Drawing and Design Paper 3 KCSE Drawing and Design Paper 3 2012 KCSE Drawing and Design Paper 3 2016 KCSE Drawing and Design Paper 3 2017 KCSE Drawing and Design Paper 3 Past Papers KCSE Drawing and Design Past Papers KCSE Drawing and Design Past Papers and Answers KCSE Drawing and Design Past Papers Pdf KCSE Drawing and Design Practical KCSE Drawing and Design Practical 2015 KCSE Drawing and Design Practical 2016 KCSE Drawing and Design Practical Past Papers KCSE Drawing and Design Practicals KCSE Drawing and Design Practicals KCSE Drawing and Design Paper 1 KCSE Drawing and Design Question and Answer KCSE Drawing and Design Questions and Answers KCSE Drawing and Design Questions and Answers Ap Drawing and Design KCSE Drawing and Design Revision KCSE Drawing and Design Revision Notes KCSE Drawing and Design Revision Papers KCSE Drawing and Design Revision Questions KCSE Drawing and Design Revision Questions and Answers KCSE Drawing and Design Syllabus KCSE Drawing and DesignNotes KCSE Drawing and DesignPaper 1 KCSE Drawing and DesignPaper 2 KCSE Drawing and DesignPaper 2 Pdf KCSE Drawing and DesignSyllabus KCSE Business Paper 1 2016 KCSE Business Past Papers KCSE Business Studies Past Papers KCSE Essay Questions in Betrayal in the City KCSE Essays KCSE Exam Papers 2018 KCSE Exam Papers Answers KCSE Form 1 Drawing and Design Revision KCSE Form 2 Drawing and Design Revision KCSE Form 3 Drawing and Design Revision KCSE Form 4 Drawing and Design Revision KCSE Form Four Drawing and Design Revision KCSE Form One Drawing and Design Revision KCSE Form Three Drawing and Design Revision KCSE Form Two Drawing and Design Revision KCSE KCSE Past Papers KNEC KCSE Leakage KCSE Leakage Drawing and Design KCSE Made Familiar Drawing and Design KCSE Made Familiar Drawing and Design Pdf KCSE Marking Scheme 2016 KCSE Marking Schemes KCSE Marking Schemes 2017 KCSE Marking Schemes Pdf KCSE Mock Exams KCSE Mock Papers 2015 KCSE Mock Papers 2017 KCSE Mock Papers 2018 KCSE Mock Papers Pdf KCSE Mock Papers Pdf 2018 KCSE Mock Papers Pdf KCSE Past Papers KCSE Mocks 2017 KCSE Mocks 2018 KCSE Notes KCSE Online Notes KCSE Online Past Papers KCSE Online Registration KCSE Papers 2015 KCSE Papers and Marking Schemes | Exams KCSE Past Papers KCSE Past Papers 2007 KCSE Past Papers 2009 KCSE Past Papers 2010 KCSE Past Papers 2011 KCSE Past Papers 2011 Pdf KCSE Past Papers 2012 KCSE Past Papers 2013 KCSE Past Papers 2013knec KCSE Past Papers 2014 KCSE Past Papers 2014 Pdf KCSE Past Papers 2015 KCSE Past Papers 2015 Marking Schemes KCSE Past Papers 2015 Pdf KCSE Past Papers 2016 KCSE Past Papers 2016 Pdf KCSE Past Papers 2017 KCSE Past Papers 2017 Pdf KCSE Past Papers 2018 KCSE Past Papers Drawing and Design KCSE Past Papers Drawing and Design and Answers KCSE Past Papers Drawing and Design Pdf KCSE Past Papers Drawing and Design With Answers KCSE Past Papers Drawing and Designand Answers KCSE Past Papers Business Studies and Answers KCSE Past Papers KCSE and Answers KCSE Past Papers KCSE and Answers Free Mocks Online KCSE Past Papers Marking Scheme KCSE Past Papers Pdf Download KCSE Past Papers Pdf Download KCSE 2013 KCSE Past Papers With Answers KCSE Past Papers Woodwork and Answers KCSE Prediction 2017 KCSE Prediction 2018 KCSE Prediction 2018 Pdf KCSE Prediction Papers 2018 KCSE Prediction Questions KCSE Prediction Questions 2018 KCSE Prediction Questions and Answers KCSE Questions KCSE Questions and Answers KCSE Questions and Answers. KCSE Questions on Drawing and Design KCSE Results, Online Registration, KCSE Result Slip. KCSE Revision KCSE Revision Notes KCSE Revision Notes Drawing and Design KCSE Revision Notes Pdf KCSE Revision Papers KCSE Revision Papers 2014 KCSE Revision Papers With Answers KCSE Revision Question for Drawing and Design KCSE Revision Questions KCSE Revision Questions and Answers KCSE Revision | Secondary School | Text Books | Text Book Centre KCSE Syllabus Pdf KCSE Trial 2017 KCSE Trial Exams 2017 Kenya Secondary School Drawing and Design Syllabus Kenya Secondary School Drawing and Design Syllabus Pdf Kenya Secondary School Drawing and DesignSyllabus Pdf Kenya Secondary School Syllabus Pdf Kenya-kcse-christian Religious Education Syllabus Kenyaplex KCSE Past Papers Kenyaplex Past Papers for Secondary KLB Drawing and Design Book 1 Download KLB Drawing and Design Book 1 Notes KLB Drawing and Design Book 1 Pdf KLB Drawing and Design Book 2 KLB Drawing and Design Book 2 Notes KLB Drawing and Design Book 2 Notes Pdf KLB Drawing and Design Book 2 Pdf KLB Drawing and Design Book 3 Notes KLB Drawing and Design Book 3 Pdf KLB Drawing and Design Book 3 Pdf Download KLB Drawing and Design Book 4 Notes KLB Drawing and Design Book 4 Pdf KLB Drawing and Design Book 4 Pdf Download KLB Drawing and Design Book 4 Topics KLB Drawing and Design Book One KLB Drawing and Design Form 1 KLB Drawing and Design Form 1 Notes KLB Drawing and Design Form 1 Pdf KLB Drawing and Design Form 2 KLB Drawing and Design Form 2 Book KLB Drawing and Design Form 2 Notes KLB Drawing and Design Form 2 Pdf KLB Drawing and Design Form 2 Pdf Download KLB Drawing and Design Form 2 Schemes of Work KLB Drawing and Design Form 3 KLB Drawing and Design Form 3 Notes KLB Drawing and Design Form 3 Notes Pdf KLB Drawing and Design Form 3 Pdf KLB Drawing and Design Form 3 Pdf Download KLB Drawing and Design Form 4 KLB Drawing and Design Form 4 Notes KLB Drawing and Design Form 4 Pdf KLB Drawing and Design Form Four KLB Drawing and Design Form Four Notes KLB Drawing and Design Form One KLB Drawing and Design Form One Notes KLB Drawing and Design Form Three KLB Drawing and Design Form Three Notes KLB Drawing and Design Form Two KLB Drawing and Design Form Two Notes KLB Drawing and Design Notes KLB Drawing and Design Notes Form 4 KLB Drawing and Design Pdf KLB Drawing and DesignNotes KLB Drawing and DesignNotes Form 4 KLB Drawing and DesignPdf KNEC Drawing and Design Syllabus KNEC Examiners Portal KNEC Website KNEC Ict Past Papers KNEC Past Papers for Colleges KNEC Past Papers Free Download KNEC Past Papers Free Downloads KNEC Past Papers Pdf KNEC Portal Confirmation KNEC Portal KCSE Results KNEC Portal KNEC Past Papers for Colleges Kasneb Past Papers KNEC Revision Papers KNEC Technical Exams Past Papers Kusoma Drawing and Design Notes Kusoma Drawing and Design Notes Pdf Kusoma Notes Drawing and Design Kusoma.co.ke Kusoma.com Past Papers Learner Guide for Cambridge IGCSE Drawing and Design Longhorn Drawing and Design Book 3 Pdf Made Familiar Drawing and Design Made Familiar Drawing and Design Pdf Made Familiar Drawing and Design Questions Maktaba Tetea Notes Marking Scheme KCSE Drawing and Design Past Papers Math Form2 Note Mcqs About Gaseous Exchange Middle School Drawing and Design Bowl Drawing and Design Questions Mock Past Papers 2017 Mock Past Papers With Answers Mokasa Mock 2017 More Than 1800 Drawing and Design Questions and Answers to Help You Study Multiple Choice Questions on Drawing and Design Necta Drawing and Design Past Papers Necta Drawing and Design Practicals Necta Drawing and DesignPast Papers Necta Drawing and DesignPracticals Necta Form Four Past Papers Necta Past Papers Form 4 Necta Past Papers Form 4 2016 Necta Past Papers Form Six Necta Past Papers Form Two Necta Questions and Answers Necta Review Questions Notes Drawing and Design Form 1 Notes Drawing and Design Form 2 Notes Drawing and Design Form 3 Notes Drawing and Design Form 3 Notes Pdf Notes Drawing and Design Form 3 Syllabus Notes Drawing and Design Form 4 Syllabus Notes on Drawing and Design Studies Notes Za Drawing and Design 4m 2 Notes Za Drawing and Design Form One Notes Za Drawing and Design Form Three O Level Drawing and Design Practical Experiments O Level Drawing and Design Questions and Answers Pdf Orm Three Drawing and Design Notes Page Navigation Papacambridge Drawing and Design IGCSE Papers KNEC KCSE Online Past Papers KNEC KCSE Results Past Papers Past KCSE Papers Past Paper Questions by Topic Drawing and Design Past Papers 2014 Past Papers in Kenya Pdf Drawing and Design Form 3 Pdf Drawing and Design Notes Pdf Drawing and Design Notes Form 1 Pdf Drawing and Design Notes Form 2 Pdf Drawing and Design Notes Form 3 Pdf Drawing and Design Notes Form 4 Pdf Drawing and Design Notes Form Four Pdf Drawing and Design Notes Form One Pdf Drawing and Design Notes Form Three Pdf Drawing and Design Notes Form Two Pdf Form 1 Drawing and Design Questions and Answers Pdf Form 2 Drawing and Design Questions and Answers Pdf Form 3 Drawing and Design Questions and Answers Pdf Form 4 Drawing and Design Questions and Answers Pdf Form Four Drawing and Design Questions and Answers Pdf Form One Drawing and Design Questions and Answers Pdf Form Three Drawing and Design Questions and Answers Pdf Form Two Drawing and Design Questions and Answers Pdf Free KCSE Past Papers and Marking Schemes Pdf" Revision Questions Drawing and Design Form 1 Practical Drawing and Design Experiments Pdf Practical Drawing and Design Question and Answer Pdf Pre Mocks 2018 Preliminary Drawing and Design Primary and Secondary Tillage Implements Ppt Pte KNEC Past Papers Questions and Answers Pdf Drawing and Design Form 1 Questions and Answers Pdf Drawing and Design Form 2 Questions and Answers Pdf Drawing and Design Form 3 Questions and Answers Pdf Drawing and Design Form 4 Questions and Answers Pdf Drawing and Design Form Four Questions and Answers Pdf Drawing and Design Form One Questions and Answers Pdf Drawing and Design Form Three Questions and Answers Pdf Drawing and Design Form Two Questions Based to Introduction to Drawing and Design Questions on Gaseous Exchange in Humans Questions on Introduction to Drawing and Design Questions to Ask in Drawing and Design Class Questions to Confuse Your Drawing and Design Teacher Quizlet Drawing and Design Test Quizlet Test Questions Qustions in Drawing and Design and Answers Revision Revision Drawing and Design Notes and Questions? Revision Quiz for Drawing and Design for Form Three S.1 Drawing and Design Questions S.2 Drawing and Design Questions S.3 Drawing and Design Questions S.4 Drawing and Design Questions Sample Essays on Betrayal in the City School Drawing and Design Notes Secondary Drawing and Design Notes Secondary Drawing and Design Notes Pdf Secondary Drawing and DesignNotes Pdf Senior 1 Drawing and Design Notes Senior 2 Drawing and Design Notes Senior 3 Drawing and Design Notes Senior 4 Drawing and Design Notes Senior 5 Drawing and Design Notes Senior 6 Drawing and Design Notes Senior Five Drawing and Design Notes Senior Four Drawing and Design Notes Senior One Drawing and Design Notes Senior Six Drawing and Design Notes Senior Three Drawing and Design Notes Senior Two Drawing and Design Notes Simple Scientific Questions Smart Questions to Ask a Drawing and Design Teacher Snab Drawing and Design Revision Notes Southwest Mock Paper 2 2016 Drawing and Design Only Spm Drawing and Design Revision Notes Spm Notes Success Drawing and Design Spm Pdf Success Drawing and DesignSpm Pdf Summary of Drawing and Design Form 3 Tahossa Past Papers To Motivate a Form 4 KCSE Student To Motivate a Form 4 Student Topical Revision Material Tricky Drawing and Design Questions and Answers Tricky Drawing and Design Questions for Adults Tricky Drawing and Design Questions With Answers Tricky Drawing and Design Quiz Questions Two Drawing and Design Revision Questions University Drawing and Design Volume 3 Openstax University Drawing and Design Volume 3 Pdf University Drawing and Design Volume 4 Pdf Ur Revision Guide IGCSE Drawing and Design What Are the Types of Gametes Working of Excretory System Www.Drawing and Design Form One Notes.com Www.Drawing and Design From One KLB.com Www.form 1 Drawing and Design.com Www.form 2 Drawing and Design.com Www.form 3 Drawing and Design.com Www.form 4 Drawing and Design.com Www.form Four Drawing and Design.com Www.form One Drawing and Design.com Www.form Three Drawing and Design.com Www.form Two Drawing and Design.com Www.kusoma Notes Www.kusoma Revision Materials Www.kusoma.co.ke Drawing and Design Notes Xtremepapers IGCSE Drawing and Design Year 11 Drawing and Design Z Notes Drawing and Design IGCSE Znotes as Drawing and Design 15 Common Drawing and Design Questions From Form 1 15 Common Drawing and Design Questions From Form 2 15 Common Drawing and Design Questions From Form 3 15 Common Drawing and Design Questions From Form 4 15 Common Drawing and Design Questions From Form Four 15 Common Drawing and Design Questions From Form One 15 Common Drawing and Design Questions From Form Three 15 Common Drawing and Design Questions From Form Two 150 Common Drawing and Design Questions From Form 1 150 Common Drawing and Design Questions From Form 2 150 Common Drawing and Design Questions From Form 3 150 Common Drawing and Design Questions From Form 4 150 Common Drawing and Design Questions From Form Four 150 Common Drawing and Design Questions From Form One 150 Common Drawing and Design Questions From Form Three 150 Common Drawing and Design Questions From Form Two 2019 KCSE Exams Drawing and Design Papers All Subjects Online Form1 Notes All Subjects Online Form2 Notes All Subjects Online Form3 Notes All Subjects Online Form4 Notes All Subjects Online Form 1 Notes All Subjects Online Form 2 Notes All Subjects Online Form 3 Notes All Subjects Online Form 4 Notes All Subjects Online Form One Notes All Subjects Online Form Two Notes All Subjects Online Form Three Notes All Subjects Online Form Four Notes 2019 KCSE Exams Papers 2020 KCSE Exams Drawing and Design Papers 2021 KCSE Exams Drawing and Design Papers Best Drawing and Design Books for KCSE Knec Drawing and Design Drawing and Design 2 Topic Form Two Drawing and Design Diagrams Drawing and Design Form 1 and 2 Notes Drawing and Design Form 1 Download Drawing and Design Form 1 Notes Online Drawing and Design Form 1 Notes Revision Drawing and Design Form 1 Pastpapers and Marking Scheme Drawing and Design Form 1 Questions and Answers Pdf Drawing and Design Form 1 Revision Notes Drawing and Design Form 1 Text Book Drawing and Design Form 1 Text Book Notes Drawing and Design Form 2 Download Drawing and Design Form 2 Notes Drawing and Design Form 2 Notes Online Drawing and Design Form 2 Notes Revision Drawing and Design Form 2 Pastpapers and Marking Scheme Drawing and Design Form 2 Pdf Drawing and Design Form 2 Questions and Answers Pdf Drawing and Design Form 2 Revision Notes Drawing and Design Form 2 Text Book Drawing and Design Form 2 Text Book Notes Drawing and Design Form 3 Download Drawing and Design Form 3 Notes Online Drawing and Design Form 3 Notes Revision Drawing and Design Form 3 Pastpapers and Marking Scheme Drawing and Design Form 3 Questions and Answers Pdf Drawing and Design Form 3 Revision Notes Drawing and Design Form 3 Text Book Drawing and Design Form 3 Text Book Notes Drawing and Design Form 4 Download Drawing and Design Form 4 Notes Online Drawing and Design Form 4 Notes Revision Drawing and Design Form 4 Pastpapers and Marking Scheme Drawing and Design Form 4 Questions and Answers Pdf Drawing and Design Form 4 Revision Notes Drawing and Design Form 4 Text Book Drawing and Design Form 4 Text Book Notes Drawing and Design Form Four Download Drawing and Design Form Four Notes Online Drawing and Design Form Four Notes Revision Drawing and Design Form Four Pastpapers and Marking Scheme Drawing and Design Form Four Questions and Answers Pdf Drawing and Design Form Four Revision Notes Drawing and Design Form Four Text Book Drawing and Design Form Four Text Book Notes Drawing and Design Form One Download Drawing and Design Form One Notes Online Drawing and Design Form One Notes Revision Drawing and Design Form One Pastpapers and Marking Scheme Drawing and Design Form One Questions and Answers Drawing and Design Form One Questions and Answers Pdf Drawing and Design Form One Revision Notes Drawing and Design Form One Text Book Drawing and Design Form One Text Book Notes Drawing and Design Form Three Download Drawing and Design Form Three Notes Online Drawing and Design Form Three Notes Revision Drawing and Design Form Three Pastpapers and Marking Scheme Drawing and Design Form Three Questions and Answers Pdf Drawing and Design Form Three Revision Notes Drawing and Design Form Three Text Book Drawing and Design Form Three Text Book Notes Drawing and Design Form Two Download Drawing and Design Form Two Notes Online Drawing and Design Form Two Notes Revision Drawing and Design Form Two Pastpapers and Marking Scheme Drawing and Design Form Two Questions and Answers Pdf Drawing and Design Form Two Revision Notes Drawing and Design Form Two Text Book Drawing and Design Form Two Text Book Notes Drawing and Design Full Exam Papers Drawing and Design K.C.S.E Revision Papers Drawing and Design KCSE Revision Drawing and Design Notes Book Four Drawing and Design Notes Book One Drawing and Design Notes Book Three Drawing and Design Notes Book Two Drawing and Design Notes Form 2 Drawing and Design Questions and Answers for High Schools Pdf Drawing and Design Questions and Answers Form 1 Drawing and Design Questions and Answers Form 2 Drawing and Design Questions and Answers Form 3 Drawing and Design Short Note for Revising Form 1 Drawing and Design Short Note for Revising Form 2 Drawing and Design Short Note for Revising Form 3 Drawing and Design Short Note for Revising Form 4 Drawing and Design Short Note for Revising Form Four Drawing and Design Short Note for Revising Form One Drawing and Design Short Note for Revising Form Three Drawing and Design Short Note for Revising Form Two Drawing and Design Short Notes Form 1 Drawing and Design Short Notes Form 2 Drawing and Design Short Notes Form 3 Drawing and Design Short Notes Form 4 Drawing and Design Short Notes Form Four Drawing and Design Short Notes Form One Drawing and Design Short Notes Form Three Drawing and Design Short Notes Form Two Drawing and Design Form 2 Questions and Answers Pdf Brief Notes Drawing and Design Form 1 Brief Notes Drawing and Design Form 2 Brief Notes Drawing and Design Form 3 Brief Notes Drawing and Design Form 4 Brief Notes Drawing and Design Form Four Brief Notes Drawing and Design Form One Brief Notes Drawing and Design Form Three Brief Notes Drawing and Design Form Two Brief Notes Drawing and Design Form3 Chapter1 Download Book 1 Drawing and Design Notes Download Book 2 Drawing and Design Notes Download Book 3 Drawing and Design Notes Download Book 4 Drawing and Design Notes Download Book Four Drawing and Design Notes Download Book One Drawing and Design Notes Download Book Three Drawing and Design Notes Download Book Two Drawing and Design Notes Download Book1 Drawing and Design Notes Download Book2 Drawing and Design Notes Download Book3 Drawing and Design Notes Download Book4 Drawing and Design Notes Download KCSE Drawing and Design Study Notes Download Secondary Subjects Download Secondary Subjects in Kenya Download Secondary Subjects KCSE Exams Revision Kenya Exams Revision Kenya KCSE Expected Questions and Answers in Drawing and Design Form One Form 2 Drawing and Design Notes Form 2 Drawing and Design Notes Pdf Form 2 Drawing and Design Topics Form 3 Drawing and Design Book Pdf Form Iii Topics of Drawing and Design Revisios How to Answer Drawing and Design Paper 1 Questions? How to Answer Drawing and Design Paper 2 Questions? How to Answer Drawing and Design Paper 3 Questions? How to Answer KCSE Drawing and Design Paper 1 Questions? How to Answer KCSE Drawing and Design Paper 2 Questions? How to Answer KCSE Drawing and Design Paper 3 Questions? How to Answer Paper 1 Drawing and Design Questions? How to Answer Paper 2 Drawing and Design Questions? How to Answer Paper 3 Drawing and Design Questions? K.C.S.E Revision Papers K.C.S.E Revision Papers Drawing and Design KCSE Drawing and Design Essay Questions and Answers Pdf KCSE Drawing and Design Revisions KCSE Drawing and Design Study Notes KCSE Free Drawing and Design Qussions KCSE Free Qussions KCSE Revision Kenya KCSE Revisions Drawing and Design Form Two Questions Revision Kenya Revision Kenya Kcsse Sammary Note for Drawing and Design Form 1 Sammary Note for Drawing and Design Form 2 Sammary Note for Drawing and Design Form 3 Sammary Note for Drawing and Design Form 4 Sammary Note for Drawing and Design Form Four Sammary Note for Drawing and Design Form One Sammary Note for Drawing and Design Form Three Sammary Note for Drawing and Design Form Two Www.last Year KCSE Exams.com